-
Z560Y高温高压电站闸阀申弘
详细信息| 询价留言Z560Y高温高压电站闸阀 产品说明
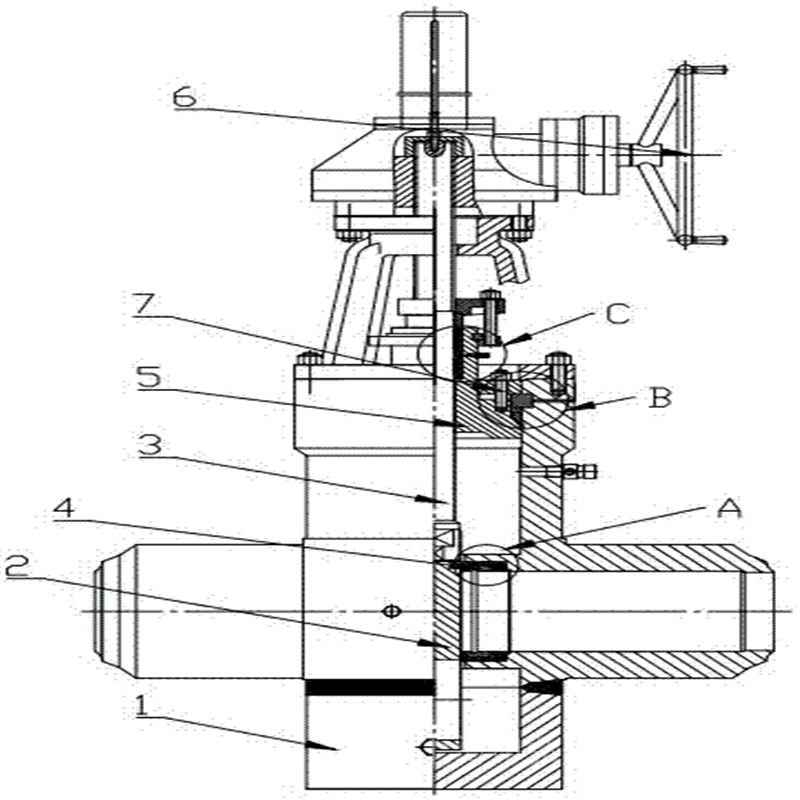
电站闸阀,介质温度-29~650℃,压力PN1.6~60MPa,公称通径15~500mm,广泛使用在电力、石油化工、冶金等工业管线上。由于高温高压工况的特殊性,一般会采用压力自密封结构。这种结构的核心技术包括设置在阀体与填料箱之间的密封圈、垫环和四合环等部件。当阀体内部存在压力时,介质推动填料箱上移,挤压密封圈,靠密封圈的弹塑性变形实现密封。压力越高,密封效果越好。所以密封圈是整个阀门的关键部件,它的性能好坏决定了整台阀门是否能正常使用。本实用新型涉及电站闸阀技术领域,具体为一种高温高压电站闸阀。

Z560Y高温高压电站闸阀背景技术:
″高温高压电站闸阀″也称电站专用阀门,主要适用于火力电站各种系统的管路上,切断或接通管路介质。适用介质:水、蒸气等非腐蚀性介质。电站阀门与其他阀门产品相比的特点是高温高压,独特的自密封设计,压力越高,密封越可靠。由于性能技术特性、工况的特殊使产品也形成了其他产品所替代不了的特点。本类阀门在管道中一般应当水平安装。

Z560Y高温高压电站闸阀技术工艺优势
1、壳体采用锻造及铸造两种工艺选项,外观光洁,组织均匀,满足高温高压要求;视用户需求可提供全系列全锻钢闸阀;
2、特殊材料配对,确保密封面高硬度及硬度差;精密研磨,光洁如镜,耐磨耐蚀,有效延长使用寿命;
3、背密封设计,有效保护密封填料,杜绝跑冒滴漏;
4、高压水强度,高压气体强度,无损检测等多道检测,全面控制承压件质量;
5、阀杆表面经精密磨削及硬化处理,抗擦伤耐腐蚀,有效地减轻启闭力矩,操作更轻松;
6、采用特殊缓蚀填料结构设计,耐温耐压,无腐蚀,自动润滑,减轻启闭摩擦,避免对阀杆表面的腐蚀,进而免除外漏;
7、双向承压密封设计,满足各类特殊工况的苛刻要求;
8、严格手工配研,确保双侧密封面吻合度 90% 以上,实现气泡级出厂密封检测;
9、Z60 系列独特的闸板弹性槽设计,自动补偿加工误差,适应高温工况,避免咬死; Z62Y 系列为双闸板设计,闸板自动矫正加工误差,始终保持密封面 100% 吻合度,特别便于用户现场维修保养;
10、阀盖自紧密封设计,压力越高,密封越可靠;
一种高温高压电站闸阀大大方便了电站系统的管路的控制,但是目前阶段的一种高温高压电站闸阀存在诸多的不足之处,例如,无法准确判断出电站介质的温度和压力的变化,阀体的密封性得不到保证,且在阀体内容易出现污垢堆积。

Z560Y高温高压电站闸阀技术实现要素:
本实用新型要解决的技术问题是克服现有技术的缺陷,提供一种高温高压电站闸阀。为了解决上述技术问题,本实用新型提供了如下的技术方案:一种高温高压电站闸阀,包括阀体,所述阀体的两端安装有输送口,所述阀体的上方安装有密封盖,所述密封盖的上方安装有固定架,所述固定架的上方安装有连接法兰,所述连接法兰的上方安装有紧固套,所述紧固套的上方安装有保护壳,所述保护壳的一侧安装有控制面板,所述保护壳的上方安装有磨盘,所述磨盘的中间位置处安装有转动连接杆,且转动连接杆穿过保护壳、紧固套、连接法兰、防滑套和密封盖的中间位置与阀门塞的顶端连接,所述阀体内安装有阀门塞,所述阀体的内侧壁设置有滑轨,所述阀门塞的底部安装有嵌入轴,且嵌入轴与阀体的内侧壁转动连接,所述阀门塞的中间位置处设置有管套,所述管套上安装有压力传感器和温度传感器,所述压力传感器和温度传感器输出端均与控制面板输入端电性连接。

优选的,所述阀门塞的平面面积与阀体内圆面积完全形同。
优选的,所述阀门塞与阀体通过滑轨进行镶嵌式无缝连接。
优选的,所述转动连接杆为中空管,内部安装有电缆线,将压力传感器和温度传感器与控制面板连接。
优选的,所述滑轨为外凸形状,且与阀门塞的两侧的凹槽滑动连接。
本实用新型所达到的有益效果是:该装置的阀体内侧壁安装有凸形滑轨,配合凸形滑轨安装了阀门塞,通过阀门塞在凸形滑轨上的滑动,对阀门塞的位置进行调节,从而使其将阀体进行封闭,且此滑轨在温度升高时会发生膨胀,使密封效果大大增大,且在阀门塞的中间位置处安装有管套,在管套上安装有温度传感器和压力传感器,并将检测信号传输至控制面板上,通过此种设计可以对阀体内的温度和压力准确检测。

Z560Y高温高压电站闸阀主要零件材料及使用范围
产品型号 Z560Y-200/250/320 Z560Y-P 55100/140/ 170V 阀 体 20/WCB 12Cr1MoV/WC6/WC9 阀 盖 20/WCB 12Cr1MoV/WC6/WC9 阀 杆 38CrMoAlA 38CrMoAlA /25Cr2MoV 闸 板 20/WCB 12Cr1MoV/WC6/WC9 螺 栓 35CrMoA 25Cr2MoV 适 用 介 质 水,汽,油品等 水,汽,油品等 *高工作温度 450/ 425 ℃ 552/ 570 ℃ 公称通径 连 接 尺 寸 外 形 尺 寸 重 量
( Kg )
D D1 D2 α 配管尺寸 * L W H 型 号 Z60Y-200 Z62Y-200 Z60Y-P 55 100V Z62Y-P 55 100V 50 模锻 80 60 32.5 76x8 260 400 586 80 模锻 168 108 80 32 108x14 457 450 549 100 模锻 170 133 101 32 133x16 457 450 550 100 自由锻 170 133 101 32 133X16 457 450 745 125 自由锻 195 168 128 32 168x22 457 450 745 150 225 198 154 32 194x15 700 600 821 175 240 220 183 32 219x16 750 700 890 225A 300 278 233 32 273X20 900 700 990 225D 自由锻 300 278 217 32 273X28 750 700 990 250 345 331 275 12 325X25 914 1515 * 实际配管尺寸可依合同要求加工 ;DN150 以上可选配齿轮驱动机构

*后应说明的是:以上所述仅为本实用新型的优选实施例而已,并不用于限制本实用新型,尽管参照前述实施例对本实用新型进行了详细的说明,对于本领域的技术人员来说,其依然可以对前述各实施例所记载的技术方案进行修改,或者对其中部分技术特征进行等同替换。凡在本实用新型的精神和原则之内,所作的任何修改、等同替换、改进等,均应包含在本实用新型的保护范围之内。

Z560Y高温高压电站闸阀在安装中有何要求
1)、安装位置、高度、进出口方向必须符合设计要求,连接应牢固紧密。
2)、安装在保温管道上的各类手动阀门,手柄均不得向下。
3)、阀门安装前必须进行外观检查,阀门的铭牌应符合现行GB标准《通用阀门标志》GB 12220的规定。对于工作压力大于1.0 MPa 及在主干管上起到切断作用的阀门,安装前应进行强度和严密性能试验,合格后方准使用。强度试验时,试验压力为公称压力的1.5倍,持续时间不少于5min,阀门壳体、填料应无渗漏为合格。严密性试验时,试验压力为公称压力的1.1倍;试验压力在试验持续的时间应符合GB 50243标准要求,以阀瓣密封面无渗漏为合格。
4)、手轮、手柄及传动机构均不允许作起吊用,严禁碰撞。
订货须知:
一、①产品名称与型号②口径③是否带附件以便我们的为您正确选型④的使用压力⑤的使用介质的温度。
二、若已经由设计单位选定公司的型号,请按型号直接向我司销售部订购。三、当使用的场合非常重要或环境比较复杂时,请您尽量提供设计图纸和详细参数,由我们的阀门公司专家为您审核把关。如有疑问:请:我们一定会尽心尽力为您提供优质的服务。提供全面、*的“阀门系统解决方案",也十分愿意帮助用户解决生产中所遇到的难题。
-
联系方式
- 联系人:申弘阀门
- 电 话:021-59260058
- 手 机:15901754341
- 传 真:86-021-31662735
- 邮 箱:494522509@qq.com
- 邮 编:201718
- 地 址:上海市青浦区金泽工业园区
- 网 址: https://bengye.cn.goepe.com/
http://www.021-fm.com
-
产品搜索






