-
Z561Y伞齿轮承插焊闸阀申弘
详细信息| 询价留言Z561Y伞齿轮承插焊闸阀 产品说明
本实用新型涉及阀门领域,更具体地说,本实用新型涉及一种伞齿轮闸阀。为实现上述目的,本实用新型提供如下技术方案:一种伞齿轮闸阀,包括阀体,所述阀体的表面一侧设置有进水口,所述阀体的表面另一侧设置有出水口,所述阀体的内壁顶部设置有固定杆,所述固定杆的外侧设置有阀塞,所述阀塞的表面一侧有*伞齿轮,所述*伞齿轮的一侧设置有第二伞齿轮;

Z561Y伞齿轮承插焊闸阀背景技术:
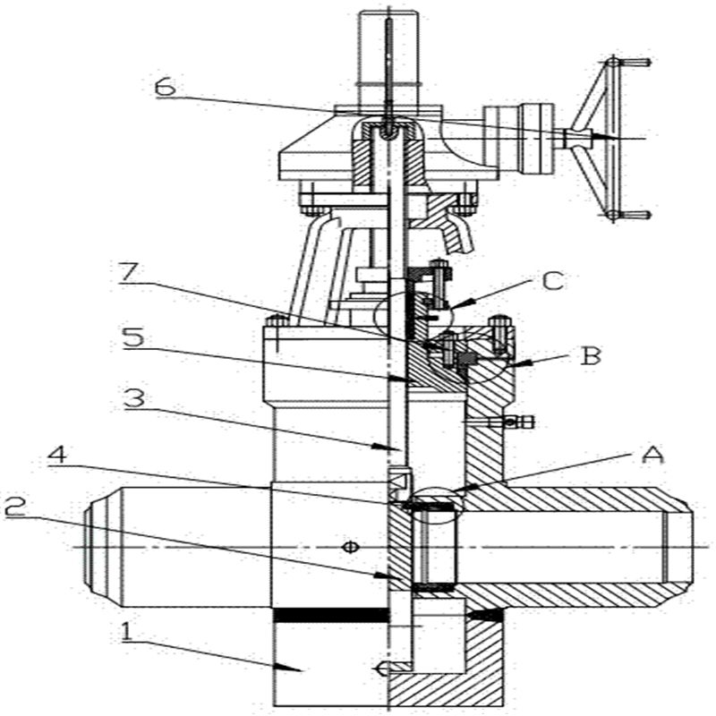
闸阀又称闸板阀或闸门阀,应用*广泛的一种阀门。它是通过闸板的升降来控制阀门的启闭,闸板垂直于流体方向,改变闸板与阀座间相对位置即可改变通道大小。包括阀体、阀座、阀盖、*伞齿轮、第二伞齿轮和阀塞,所述阀体的外侧中间固定设置有阀座,所述阀座的内侧与阀体内侧的阀通道连通,所述阀座一侧端中间转动设置有转轴,所述转轴在阀座内侧端的端部固定设置有*伞齿轮,所述阀座的另一侧与转轴相垂直的一侧转动设置有第二伞齿轮,所述*伞齿轮的底端靠近阀体内部阀通道的位置固定设置有阀塞,所述阀通道的内侧靠近阀塞的位置固定设置有阀芯,所述阀芯设置有两个且在其中间开设有用于连通的阀通道的连通孔,在阀体的外侧固定设置有与阀瓣相配套使用的阀腔,从而使得闸阀内侧的流速能在阀芯与阀瓣的相互作用进行调节,便于使用。
但是其在实际使用时,仍旧存在较多缺点,如虽然使得闸阀内侧的流速能在阀芯与阀瓣的相互作用进行调节,便于使用,但是由于伞齿轮的使用,会使得阀门的整个稳定性不高,不便于使用。

Z561Y伞齿轮承插焊闸阀具有以下优点:
1、流体阻力小 , 密封面受介质的忡刷和侵蚀小。
2、开闭较省力。
3、介质流向不受限制 , 不扰流、不降低压力。
4、形体简单 , 结构长度短,制造工艺性好,适用范围广。
伞齿轮闸阀安装须知:
1. 阀门安装时必须垂直安装在水平管道上,介质可以从任何一侧进入。管道冲洗干净后,可案卷阀门。
优点:
(1) 流体阻力小 因为闸阀阀体内部介质通道是直通的,介质流经闸阀时不改变其流动方向,所以流体阻力小。
(2) 启闭力矩小,开闭较省力 因为闸阀启闭时闸板运动方向与介质流动方向相垂直、与截止阀相比,闸阀的启闭较省力。
(3)介质流动方向不受限制,不扰流、不降低压力介质可从闸阀两侧任意方向流过、均能达到使用的目的.更适用于介质的流动方向可能改变的管路中。
(4) 结构长度较短 因为闸阀的闸板是垂直置于阀体内的,而截止阀阀瓣是水平置于阀体内的,因而结构长度比截止阀短。
(5) 密封性能好 全开时密封面受冲蚀较小。
(6) 全开时,密封面受工作介质的冲蚀比截止阀小。
Z561Y伞齿轮承插焊闸阀性能范围 Specifications
型 号
Type公称压力
Nominal
pressure试验压力Test pressure 工作温度(℃)
Working
Temperature适用介质
Suitable
Medium强度(水)Mpa 密封(水)空气(Mpa) 低压密封(空气)Mpa Z561W-64P(R) 6.4 9.6 7.0 0.6 ≤200 ACETIC ACID 醋 酸 类 aterial for main parts
零件名称
Part name材 料Material Z561Y-16i/25i/40i Z561W-16P/25P/40P Z561W-16R/25P/40R 阀体、阀盖
Body donnet铬 镍 钢
Ci Ni STEEL铬镍钛钢
Ci Ni Ti铬镍钼钛钢
Ci Ni Mo Ti Steel阀 板
Wedge gate合金钢+硬质合金 阀 杆
Stem合 金 钢
ALLoy steel阀杆螺母
Stem铝铁青铜 Al bronze 手 轮
Hand wheel灰铸铁、可铸锻铁 Castirom forageable casriron 执行标准 Administer Standard
设计与制造
Design and Manufacture结构长度
Face To Face法兰尺寸
Flange Dimension压力-温度
Pressure Temperature Lating试验-检验
spection And TestGB122234 GB12221 GB9113 JB79 GB9131 GB/T13927 JB/T9092 Z561Y伞齿轮承插焊闸阀压力试验 Pressure Test
公称压力
NominalPressure1.6 2.5 4.0 6.4 10.0 16.0 强度试验
Shell Test2.4 3.8 6.0 9.6 15.0 24.0 水密封试验
Water Seal Test1.8 2.8 4.4 7.0 11.0 18.0 上密封试验
Backseat Test1.8 2.8 4.4 7.0 11.0 18.0 气密封试验
Air Seal Test0.4-0.7 公称通径 DN(mm)
PN16,25
PN40
PN64,100
D
L
H
Do
D
L
H
Do
D
L
H
Do
50
76
250
355
240
79
250
370
280
79
250
371
280
65
89
265
378
240
90
280
398
280
90
280
293
280
80
110
280
430
280
110
310
456
320
110
310
456
320
100
129
300
500
320
135
350
552
360
138
350
552
360
125
153
325
580
360
164
400
628
400
168
400
628
400
150
189
350
650
360
190
450
709
400
195
450
709
400
200
245
400
736
400
248
550
838
400
260
550
858
450
250
285
450
818
400
290
650
957
450
313
650
1015
560
300
350
500
1080
450
350
750
1118
500
364
750
1330
600
350
410
550
1197
500
410
850
1567
500
422
850
1589
600
400
460
600
1332
600
460
950
1778
500
474
950
1778
600
500
570
700
1500
570
1150
2050
500
576
1150
2050
600
为了克服现有技术的上述缺陷,本实用新型的实施例提供一种伞齿轮闸阀,通过设置*伞齿轮与密封板,通过连接杆以及固定杆可以把*伞齿轮与第二伞齿轮稳定性提高,便于长久使用,之后转动*伞齿轮,可以让阀塞向下运动,并对堵板进行挤压,可以防止运动过度,通过对堵板的向下运动可以让密封板向上运动,从而可以减少对液体对阀塞的冲击,再次将稳定性提高,以解决上述背景技术中提出的问题。

Z561Y伞齿轮承插焊闸阀安装维护(1)承插焊的承插口和对焊的坡口加工要正确,应符合有关标准规定。
(2)焊接时要防止铁屑、焊豆侵入配管内,应采用钨极隋性气体保护焊。
(3)焊接时,阀门应处于稍微开启的状态下进行。
(4)应根据阀门及配管材料正确选用焊接材料。使用包剂电焊条时,要检查焊条保管情况,并确认是否采取了适合包剂电焊条品种的干燥处理。
(5)从事电焊操作的人员应符合电焊技工条件。
(6)焊接后要求热处理场合,要检查热处理的时间温度曲线记录。
(7)焊接部位要进行目视检查或非破坏检查,以确认无裂纹、焊瘤、咬边等有害缺陷。

订货须知:
一、①产品名称与型号②口径③是否带附件以便我们的为您正确选型④的使用压力⑤的使用介质的温度。
二、若已经由设计单位选定公司的型号,请按型号直接向我司销售部订购。三、当使用的场合非常重要或环境比较复杂时,请您尽量提供设计图纸和详细参数,由我们的阀门公司专家为您审核把关。如有疑问:请:我们一定会尽心尽力为您提供优质的服务。提供全面、*的“阀门系统解决方案",也十分愿意帮助用户解决生产中所遇到的难题。
-
联系方式
- 联系人:申弘阀门
- 电 话:021-59260058
- 手 机:15901754341
- 传 真:86-021-31662735
- 邮 箱:494522509@qq.com
- 邮 编:201718
- 地 址:上海市青浦区金泽工业园区
- 网 址: https://bengye.cn.goepe.com/
http://www.021-fm.com
-
产品搜索








