-
JIS日标法兰闸阀申弘
详细信息| 询价留言JIS日标法兰闸阀 产品说明
日标闸阀,JIS日标法兰闸阀适用于JIS10~20K,工作温度-29~425℃(碳钢)及-40~500℃(不锈钢)的名种管路上,用于截断或接通管路中的介质。闸阀是指关闭件沿通路中心线的垂直方向移动的阀门。闸阀在管路中只能作全开和全关切断用, 不能作调节和节流。闸阀是使用范围很广的一种阀门,一般口径DN≥50mm的切断装置都选用它,有时口径很小的切断装置也选用闸阀,

闸板有两个密封面 , zui常用的模式闸板阀的两个密封面形成楔形、楔形角随阀门参数而异 , 通常为 50, 介质温度不高时为 2°52' 。楔式闸阀的闸板可以做成一个整体,叫做刚性闸板;也可以做成能产生微量变形的闸板 , 以改善其工艺性 , 弥补密封面角度在加工过程中产生的偏差 , 这种闸板叫做弹性闸板。
闸阀关闭时, 密封面可以只依靠介质压力来密封 , 即依靠介质压力将闸板的密封面压向另一侧的阀座来保证密封面的密封,这就是自密封。大部分闸阀是采用强制密封的 , 即阀门关闭时,要依靠外力强行将闸板压向阀座 , 以保证密封面的密封性。
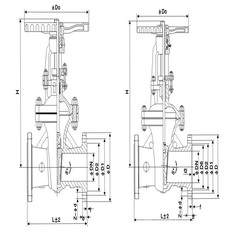
闸阀的闸板随阀杆一起作直线运动的,叫升降杆闸阀。通常在升降杆上有梯形螺纹,通过阀门顶端的螺母以及阀体上的导槽,将旋转运动变为直线运动 , 也就是将操作转矩变为操作推力。
开启阀门时,当闸板提升高度等于阀门通径的1:1倍时,流体的通道完全畅通,但在运行时,此位置是无法监视的。实际使用时,是以阀杆的顶点作为标志,即开不动的位置,作为它的全开位置。为考虑温度变化出现锁死现象, 通常在开到顶点位置上 , 再倒回 1/2-1圈 , 作为全开阀门的位置。因此 , 阀门的全开位置,按闸板的位置来确定。
通过选用不同的材质,可适用于水、蒸汽、油品、酸类、醋酸、强氧化性介质及尿素等多种介质。 驱动方式 手动、伞齿轮传动及电动。

①产品设计制造符合国外先进标准要求,密封可靠,性能优良。
②结构设计紧凑合理,造型美观。
③采用楔式弹性闸板结构,中大口径设置滚动轴承,启闭轻松。
④阀体材料品种齐全,填料、垫片根据实际工况或用户要求合理选配,可适用于各种压力、温度及介质工况。
⑤采用国内外多种配管法兰标准及法兰密封面型式,满足各种工程需要及用户要求。

JIS日标法兰闸阀标注规范
设计与制造
结构长度
法兰尺寸
压力-温度
试验-检验
JIS B2073 B2083
JIS B2002
JIS B2212 B2214
JIS B2073 B2083
JIS B2003
JIS日标法兰闸阀-主要零件材料】
主
要
零
件
材
料阀体、阀盖、闸板
WCB
ZG1Cr18Ni9Ti
CF8
(304)CF3
(304L)ZG1Cr18Ni12Mo2Ti
CF8M
(316)密封面
Cr13
或硬质合金本体(W)或硬质合金(Y)
阀杆及内件
2Cr13
1Cr18Ni9Ti
0Cr19Ni9
(304)00Cr19Ni11
(304L)1Cr18Ni12Mo2Ti
0Cr17Ni12Mo2
(316)填 料
柔性石墨
垫 片
不锈钢缠绕垫片
适用
工况适用介质
水、蒸汽、
油品等硝酸等腐蚀性介质
强氧化性
介质醋酸等腐蚀性介质
适用温度
-29~425 ℃
-40~500 ℃
10K
DN mm
in
L
D
D1
D2
b
n-φd
H
D0
W(kg)
50
2
178
155
120
100
16
4-19
409
200
24
65
21/2
190
175
140
120
18
4-19
535
250
31
80
3
203
185
150
130
18
8-19
570
250
40
100
4
229
210
175
155
18
8-19
590
250
55
150
6
267
280
240
215
22
8-23
630
300
90
200
8
292
330
290
265
22
12-23
960
350
145
250
10
330
400
355
325
24
15-25
1158
400
230
300
12
356
450
400
370
24
16-25
1378
450
330
350
14
381
490
445
415
26
16-25
1543
500
460
400
16
406
560
510
475
28
16-27
1738
600
600
450
18
432
620
565
530
30
20-27
1959
600
980
500
20
457
675
620
585
30
20-27
2214
680
960
20K
50
2
216
155
120
100
18
8-19
480
200
32
65
21/2
241
175
140
120
20
8-19
510
250
39
80
3
283
200
160
135
22
8-23
580
280
55
100
4
305
225
185
160
24
8-23
700
350
80
150
6
403
305
260
230
28
12-25
940
400
160
200
8
419
350
305
275
30
12-25
1190
450
250
250
10
457
430
380
345
34
12-27
1390
500
370
300
12
502
480
430
395
35
16-27
1600
500
560
350
14
762
540
480
440
40
16-33
1750
600
870
400
16
838
605
540
495
46
16-33
1900
600
1150
450
18
914
675
605
560
48
20-33
2320
650
1270
日标闸阀是指按日本标准设计、制造、生产、检测的阀门。适用于10K~20K的管路上。闸阀的闸板随阀杆一起作直线运动的,叫升降杆闸阀(明杆闸阀)。通常在升降杆上有梯形螺纹,通过阀门顶端的螺母以及阀体上的导槽,将旋转运动变为直线运动。闸阀的阀杆螺母设在闸板上,手轮转动带动阀杆转动,而使闸板提升,这种阀门叫做旋转杆闸阀(暗杆闸阀)。
法兰闸阀是通过手轮转驱闸板沿通道轴线垂直方向移动切断或接通介质的阀门,具有流体阻力小,密封面受冲击侵蚀小,不改变介质流向,不扰流,压降小等特点,适用压力温度范围广,广泛适用于石油、化工、火力发电厂等油品,水蒸汽管路上接通或截断介质(闸阀不可做节流阀使用)。

JIS日标法兰闸阀安装与维护应注意以下事项:
手轮、手柄及传动机构均不允许作起吊用,并严禁碰撞。
双闸板闸阀应垂直安装(即阀杆处于垂直位置,手轮在顶部)。
带有旁通阀的闸阀在开启前应先打开旁通阀(以平衡进出口的压差及减小开启力)。
带传动机构的闸阀,按产品使用说明书的规定安装。
如果阀门经常开关使用,每月至少润滑一次。
订货须知:
一、①产品名称与型号②口径③是否带附件以便我们的为您正确选型④的使用压力⑤的使用介质的温度。
二、若已经由设计单位选定公司的型号,请按型号直接向我司销售部订购。三、当使用的场合非常重要或环境比较复杂时,请您尽量提供设计图纸和详细参数,由我们的阀门公司专家为您审核把关。如有疑问:请:我们一定会尽心尽力为您提供优质的服务。提供全面、*的“阀门系统解决方案",也十分愿意帮助用户解决生产中所遇到的难题。
-
联系方式
- 联系人:申弘阀门
- 电 话:021-59260058
- 手 机:15901754341
- 传 真:86-021-31662735
- 邮 箱:494522509@qq.com
- 邮 编:201718
- 地 址:上海市青浦区金泽工业园区
- 网 址: https://bengye.cn.goepe.com/
http://www.021-fm.com
-
产品搜索






