-
API美标法兰式闸阀申弘
详细信息| 询价留言API美标法兰式闸阀 产品说明
本实用新型涉及美标闸阀生产技术领域,尤其涉及一种美标闸阀生产用圆边角去毛刺装置。美标闸阀适用于ANSI Class150~900、PN2.0~16.0MPa、JIS10~20K,工作温度-29~425℃(碳钢)及-40~500℃(不锈钢)的名种管路上,用于截断或接通管路中的介质。通过选用不同的材质,可适用于水、蒸汽、油品、硝酸、醋酸、强氧化性介质及尿素等多种介质。有手动、伞齿轮传动及电动等。
美标闸阀在使用过程中具有流体阻力小,密封面受介质的冲刷和侵蚀性小等特点,按密封面配置可分为楔式闸板式闸阀和平行闸板式闸阀,介质流向不受限制,不扰流,且形体简单,结构长度短,制造工艺性好,适用范围广。

目前,美标闸阀在生产过程中需要将其圆边角的毛刺去掉,但是现有的去毛刺装置仍存在一定的不足之处,在去毛刺过程中容易产生高温进而影响去毛刺效果,且去毛刺过后的屑渣会残留在打磨盘的凹槽内容易对下次去毛刺产生影响,因此,亟需设计一种美标闸阀生产用圆边角去毛刺装置来解决上述问题。

API美标法兰式闸阀 结构与特点
①产品设计制造符合国外先进标准要求,密封可靠,性能优良。
②结构设计紧凑合理,造型美观。
③采用楔式弹性闸板结构,中大口径设置滚动轴承,启闭轻松。
④阀体材料品种齐全,填料、垫片根据实际工况或用户要求合理选配,可适用于各种压力、温度及介质工况。
⑤采用国内外多种配管法兰标准及法兰密封面型式,满足各种工程需要及用户要求。

三、API美标法兰式闸阀 应用范围
设计与制造 结构长度 法兰尺寸 对焊连接尺寸 压力-温度 试验-检验 API 600 ANSI B16.10 ANSI B16.5 ANSI B16.25 ANSI B16.34 API 598 API 6D API 6D ANSI B16.5 ANSI B16.25 ANSI B16.34 API 6D 四、API美标法兰式闸阀压力试验
公称压力PN(Lb) 强度试验 水密封试验 气密封试验 MPa Lbf/in2 MPa Lbf/in2 MPa Lbf/in2 150 3.0 430 2.2 315 0.4-0.7 60-100 300 7.7 1110 5.7 815 600 15.3 2220 11.3 630 900 23.0 3330 17 2445 五、API美标法兰式闸阀 主要零件材料及性能
体盖瓣 阀杆 密封面 垫片(环) 填料 工作温度℃ 适用介质 WCB 2Cr13 13Cr
STL
木体材料
With Body
Material
尼龙
Nylon增强柔性石墨 13Cr/柔性石墨
SFB-2
08软钢
F304
F316
F304L
F316L柔性石墨 增强柔性石墨 ≤425 水 蒸汽 油品 WC1 38CrMoAl 25Cr2MoV ≤425 WC6 ≤540 WC9 ≤570 C5 C12 ≤540 CF8 F304 ≤200 硝酸
醋酸
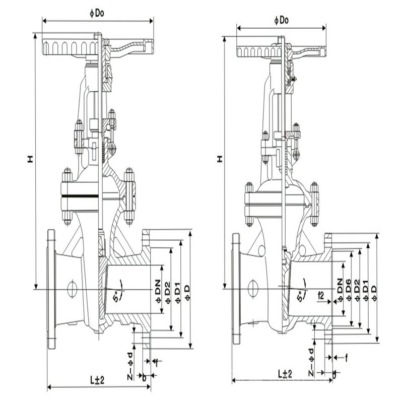
尿素CF8M F316 CF3 F304L CF3M F316L 150Lb主要尺寸和重量
DN 150Lb凸面法兰(RF) 主要尺寸(mm) 重量(kg) mm in L D D1 D2 b n-φd H D0 15 1/2 108 89 60.5 35 11.2 4-16 169 100 5 20 3/4 117 98 69.9 43 12.7 4-16 192 100 6.1 25 1 127 108 79.2 51 14.2 4-16 230 120 9 32 11/4 140 117 89 63 16 4-16 246 120 12 40 11/2 165 127 98.6 73 17.5 4-16 283 150 17 50 2 178 152 120.7 92 19.0 4-19 323 150 23 65 21/2 190.5 178 139.7 105 22.4 4-19 347 180 45 80 3 230 190 152.4 127 24 4-19 383 200 50 100 4 229 229 190.5 157 24 8-19 457 200 63 125 5 254 254 216 186 24 8-22.5 632 250 89 150 6 267 279 241.5 216 25.4 8-22.5 635 250 108 200 8 292 343 298.5 270 28.4 8-22.5 762 280 171 250 10 330 406 362 324 30.2 12-25.4 892 300 263 300 12 356 483 431.8 381 32 12-25.4 1080 350 346 350 14 381 533 476.3 413 35 12-29 1295 350 488 400 16 406 597 539.8 470 36.6 16-29 1435 400 621 450 18 432 635 577.9 533 39.6 16-32 1626 400 814 500 20 457 398 635 584 43 20-32 1829 450 992 600 24 508 813 749.3 692 48.8 20-35 2175 500 1492 650 26 559 786 744.5 711 51.3 36-22.5 2235 550 1801 700 28 610 837 795.3 762 44.5 40-22.5 2310 600 1933 750 30 610 887 846 813 44.5 44-22.5 2695 600 2272 800 32 660 941 900 864 46 48-22.5 3708 -- -- 900 36 711 1057 1009.7 927 52.3 40-25.4 3924 -- -- 1000 40 812 1175 1120.6 1080 55.6 44-25.4 4318 -- -- DN 300Lb凸面法兰(RF) 主要尺寸D 重量(kg) mm in L D D1 D2 b n-φd H D0 15 1/2 140 95 66.5 35 14.2 4-16 169 120 5.2 20 3/4 152 117 82.5 43 16 4-19 193 150 6.3 25 1 165 123 89 51 17.5 4-19 230 150 8.6 32 11/4 178 133 98.5 63 19 4-19 246 160 14.3 40 11/2 190 155 114.3 76 20.6 4-22.5 283 180 15.6 50 2 216 165 127 92 22.4 8-19 330 200 30 65 21/2 241 190 149.4 105 25.4 8-22.5 368 240 44 80 3 283 210 168.1 127 28.4 8-22.5 394 280 61 100 4 305 254 200.2 157 31.8 8-22.5 473 300 77 125 5 381 279 235 186 35 8-22.5 660 350 125 150 6 403 318 269.7 216 36.6 12-25.5 711 400 153 200 8 419 381 330.2 270 41.2 12-25.4 813 400 286 250 10 457 444 387.5 324 47.8 16-28.4 1003 450 412 300 12 502 521 450.8 381 50.8 16-32 1137 500 576 350 14 762 584 514.4 413 54 20-32 1489 600 886 400 16 838 648 571.5 470 57.2 20-35 1580 650 1175 450 18 914 711 628.7 533 60.4 24-35 1017 700 1301 500 20 991 775 685.8 584 63.5 24-35 2228 700 1672 600 24 1143 914 812.8 692 70 24-41 2650 750 2556 650 26 1245 867 803.1 736.6 90.0 32-35 3219 -- -- 700 28 1346 921 857.3 787.4 90.0 36-35 3378 -- -- 750 30 1397 991 902.8 844.6 93.7 36-38 3530 -- -- 600Lb主要尺寸和重量
DN 600Lb凸面法兰(RF) 主要尺寸Dimensions(mm) 重量(kg)
Weightmm in L D D1 D2 b n-φd H D0 15 1/2 165 95 66.5 35 14.5 4-16 169 160 5.9 20 3/4 190 117 82.5 43 16 4-19 193 180 7.5 25 1 216 124 89 51 17.5 4-19 230 200 10.2 32 11/4 229 133 98.5 63 21 4-19 246 200 16.7 40 11/2 241 156 114.3 73 22.5 4-22 283 240 17.4 50 2 292 165 127 92 33 8-19 425 280 44 65 21/2 330 190 149.4 105 36 8-22 485 320 55 80 3 356 210 168.1 127 39 8-22 510 350 80 100 4 432 273 216 157 45 8-25 610 400 145 125 5 508 330 266 186 52 8-29 700 450 187 150 6 559 356 292.1 216 55 12-29 820 500 241 200 8 660 419 349.3 270 63 12-32 920 600 309 250 10 787 508 432 324 71 16-35 1080 650 522 300 12 838 559 489 381 74 20-35 1220 650 779 350 14 889 603 527 413 77 20-38 1473 700 1108 400 16 991 686 603 470 84 20-41 1651 800 1503 450 18 1092 743 654 533 90 20-45 1727 800 1939 500 20 1194 813 724 584 96 24-45 2019 800 2733 600 24 1397 940 838 692 109 24-51 2155 -- 4177 本实用新型的目的是为了解决现有技术中存在的缺点,而提出的一种美标闸阀生产用圆边角去毛刺装置。以上所述,仅为本实用新型较佳的具体实施方式,但本实用新型的保护范围并不局限于此,任何熟悉本技术领域的技术人员在本实用新型揭露的技术范围内,根据本实用新型的技术方案及其实用新型构思加以等同替换或改变,都应涵盖在本实用新型的保护范围之内。

API美标法兰式闸阀维修,
1、所有阀门开箱后应进行外观检查,包括阀体上铭牌齐全,产品质量证明文件、阀门处于关闭状态,无法兰面等其他损伤、无赃污、两端有防护盖等。
2、操作人员应对试压台操作熟悉。
3、阀门试压JHA完善,操作人员对阀门试压、倒运等过程的安全隐患应熟悉并有相应的预防措施。
4、阀门试压流程为:阀门壳体强度试验,上密封实验,密封试验。
(1)阀门壳体强度试验介质采用水,压力为阀门公称压力的1.5倍,保压时间5min,无滴漏或潮湿为合格。
(2)阀门上密封试验介质采用水,压力为公称压力的1.5倍,保压时间DN≤50为15s,65≤DN≤300为60s,DN≧350为120s,无渗漏为合格。
(3)阀门密封试验进行低压密封试验,试验介质采用空气(闸阀),压力为0.6MPa,保压时间DN≤50为15s,65≤DN≤150为60s,DN≧200为120s,渗透量符合要求为合格。
(4)试压合格后应及时用压缩空气将阀腔内水吹干。
(5)试压合格的阀门在阀体上做上标识√,不合格的阀门做上标识×。
(6)试压后阀门应按照装置按型号规格分开堆放,不合格品单独堆放;每个堆放区都应竖立明显的标示牌。试压后阀门应盖回封盖,在堆放区用彩条布进行覆盖保护。
(7)阀门试压后应及时按装置填写《阀门/管件试验记录》,其型号栏填写阀门阀体上的采购合同编号。
(8)试验合格的阀门发放需填写阀门《阀门发放记录》,发放和接收双方签字。
订货须知:
一、①产品名称与型号②口径③是否带附件以便我们的为您正确选型④的使用压力⑤的使用介质的温度。
二、若已经由设计单位选定公司的型号,请按型号直接向我司销售部订购。三、当使用的场合非常重要或环境比较复杂时,请您尽量提供设计图纸和详细参数,由我们的阀门公司专家为您审核把关。如有疑问:请:我们一定会尽心尽力为您提供优质的服务。提供全面、*的“阀门系统解决方案",也十分愿意帮助用户解决生产中所遇到的难题。
-
联系方式
- 联系人:申弘阀门
- 电 话:021-59260058
- 手 机:15901754341
- 传 真:86-021-31662735
- 邮 箱:494522509@qq.com
- 邮 编:201718
- 地 址:上海市青浦区金泽工业园区
- 网 址: https://bengye.cn.goepe.com/
http://www.021-fm.com
-
产品搜索








