-
Z941H电动大口径明杆闸阀申弘
详细信息| 询价留言Z941H电动大口径明杆闸阀 产品说明
本发明涉及一种闸阀,特别是一种大口径闸阀。本实用新型公开了一种新型明杆闸阀,包括阀体,支架的上圆周面安装有电装机构;电动转接盘的下表面圆心和支架垂直连接,电动转接盘的内壁套有轴承压盖和电动螺母,在轴承压盖和电动螺母之间套有推力轴承,轴承压盖之间密封连接有油杯;闸板的上端面卡合有阀杆,阀杆穿过阀盖、填料压盖、支架、电动转接盘延伸至电动螺母内。

本新型明杆闸阀,电动转接盘与支架和螺栓连接的设计,解决了原有大口径明杆闸阀整体支架高度过高,电动转接盘不易加工,精度低等缺点,同时更加方便施工现场的拆卸和维修;阀杆底部的闸板发生同频率的转动,达到控制流量的作用,填料起到密封的效果,避免流体从阀体和阀盖之间的流出。通常由电动执行机构和闸阀连接起来,经过安装调试后成为电动阀。电动阀(电动高压闸阀)使用电能作为动力来接通电动执行机构驱动阀门,实现阀门的开关、调节动作。从而达到对管道介质的开关或是调节目的。

Z941H电动大口径明杆闸阀主要特点及用途:
1、结构紧凑.设计合理,阀门刚性好,通道流畅,流阻系数小;
2、密封面采用不锈钢和硬质合金,使用寿命长;
3、采用柔性石墨填料.密封可靠.操作轻便灵活;
4、驱动形式:分手动,电动,齿轮传动;
5、结构形式:弹性楔式单闸板,刚性楔式单闸板和双闸板型式;
6、广泛用于石油化工,火力发电厂等油品,水蒸汽管路上作接通或截断管路中介质的启闭装置。
通过闸板上开设的通孔,冲击铰接在闸板上的阀瓣开启,使 得部分流体流出阀体,从而大大降低了阀前水锤对阀门和管路的影响;待泵停止运转后,阀 后管路下游的流体压力大于阀前泵出口处的压力,致使流体回流在阀后产生反向水锤,在 回流流体的压力作用下使得阀瓣返回到设置在通孔周边台阶上的小阀座上实现密封,彻底 切断了回流流体流向阀前的通道,避免了阀前设备和泵因回流流体的冲击而导致损坏。因 此,本发明的大口径闸阀具有防正、反向水锤功能,在紧急切断流体的同时,能够有效的保 护阀门、管路和泵等设备免遭损坏;且其管路结构简单。
使部分流体流出阀体。待泵停止运转后, 阀后管路下游的流体压力大于阀前泵出口处的压力,致使流体回流在阀后产生反向水锤, 在回流流体的压力作用下使得阀瓣返回到设置在通孔周边台阶上的小阀座上实现密封。待 管路系统故障排除后,阀杆在驱动装置的驱动下带动闸板重新开启至全启位置。电动闸阀简单地说就是用电动执行器控制阀门,从而实现阀门的开和关。其可分为上下两部分,上半部分为电动执行器,下半部分为阀门。以电动装置的不同,分为普通开关型,防爆型和整体型,整体型又分为整体调节型,整体防爆型和整体防爆调节型。

Z941H电动大口径明杆闸阀执行机构
执行器型号 DZW系列、DKJ系列、Q系列 主要技术参数 电源电压:380V/50Hz、220V/50Hz、输入信号:4-20mA或1-5V·DC、输出信号:4-20mA·DC 防护等级:IP55(可定制IP67)、隔爆标志:ExdⅡBT4、手操功能:手轮 环境温度:-20~+60℃、环境湿度:≤90% ■ 主要零件材料
1 阀体 HT200、WCB、CF8、CF3、CF8M、CF3M 2 阀板 WCB、CF8、CF3、CF8M、CF3M 3 阀杆 2Cr13、304、316、316L 4 垫片 聚四氟乙烯、金属石墨垫片 5 阀盖 HT200、WCB、CF8、CF3、CF8M、CF3M 6 填料 柔性石墨、V型聚四氟乙烯填料 7 压盖 HT200、WCB、CF8、CF3、CF8M、CF3M 8 支架 HT200、WCB、CF8、CF3、CF8M、CF3M 9 电动执行器 壳体(HT200、WCB) 
■ 主要性能规范试验压力(MPa) 公称压力(MPa) 压力级(class) JIS(K) 1.6 2.5 4.0 6.4 10.0 16.0 150 300 600 10K 20K 30K 强度试验 2.4 3.75 6.0 9.6 15.0 24.0 3.0 7.5 16.5 2.4 3.8 5.7 密封试验 1.76 2.75 4.4 7.04 11.0 17.6 2.2 5.5 12.1 1.5 2.8 4.2 主要零件材料
主要
零件
材料阀体 WCA、WCB、WCC ZG1Cr5Mo、ZG20CrMoV ZG1Cr18Ni9Ti ZG1Cr18Ni12M2Ti 阀杆 1Cr13、2Cr13 25Cr2MoV、25Cr2Mo1V 1Cr18Ni9Ti 1Cr18Ni12M2Ti 密封面 堆507/507Mo 堆802/812 本体材料 填料、垫片 柔性石墨+不锈钢带(网) 适用
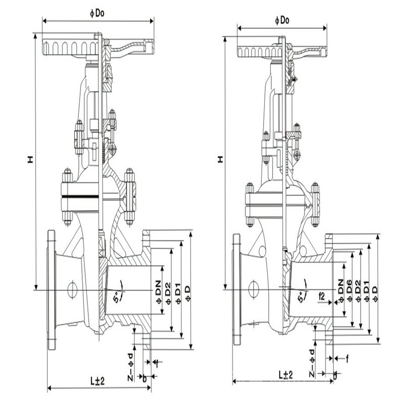
工况适用介质 水、蒸汽、油品 硝酸类 硝酸类 适用温度℃ ≤425 ≤570 ≤200 ≤200 正齿轮传动 在相应的手动型号的Z后插入“4”表示,示例:Z441H-40I 伞齿轮传动 在相应的手动型号的Z后插入“5”表示,示例:Z541H-40I 电动传动 在相应的手动型号的Z后插入“9”表示,示例:Z941H-40I Z941H电动大口径明杆闸阀外形尺寸

Test pressureNominal pressure Test pressure
Shell
Seat (water)
Seat (Air)
Back seat (water)
1.6
2.4
1.8
0.6
1.8
Main dimensions and weight (mm)
Nominal pressure 1.6MPa DN
L
D
D1
D2
b
f
Z-Φd
H
Weight
50(DZW10)
250
160
125
100
16
3
4-18
653
59
65(DZW10)
270
180
145
120
18
3
4-18
665
62
80(DZW10)
280
195
160
135
20
3
8-18
725
74
100(DZW10)
300
215
180
155
20
3
8-18
787
92
150(DZW30)
350
280
240
210
24
3
8-23
955
161
200(DZW30)
400
335
295
265
26
3
12-23
1105
219
250(DZW45)
450
405
355
320
30
3
12-25
1343
376
300(DZW60)
500
460
410
375
30
3
12-25
1516
484
350(DZW60)
550
520
470
435
34
4
16-25
1678
695
400(DZW90)
600
580
525
485
36
4
16-30
1849
977
450(DZW120)
650
640
585
545
40
4
20-30
1937
1033
500(DZW120)
700
705
650
608
44
4
20-34
2234
1087
600(DZW180)
800
840
770
718
48
5
20-41
2432
1357
700(DZW250)
900
910
840
788
50
5
24-41
2489
1481
800(DZW350)
1000
1020
950
898
52
5
24-41
2643
1845
Test pressure
Nominal pressure Test pressure
Shell
Seat (water)
Seat(Air)
Back seat (water)
2.5
3.8
2.8
0.6
2.8
Main dimensions and weight (mm)
Nominal pressure 2.5MPa DN
L
D
D1
D2
b
f
Z-Φd
H
Weight
50(DZW10)
250
160
125
100
20
3
4-18
653
64
65(DZW10)
270
180
145
120
22
3
8-18
665
65
80(DZW10)
280
195
160
135
22
3
8-18
725
79
100(DZW20)
300
230
190
160
24
3
8-23
787
98
125(DZW20)
325
270
220
188
28
3
8-25
902
154
150(DZW30)
350
300
250
218
30
3
8-25
955
168
200(DZW30)
400
360
310
278
34
4
12-25
1105
219
250(DZW45)
450
425
370
332
36
4
12-30
1343
390
300(DZW60)
500
485
430
390
40
4
16-30
1516
505
350(DZW90)
550
550
490
448
44
4
16-34
1678
736
400(DZW120)
600
610
550
505
48
4
16-34
1849
1027
450(DZW180)
650
660
600
555
50
4
20-34
1937
1139
500(DZW180)
700
730
660
610
52
4
20-41
2234
1228
600(DZW250)
800
840
770
718
56
5
20-41
2432
1502
700(DZW350)
900
955
875
815
60
5
20-41
2489
1617
800(DZW500)
1000
1070
990
930
64
5
24-48
2643
1923
Test pressure
Nominal pressure Test pressure
Shell
Seat (water)
Seat (Air)
Back seat (water)
4.0
6.0
4.4
0.6
4.4
Main dimensions and weight (mm)
Nominal pressure? 4.0MPa DN
L
D
D1
D2
D6
b
f 2
f
Z-Φd
H
Weight
50(DZW10)
250
160
125
100
88
20
4
3
4-18
665
58
65(DZW10)
280
180
145
120
110
22
4
3
8-18
680
68
80(DZW10)
310
195
160
135
121
22
4
3
8-18
752
80
100(DZW20)
350
230
190
160
150
24
4.5
3
8-23
846
108
150(DZW20)
450
300
250
218
204
30
4.5
3
8-25
1087
258
200(DZW30)
550
375
320
282
260
38
4.5
3
12-30
1243
366
250(DZW60)
650
445
385
345
313
42
4.5
3
12-34
1429
472
300(DZW90)
750
510
450
408
364
46
4.5
3
16-34
1608
673
350(DZW120)
850
570
510
465
422
52
5
4
16-34
1738
804
400(DZW180)
950
655
585
535
474
58
5
4
16-41
1897
1081
450(DZW250)
1050
680
610
560
524
60
5
4
20-41
2104
1259
500(DZW250)
1150
755
670
612
576
62
5
4
20-48
2401
1348
Test pressure
Nominal pressure Test pressure
Shell
Seat (water)
Seat (Air)
Back seat (water)
6.4
9.6
7.0
0.6
7.0
Main dimensions and weight (mm)
Nominal pressure 6.4MPa DN
L
D
D1
D2
D6
b
f 2
f
Z-Φd
H
Weight
50(DZW10)
250
175
135
105
88
26
4
3
4-23
667
68
65(DZW10)
280
200
160
130
110
28
4
3
8-23
685
72
80(DZW20)
310
210
170
140
121
30
4
3
8-23
748
88
100(DZW20)
350
250
200
168
150
32
4.5
3
8-25
845
117
150(DZW30)
450
340
280
240
204
38
4.5
3
8-34
1009
314
200(DZW60)
550
405
345
300
260
44
4.5
3
12-34
1253
432
250(DZW90)
650
470
400
352
313
48
4.5
3
12-41
1449
595
300(DZW120)
750
530
460
412
364
54
4.5
3
16-41
1867
721
350(DZW180)
850
595
525
475
422
60
5
4
16-41
1931
963
400(DZW250)
950
670
585
525
474
66
5
4
16-48
2017
1129
500(DZW500)
1150
800
705
640
576
70
5
4
20-54
2459
1493
Test pressure
Nominal pressure Test pressure
Shell
Seat (water)
Seat (Air)
Back seat (water)
10.0
15.0
11.0
0.6
7.0
Main dimensions and weight (mm)
Nominal pressure 10.0MPa DN
L
D
D1
D2
D6
b
f 2
f
Z-Φd
H
Weight
50(DZW10)
250
195
145
112
88
28
4
3
4-25
781
78
65(DZW20)
280
220
170
138
110
32
4
3
8-25
830
96
80(DZW20)
310
230
180
148
121
34
4
3
8-25
865
126
100(DZW30)
350
265
210
175
150
38
4
3
8-30
1179
134
150(DZW60)
450
350
290
250
204
46
4.5
3
12-34
1201
352
200(DZW90)
550
430
360
312
260
54
4.5
3
12-41
1611
484
250(DZW180)
650
500
430
382
313
60
4.5
3
12-41
1903
608
300(DZW180)
750
585
500
442
364
70
4.5
4
16-48
2054
757
350(DZW350)
850
655
560
498
422
76
5
4
16-54
2132
994
400(DZW500)
950
715
620
558
474
80
5
4
16-54
2321
1269
Test pressure
Nominal pressure Test pressure
Shell
Seat (water)
Seat (Air)
Back seat (water)
16.0
24.0
18.0
0.6
18.0
Main dimensions and weight (mm)
Nominal pressure 16.0MPa DN
L
D
D1
D2
D6
b
f 2
f
Z-Φd
H
Weight
50(DZW10)
300
215
165
132
88
36
4
3
8-25
905
101
65(DZW20)
340
245
190
152
110
44
4
3
8-30
968
137
80(DZW20)
390
260
205
168
121
46
4
3
8-30
978
167
100(DZW30)
450
300
240
200
150
48
4.5
3
8-34
1043
211
125(DZW60)
525
355
285
238
176
60
4.5
3
8-41
1248
424
150(DZW90)
600
390
318
270
204
66
4.5
3
12-41
1394
588
200(DZW120)
750
585
500
442
364
70
4.5
3
16-48
1621
839

一种大口径闸阀,包括阀体、阀盖、阀杆、阀座和闸板,阀盖与阀体固定连接,阀杆上端穿过阀盖与快速驱动装置连接,下端与阀体内的闸板连接,闸板的两个密封面与设置在阀体内的左、右两个阀座形成主密封副,1、装配用工具必须在装配前进行脱脂清洗,保证洁净;
2、装配工人必须身着洁净的纯棉工作服,头戴纯棉帽,头发不能外漏,脚穿干净鞋子,手戴塑胶手套,脱脂;
3、安装车间必须保证洁净,或者搭建临时的洁净区域,例如用新购的彩条布或者塑料薄膜等,防止在安装过程中有灰;
4、装配完成的阀门用氮气至少吹扫1分钟;
5、气密试验合格后进行包封,用干净聚乙烯帽密封,聚乙烯帽使用前应用有机。

订货须知:
一、①产品名称与型号②口径③是否带附件以便我们的为您正确选型④的使用压力⑤的使用介质的温度。
二、若已经由设计单位选定公司的型号,请按型号直接向我司销售部订购。三、当使用的场合非常重要或环境比较复杂时,请您尽量提供设计图纸和详细参数,由我们的阀门公司专家为您审核把关。如有疑问:请:我们一定会尽心尽力为您提供优质的服务。提供全面、*的“阀门系统解决方案",也十分愿意帮助用户解决生产中所遇到的难题。
-
联系方式
- 联系人:申弘阀门
- 电 话:021-59260058
- 手 机:15901754341
- 传 真:86-021-31662735
- 邮 箱:494522509@qq.com
- 邮 编:201718
- 地 址:上海市青浦区金泽工业园区
- 网 址: https://bengye.cn.goepe.com/
http://www.021-fm.com
-
产品搜索







