-
Z41H明杆式闸阀申弘
详细信息| 询价留言Z41H明杆式闸阀 产品说明
本实用新型涉及闸阀技术领域,具体为一种明杆闸阀。法兰闸阀的启闭件是闸板,闸板的运动方向与流体方向相垂直,楔形闸阀只能作全开和全关,不适合作调节和节流。闸阀一般通过阀杆随旋转手轮上下移动来完成阀门的启闭。有明杆楔形闸阀和暗杆楔形闸阀两种。明杆楔形闸阀是阀杆上下移动,阀杆螺母固定。暗杆闸阀是阀杆固定,阀杆螺母上下移动已完成启闭。法兰闸阀密封可靠,性能优良;通常情况下采用楔式弹性闸板结构,大口径闸阀设置滚动轴承,启闭轻松;闸阀的形体简单, 结构长度短,制造工艺性好,适用范围广。

Z41H明杆式闸阀背景技术:
明杆闸阀是一种常用阀门,启闭件是闸板,明杆闸阀是通过手轮带动螺母作圆周运动,阀杆带动闸板作直线运动,从而实现闸板的开启与关闭。目前的明杆闸阀没有指示刻度,难以控制阀板开闭的位置,在压力较大时,阀板的横向振动大,阀板易变形,影响产品的使用,现已有专利公开了避免了明杆闸阀难以控制阀板开闭的位置与阀板横向振动大的的问题。
但是,申请人认为在上述现有的明杆闸阀的阀杆长时间使用后会出现生锈的情况,操作人员在旋转手柄的时候比较费力,难以迅速的打开阀板。
本技术实现要素:
本实用新型的目的在于提供一种明杆闸阀,以解决上述背景技术中提出的问题。广泛适用于石油、化工、水力、火力发电厂等油品、水蒸气管路上作接通或截断管路中介质的启闭装置。适用于公称压力PN1.6~16.0MPa,工作温度≤-29℃~550℃的管路系统上,作为切断或接通管路介质。适用介质为:水、油品、蒸气、及酸、碱、氨、尿素、含硫天然气等。操作方式有:手动、齿轮传动、电动、气动等。

Z41H明杆式闸阀产品特点
1、结构紧凑、设计合理、阀门刚性好、通道流畅,流量系数小
2、密封面采用不锈钢和硬质合金,使用寿命长
3、采用柔性石墨填料、密封可靠,操作轻便灵活
4、驱动方式为手动、气动、电动、齿轮传动
5、结构形式为弹性楔式单闸板、刚性楔式单闸板双闸板型式
优选的,所述固定杆的前侧面顶部开设有条形滑槽,所述条形滑槽的内腔滑动连接有滑动柱,且滑动柱与棘爪的左侧相固接,所述滑动柱穿过条形滑槽的一端与固定盘穿过固定杆的一端之间设置有限位弹簧,这样能够对杠杆起到限位的作用,从而减少了阀杆因自身重力下降的可能。
优选的,所述棘轮与棘爪的顺齿方向与杠杆下压时带动阀杆上升的方向相同,这样能够更省力的拉动阀杆上升。
优选的,所述固定杆贴近阀杆的一侧的顶部与杠杆的底部之间设置有减速弹簧,且减速弹簧复位的方向与阀杆下降的方向相反,这样能够减缓阀杆下降的速度,对阀杆起到保护作用。
优选的,所述阀杆与连接阀座和阀腔内腔底部的连接处均设置有密封块,这样能够提高阀板与阀腔之间的密封性。
优选的,所述上阀体的顶部中心处开设有连接口,且连接口的内腔穿过阀杆,所述连接口与密封块的大小相同,这样能够提高阀板的密封性,减少了流体介质的泄露。

与现有技术相比,本实用新型的有益效果是:
一、本实用新型的一种明杆闸阀设计简单合理,杠杆下压,阀杆带动闸板上移打开介质通道,杠杆在下压过程中棘轮转动,带动棘爪上的滑动柱在条形滑槽的内沿着条形滑槽移动,使阀杆始终保持在阀体内竖直方向上移动,棘爪与棘轮保持相互卡合趋势,限位弹簧与滑动柱和固定盘的转动轴之间连接,在杠杆上抬时可以随时锁定住棘轮使杠杆不会朝闸阀关闭状态复位,通过简单的结构实现杠杆的锁定与解锁,拨动滑动柱让滑动柱沿着条形滑槽移动使棘爪与棘轮分离,杠杆上提使闸板关闭介质通道,从而替代了传统的使用转轮上的螺母与阀杆上的螺纹配合把转轮的旋转运动变为阀杆的直线运动,大大缩短了闸板的开关时间,减速弹簧在杠杆上提的过程中起到对阀杆的减速效果,防止阀杆下降速度过快而造成损坏的可能,对阀杆起到保护作用。
二、本实用新型的一种明杆闸阀通过指示针在刻度杆上的指示作用,能够准确的知道阀杆被提升的高度,从而便于操作人员控制明杆闸阀的介质流量。

Z41H明杆式闸阀型号参数
型号
公称压力MPa
试验压力MPa
工作温度
使用介质
密封
强度
Z41H-10
1.0
1.1
1.5
≤100-200℃
水、蒸汽、油
Z41W-10
Z41T-10
Z41H明杆式闸阀主要零件材料
型号
阀体、阀盖、闸板
密封圈
阀 杆
填 料
Z41H-10
灰铸铁、铸钢
不锈钢碳钢、不锈钢
浸油石棉盘根Z41W-10
Z41T-10
Z41T-16
Z41W-16
Z41H-16C
Z41T-16C
Z41W-16C
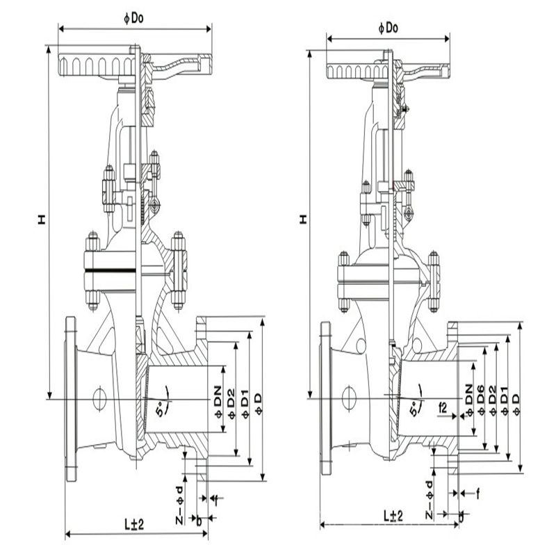
Z41H明杆式闸阀外形结构图
Z41H明杆式闸阀规格主要尺寸1.6MPa
1.6MPa DN L d D1 D2 b n-Φd H D0 凸面法兰
RF
Z40H
Z40Y
Z40W
Z40F
Z40N
Z41H
Z41Y
Z41F
Z41N
16C
16P
16R
16I15 130 95 65 45 14 4-Φ14 170 120 20 150 105 75 55 14 4-Φ14 190 140 25 160 115 85 65 14 4-Φ14 205 160 32 180 135 100 78 16 4-Φ18 270 180 40 200 145 110 85 16 4-Φ18 310 200 50 250 160 125 100 16 4-Φ18 358 240 65 265 180 145 120 18 4-Φ18 373 240 80 280 195 160 135 20 8-Φ18 435 280 100 300 25 180 155 20 8-Φ18 500 300 125 325 245 210 185 22 8-Φ18 614 320 150 350 280 240 210 24 8-Φ23 674 320 200 400 335 295 265 26 12-Φ23 818 400 250 450 405 355 320 30 12-Φ25 969 450 300 500 460 410 375 30 12-Φ25 1145 500 350 550 520 470 435 34 16-Φ25 1280 500 400 600 580 525 485 36 16-Φ30 14852 560 450 650 640 585 545 40 20-Φ30 1541 600 500 700 705 650 608 44 20-Φ34 1676 640 600 800 840 770 718 48 20-Φ41 1874 720 700 900 910 840 788 50 24-Φ41 2083 800 800 1000 1020 950 898 52 24-Φ41 2400 950 900 1100 1120 1050 998 64 28-Φ41 2950 1000 1000 1200 1255 1170 1110 56 28-Φ48 3245 1000 规格主要尺寸2.5MPa
2.5MPa DN L D D1 D2 b n-Φd H DO 凸面法兰
RF
Z40H
Z40Y
Z40W
Z40F
Z40N
Z41H
Z41Y
Z41F
Z41N
25C
25P
25R
25I15 130 95 65 45 16 4-Φ14 172 120 20 150 105 75 55 16 4-Φ14 191 140 25 160 115 85 65 16 4-Φ14 205 160 32 180 135 100 78 18 4-Φ18 270 180 40 200 145 110 85 18 4-Φ18 300 200 50 250 160 125 100 20 4-Φ18 357 240 65 265 180 145 120 22 8-Φ18 376 240 80 280 195 160 135 22 8-Φ18 434 280 100 300 230 190 160 24 8-Φ23 502 300 125 325 270 220 188 28 8-Φ205 613 320 150 350 300 250 218 30 8-Φ25 675 320 200 400 360 310 278 34 12-Φ25 819 400 250 450 425 370 332 36 12-Φ30 968 450 300 500 485 430 390 40 16-Φ30 1144 500 350 550 550 490 448 44 16-Φ34 1280 500 400 600 610 550 505 48 16-Φ34 1451 560 450 650 660 600 555 50 20-Φ34 1542 600 500 700 730 660 510 52 20-Φ41 1678 640 600 800 840 770 718 56 20-Φ41 1875 720 700 900 955 875 815 60 24-Φ28 2082 800 800 1000 1070 990 930 64 24-Φ28 2403 950 900 1100 1180 1090 1025 66 28-Φ54 2952 1000 1000 1200 1305 1210 1140 68 28-Φ58 3244 1000 
规格主要尺寸4.0MPa4.0MPa DN L D D1 D2 D6 b n-Φd H D0 凹面法兰
MFM
Z40H
Z40Y
Z40W
Z40F
Z40N
Z41H
Z41Y
Z41F
Z41N
40
40P
40R
40I15 130 95 65 45 40 16 4-Φ14 134 120 20 150 105 75 55 51 16 4-Φ14 188 140 25 160 115 85 64 58 16 4-Φ14 206 140 32 180 135 100 78 66 18 4-Φ18 272 180 40 200 145 110 85 76 18 4-Φ18 322 180 50 250 160 125 100 88 20 4-Φ18 370 240 65 280 180 145 120 110 22 8-Φ18 394 280 80 310 195 160 135 121 22 8-Φ18 455 300 100 350 230 190 160 150 24 8-Φ23 550 320 125 400 270 220 188 176 28 8-Φ25 636 35 150 450 300 250 218 204 30 8-Φ30 706 400 200 550 375 320 282 260 38 12-Φ34 859 450 250 650 445 385 345 313 42 12-Φ34 1016 560 300 750 510 450 408 364 46 16-Φ34 1200 640 350 850 570 510 465 422 52 16-Φ41 1340 640 400 950 655 585 535 474 58 16-Φ41 1495 720 450 1050 680 610 560 524 60 20-Φ48 1581 800 500 1150 755 670 612 576 62 20-Φ54 1790 950 600 1350 890 695 730 678 62 20-Φ14 2035 950 规格主要尺寸6.4MPa
6.4MPa DN L D D1 D2 D6 b n-Φd H D0 凹面法兰
MFM
Z40H
Z40Y
Z40W
Z40F
Z40N
Z41H
Z41Y
Z41F
Z41N
64
64P
64R
64I15 1700 105 75 55 40 18 4-Φ18 1425 160 20 190 125 90 68 51 20 4-Φ18 142 160 25 210 135 100 78 58 22 4-Φ23 214 200 32 230 150 110 82 66 24 4-Φ23 269 200 40 240 165 125 95 76 24 4-Φ23 343 240 50 250 175 135 105 88 26 4-Φ23 370 240 65 280 200 160 130 110 28 8-Φ23 396 280 80 310 210 170 140 121 30 8-Φ23 458 300 100 350 250 200 168 150 32 8-Φ25 553 300 125 400 295 240 202 176 36 8-Φ30 638 350 150 450 340 280 240 204 38 8-Φ34 718 400 200 550 405 345 300 260 44 12-Φ34 873 450 250 650 470 400 352 313 48 12-Φ41 1050 560 300 750 530 460 412 364 54 16-Φ41 1203 640 350 850 595 525 475 422 60 16-Φ41 1394 720 400 950 670 585 525 474 66 16-Φ48 1645 800 500 1150 800 705 640 576 70 20-Φ54 2285 950 600 1350 930 820 750 678 70 20-Φ58 2610 950 
为实现上述目的,本实用新型提供如下技术方案:一种明杆闸阀,包括上阀体与下阀体,所述上阀体与下阀体相固接,所述上阀体与下阀体之间的连接处设置有固定螺栓,所述上阀体与下阀体之间围成一个阀腔,所述上阀体的顶部中心处设置有连接阀座,所述连接阀座右侧壁顶部设置有刻度杆,所述连接阀座的内腔中心处设置有阀杆,所述阀杆伸出连接阀座顶部部分的右侧壁底部设置有指示针,且指示针的针尖部分与刻度杆相接触,所述阀杆伸入阀腔内腔部分上设置有阀板,所述连接阀座左侧壁凸起的顶部固接有升降机构,所述升降机构包括固定杆、杠杆与固定盘,所述杠杆的中心处设置有棘轮,所述固定杆、杠杆与棘轮之间通过固定盘相转动连接,所述杠杆远离固定杆的一端设置有连接圆轴,且连接圆轴与阀杆的顶部相转动连接,所述固定杆的前侧面顶部设置有与棘轮相配合的棘爪,所述棘爪的右侧设置有定位柱,且棘爪与固定杆之间通过定位柱相转动连接。

Z41H明杆式闸阀安装
1、安装前做好阀门内部清洁,在其阀腔及密封面上不能有杂质存在。
2、用力均匀地将连接各部位的螺栓拧紧。
3、检查填料部位有无压紧,做到填料的密封严密,以及闸板能灵活开关。
4、安装前校对好该阀型号、尺寸等信息,介质流向必须与规定的流向保持一致。
5、安装时,要留有一定空间,方便阀门驱动的操作。
6、严格按找线路图指示,对驱动装置的接线进行布置。
订货须知:
一、①产品名称与型号②口径③是否带附件以便我们的为您正确选型④的使用压力⑤的使用介质的温度。
二、若已经由设计单位选定公司的型号,请按型号直接向我司销售部订购。三、当使用的场合非常重要或环境比较复杂时,请您尽量提供设计图纸和详细参数,由我们的阀门公司专家为您审核把关。如有疑问:请:我们一定会尽心尽力为您提供优质的服务。提供全面、*的“阀门系统解决方案",也十分愿意帮助用户解决生产中所遇到的难题。
-
联系方式
- 联系人:申弘阀门
- 电 话:021-59260058
- 手 机:15901754341
- 传 真:86-021-31662735
- 邮 箱:494522509@qq.com
- 邮 编:201718
- 地 址:上海市青浦区金泽工业园区
- 网 址: https://bengye.cn.goepe.com/
http://www.021-fm.com
-
产品搜索






