-
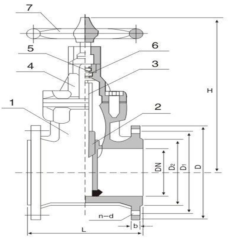
Z45H暗杆楔式闸阀申弘
详细信息| 询价留言Z45H暗杆楔式闸阀 产品说明
本实用新型公开了一种手动暗杆闸阀,包括阀体和阀杆,阀体上侧通过阀口连接有阀盖,阀盖上设有通孔,所述阀杆的下端通过该通孔伸入阀体内,所述阀杆的上端连接有手轮;所述阀盖的上方依次设有填料箱和填料压盖,位于所述手轮和填料压盖之间的所述阀杆上设有外螺纹部,其上螺接有指示器,所述外螺纹部的侧方设有上行程开关和下行程开关,所述指示器的端部于所述下行程开关下方和所述上行程开关下方之间上下往复运动。本实用新型利用上、下行程开关与指示器之间的配合,精确控制闸阀的开、关量,避免阀瓣与阀座过度配合或闸阀开度不到位等问题,提高闸阀的安全性和可靠性。闸阀是常用的切断阀之一,主要用来接通和切断管路中的介质,其主要特点是流阻小、启闭省力,介质流向不受限制。暗杆闸阀占闸阀品种的80%以上,其是阀杆做圆周运动时,阀杆的上下直线运动受限制的闸阀,阀杆通过梯形螺纹使阀瓣螺母作直线运动,带动阀瓣作上下往复运动,从而使闸阀满足启闭功能。弹性楔式单闸板、刚性楔式单闸板和双闸板型式。暗杆闸阀广泛适用于石油化工,冶金,水处理,火力发电厂等油品、水蒸汽管路上作接通或截断管路中介质的启闭装置。

Z45H暗杆楔式闸阀主要特点及用途:
1.闸阀结构紧凑.设计合理,阀门刚性好,通道流畅,流阻系数小.
2.密封面采用不锈钢和硬质合金,使用寿命长.
3.采用柔性石墨填料.密封可靠.操作轻便灵活.
4.驱动形式:分手动,电动,齿轮传动.
5.闸阀结构形式:弹性楔式单闸板,刚性楔式单闸板和双闸板型式.

传统的闸阀上限制阀杆上下直线运动,向上靠阀盖限位,向下主要靠止退压盖式限位和止退螺母式限位,止退压盖式限位因压盖用螺栓固定在阀盖上,体积大、零件多;而止退螺母限位加工复杂、螺母易松动。
为解决上述问题,一种暗杆闸阀,包括阀体、阀杆和闸板,阀体上侧有阀口,阀口上有阀盖,阀盖上有通孔,阀杆下端通过该通孔伸入阀体内;阀杆的上端安装有手轮;所述闸板处于阀体内,其上侧有径向螺孔;阀杆下端有外螺纹并旋入闸板上的径向螺孔内;阀盖上表面的圆周方向上有轴向凸起,轴向凸起之上依次有填料箱和箱盖,在填料箱的外侧加工有径向凸台,在手轮与箱盖间的阀杆上安装有指针,指针与径向凸台间设置有*,*下端和径向凸台上分别加工有外螺纹和轴向螺孔,*下端借助该外螺纹和轴向螺孔固定在径向凸台上,这样可掌握闸阀开、关的大小。但是依靠指针和*的配合来掌握闸阀的开、关大小,操作人员容易漏观察,导致闸板与阀座过度配合或闸阀开度不到位等问题,也不能做到精确调节。

Z45H暗杆楔式闸阀性能:
型号
公称压力MPa
试验压力MPa
工作温度
使用介质
密封
强度
Z45H-10C
Z45W-10P
Z45T-10C1.0
1.1
1.5
-29~425℃
水、蒸汽、油品
Z45H-16C
Z45W-16P
Z45T-16C1.6
1.76
2.4
Z45H暗杆楔式闸阀的主要材料:
型号
阀体、阀盖、闸板
密封圈
阀 杆
填 料
Z45H-10C
Z45W-10P
Z45T-10C碳钢、不锈钢
不锈钢
黄铜不锈钢、铜
柔性石墨环
浸油石棉盘根Z45T-16C
Z45W-16P
Z45H-16C口 径
DN(mm)Z45H-10C
Z45H-16C
L
D
H
D0
L
D
H
D0
40
165
145
300
160
240
345
200
160
50
178
160
300
180
250
355
240
180
65
190
180
340
180
270
375
240
180
80
203
195
360
200
280
435
280
200
100
229
215
400
200
300
500
320
200
125
254
245
500
240
325
615
360
240
150
267
280
550
240
350
675
360
240
200
292
335
620
320
400
750
400
320
250
330
390
700
320
450
970
450
320
300
356
440
800
400
500
1145
560
400
350
381
500
950
400
550
-
-
400
400
406
565
1050
500
600
-
-
500
450
432
615
1175
500
650
-
-
500
500
457
670
1410
720
700
-
-
720
600
508
780
1550
720
800
-
-
720
700
610
895
1800
800
900
-
-
800
800
660
1010
2170
-
-
-
-
-
900
711
1110
2300
-
-
-
-
-
1000
811
1220
2600
-
-
-
-
-
1200
1015
1450
-
-
-
-
-
-

本实用新型利用上、下行程开关与指示器之间的配合,精确控制闸阀的开、关量,避免阀瓣与阀座过度配合或闸阀开度不到位等问题,提高闸阀的安全性和可靠性。以上所述是本实用新型的优选实施方式,应当指出,对于本的普通技术人员来说,在不脱离本实用新型所述原理的前提下,还可以作出若干改进或替换,这些改进或替换也应视为本实用新型的保护范围。

Z45H暗杆楔式闸阀安装
1、安装前做好阀门内部清洁,在其阀腔及密封面上不能有杂质存在。
2、用力均匀地将连接各部位的螺栓拧紧。
3、检查填料部位有无压紧,做到填料的密封严密,以及闸板能灵活开关。
4、安装前校对好该阀型号、尺寸等信息,介质流向必须与规定的流向保持一致。
5、安装时,要留有一定空间,方便阀门驱动的操作。
6、严格按找线路图指示,对驱动装置的接线进行布置。
订货须知:
一、①产品名称与型号②口径③是否带附件以便我们的为您正确选型④的使用压力⑤的使用介质的温度。
二、若已经由设计单位选定公司的型号,请按型号直接向我司销售部订购。三、当使用的场合非常重要或环境比较复杂时,请您尽量提供设计图纸和详细参数,由我们的阀门公司专家为您审核把关。如有疑问:请:我们一定会尽心尽力为您提供优质的服务。提供全面、*的“阀门系统解决方案",也十分愿意帮助用户解决生产中所遇到的难题。
-
联系方式
- 联系人:申弘阀门
- 电 话:021-59260058
- 手 机:15901754341
- 传 真:86-021-31662735
- 邮 箱:494522509@qq.com
- 邮 编:201718
- 地 址:上海市青浦区金泽工业园区
- 网 址: https://bengye.cn.goepe.com/
http://www.021-fm.com
-
产品搜索






