-
Z41H明杆式闸阀申弘
详细信息| 询价留言Z41W法兰楔式闸阀 产品说明
本实用新型涉及楔式闸阀技术领域,具体为一种楔式闸板式闸阀。为实现上述目的,本实用新型提供如下技术方案:一种楔式闸板式闸阀,包括外罩和螺母,所述外罩的内侧设置有伺服电机,且伺服电机的底部设置有填料压盖,所述填料压盖的底部安装有隔板,且隔板的左右两侧安装有固定块,所述固定块的右侧贯穿有螺钉,所述螺母安装于隔板的内侧,且螺母的下方设置有垫片,所述垫片的底部设置有转杆,且转杆的外侧安装有防水胶套,所述防水胶套的下方设置有制动罐,且制动罐的内侧设置有*挡板,所述*挡板的右侧安装有第二挡板,且第二挡板的下方设置有弹簧,

Z41W法兰楔式闸阀背景技术:
现在市面上的楔式闸板式闸阀密封不可靠,性能一般,启闭费力,形体复杂,结构长度长,制造工艺性差,适用范围小,需要具有密封可靠,性能优良,启闭轻松,形体简单,结构长度短,制造工艺性好,适用范围广的新型闸阀,为此,我们提出一种楔式闸板式闸阀。
闸板的运动方向与流体方向相垂直,楔形闸阀只能作全开和全关,不适合作调节和节流。楔形闸阀一般通过阀杆随旋转手轮上下移动来完成阀门的启闭。有明杆楔形闸阀和暗杆楔形闸阀两种。明杆楔形闸阀是阀杆上下移动,阀杆螺母固定。暗杆闸阀是阀杆固定,阀杆螺母上下移动已完成启闭。
技术实现要素:
本实用新型的目的在于提供一种楔式闸板式闸阀,以解决上述背景技术中提出的同类产品密封不可靠,性能一般,启闭费力,形体复杂,结构长度长,制造工艺性差,适用范围小的问题。

Z41W法兰楔式闸阀产品特点
1、结构紧凑、设计合理、阀门刚性好、通道流畅,流量系数小
2、密封面采用不锈钢和硬质合金,使用寿命长
3、采用柔性石墨填料、密封可靠,操作轻便灵活
4、驱动方式为手动、气动、电动、齿轮传动
5、结构形式为弹性楔式单闸板、刚性楔式单闸板双闸板型式
法兰闸阀执行标准
设计规范:GB/T 12234
结构长度:GB/T 12221
连接法兰:JB/T 79
试验与检验:JB/T 9092
压力-温度:GB/T 9131
产品标识:GB/T 12220
所述弹簧的下方安装有上盖板,且上盖板的内侧设置有空腔,所述上盖板的左右两侧贯穿有双头螺栓,且上盖板的底部设置有底板,所述底板的内侧安装有缓冲块,且缓冲块的下方安装有联接杆,所述联接杆的左右两侧安装有闸板,且闸板的外侧设置有流通槽,所述流通槽的外侧设置有阀体。

与现有技术相比,本实用新型的有益效果是:
1、该楔式闸板式闸阀通过外罩、伺服电机、固定块和螺钉的设置,外罩能够保护伺服电机,为伺服电机提供一定程度上的防水性,螺钉的设置能够方便用户拆卸更换故障伺服电机,且能提升装置的稳固性能,伺服电机的设置免除了手动操作的费力,启闭轻松,提高了工作效率。
2、该楔式闸板式闸阀通过填料压盖、隔板、螺母和垫片的设置,能够为转杆提供旋转时的保护,隔板的设置也能够为装置的防水性提供帮助,垫片的设置能够增加螺母的稳定性,结构简单,操作便捷,密封可靠。
3、该楔式闸板式闸阀通过制动罐、*挡板和第二挡板的设置,转杆转动时,可以通过制动罐内的*挡板与转杆上的第二挡板的限制对闸阀的开口角度和大小进行控制和调节,提升了流通要求的精确性,也便捷了用户的操作,提升了用户的操作体验感,适用范围广。

Z41W法兰楔式闸阀性能规范
型号
公称压力
(MPa)实验压力
工作温度(℃)
适用介质
强度水(MPa)
密封(水)空气(MPa)
低压密封空气(MPa)
Z41H-16C
Z41W-16P(R)1.6
2.4
1.8
0.6
≤425
硝酸类
Z41W-25P(R)
2.5
3.8
2.8
0.6
≤200
醋酸类
Z41W-40P(R)
4.0
6.0
4.4
0.6
≤200
硝酸类
Z41W-64P(R)
6.4
9.6
7.0
0.6
≤200
醋酸类
Z41W法兰楔式闸阀主要零件材质
阀体/阀盖
ZGICr18Ni9Ti
ZG00Cr18Ni10
ZG1Cr18Ni12M02Ti
ZG00Cr17Ni14M02
WCB
零件名称
ZGICr18Ni9Tit系列
ZG00Cr18Ni10系列
ZG1Cr18Ni12M02Ti系列
ZG00Cr17Ni14M02系列
WCB系列
闸板
ZGICr18Ni9Ti
ZG00Cr18Ni10
ZG1Cr18Ni12M02Ti
ZG00Cr17Ni14M02
1Cr13
阀杆
1Cr18Ni9Ti
00Cr18Ni10
1Cr18Ni12M02Ti
00Cr17Ni14M02
1Cr13
填料
PTFE编织
PTFE编织
PTFE编织
PTFE编织
石墨
垫片
304L+PTFE
304L+PTFE
316+PTFE
316L+PTFE
石墨
压盖
ZGICr18Ni9Ti
ZG00Cr18Ni10
ZG1Cr18Ni12M02Ti
ZG00Cr17Ni14M02系列
WCB
填料压环
1Cr18Ni9Ti
00Cr18Ni10
1Cr18Ni12M02Ti
00Cr17Ni14M02
1Cr13
螺栓
1Cr17Ni2
1Cr17Ni2
1Cr17Ni2
1Cr17Ni2
35CrMoA
螺母
1Cr18Ni9Ti
1Cr18Ni9Ti
1Cr18Ni9Ti
1Cr18Ni9Ti
45
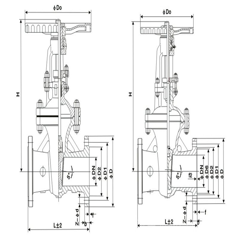
法兰闸阀-1.6MPa主要连接尺寸
尺寸
DN
15
20
25
32
40
50
65
80
100
125
150
200
250
300
350
400
450
500
600
L
mm
130
150
160
180
200
250
265
280
300
325
350
400
450
500
550
600
650
700
800
H
mm
175
180
210
210
350
358
373
435
500
614
674
818
1225
1415
1630
1780
2050
2181
2599
W
mm
180
180
200
200
200
240
240
280
320
360
360
400
450
500
500
600
720
720
720
法兰闸阀-2.5MPa主要连接尺寸
尺寸
DN
15
20
25
32
40
50
65
80
100
125
150
200
250
300
350
400
450
500
600
L
mm
130
150
160
180
200
250
265
280
300
325
350
400
450
500
550
600
650
700
800
H
mm
175
180
210
210
350
358
373
435
500
614
674
818
1225
1415
1630
1780
2050
2181
2599
W
mm
180
180
200
200
200
240
240
280
320
360
360
400
450
500
500
600
720
720
720
法兰闸阀-4.0MPa主要连接尺寸
尺寸
DN
15
20
25
32
40
50
65
80
100
125
150
200
250
300
350
400
L
mm
130
150
160
180
200
250
280
310
350
400
450
550
650
750
850
950
H
mm
175
180
210
210
350
358
373
435
500
614
674
818
1225
1415
1630
1780
W
mm
180
180
200
200
200
240
240
280
320
360
360
400
450
500
500
600
尺寸
DN
15
20
25
32
40
50
65
80
100
125
150
200
250
300
350
400
L
mm
170
190
210
230
240
250
280
320
350
400
450
550
650
750
850
950
H
mm
175
180
210
230
350
359
373
435
500
614
674
818
970
1145
1280
1450
W
mm
120
120
140
160
200
240
280
320
360
400
400
450
560
640
800
800
法兰闸阀-10.0MPa主要连接尺寸
尺寸
DN
15
20
25
32
40
50
65
80
100
125
150
200
250
L
mm
170
190
210
230
240
250
280
310
350
400
450
550
650
H
mm
175
180
210
230
350
359
373
435
500
614
674
818
970
W
mm
120
120
160
180
240
280
320
360
400
450
560
640
720
法兰闸阀-16.0MPa主要连接尺寸
尺寸
DN
15
20
25
32
40
50
65
80
100
125
150
200
L
mm
170
190
210
230
240
300
340
390
450
525
600
750
H
mm
175
180
210
230
350
359
373
435
500
614
674
818
W
mm
120
120
140
160
200
240
280
320
360
400
400
450
以上所述,仅为本实用新型较佳的具体实施方式,但本实用新型的保护范围并不局限于此,任何熟悉本技术领域的技术人员在本实用新型揭露的技术范围内,根据本实用新型的技术方案及其实用新型构思加以等同替换或改变,都应涵盖在本实用新型的保护范围之内。

Z41W法兰楔式闸阀安装
1、安装前做好阀门内部清洁,在其阀腔及密封面上不能有杂质存在。
2、用力均匀地将连接各部位的螺栓拧紧。
3、检查填料部位有无压紧,做到填料的密封严密,以及闸板能灵活开关。
4、安装前校对好该阀型号、尺寸等信息,介质流向必须与规定的流向保持一致。
5、安装时,要留有一定空间,方便阀门驱动的操作。
6、严格按找线路图指示,对驱动装置的接线进行布置。
订货须知:
一、①产品名称与型号②口径③是否带附件以便我们的为您正确选型④的使用压力⑤的使用介质的温度。
二、若已经由设计单位选定公司的型号,请按型号直接向我司销售部订购。三、当使用的场合非常重要或环境比较复杂时,请您尽量提供设计图纸和详细参数,由我们的阀门公司专家为您审核把关。如有疑问:请:我们一定会尽心尽力为您提供优质的服务。提供全面、*的“阀门系统解决方案",也十分愿意帮助用户解决生产中所遇到的难题。
-
联系方式
- 联系人:申弘阀门
- 电 话:021-59260058
- 手 机:15901754341
- 传 真:86-021-31662735
- 邮 箱:494522509@qq.com
- 邮 编:201718
- 地 址:上海市青浦区金泽工业园区
- 网 址: https://bengye.cn.goepe.com/
http://www.021-fm.com
-
产品搜索








