-
Z45H不锈钢暗杆闸阀申弘
详细信息| 询价留言Z45H不锈钢暗杆闸阀 产品说明
本实用新型属于水、油、气等流体管路控制用阀门,特别是一种暗杆楔式单闸板闸阀。常规暗杆楔式闸阀包括带导向筋条及流体进、出孔道的阀体、阀盖,填料压盖及设于阀盖与填料压盖之间带填料室的填料小头,因此,上述闸阀存在结构及加工工艺较复杂、体积较大、耗材多、密封性较差而生产成本较高等弊病。

本实用新型涉及排水阀门技术领域,具体为一种暗杆楔式闸阀。是指关闭件(闸板)沿通路中心线的垂直方向移动的阀门,闸阀在管路中主要作切断用。动作灵活可靠,密封性能优良。Z45H铸钢暗杆闸阀,替代传统铸铁阀门,结构紧凑、设计合理、阀门刚性好,通道流畅、流量系数大流阻系数小,结构简单,便于维修。它的密封面采用不锈钢和硬质合金,使用寿命长。采用柔性石墨填料、密封可靠、操作轻便灵活。广泛适用于石油化工,冶金,水处理,火力发电厂等油品、水蒸汽管路上作接通或截断管路中介质的启闭装置。
不锈钢暗杆闸阀,替代传统铸铁阀门,结构紧凑、设计合理、阀门刚性好,通道流畅、流阻系数小。型号为Z45H-10C、Z45H-16C。它的密封面采用不锈钢和硬质合金,使用寿命长。采用柔性石墨填料、密封可靠、操作轻便灵活。驱动方式分手动、电动、气动、齿轮传动;结构型:弹性楔式单闸板、刚性楔式单闸板和双闸板型式。适用于石油化工,冶金,水处理,火力发电厂等油品、水蒸汽管路上作接通或截断管路中介质的启闭装置。
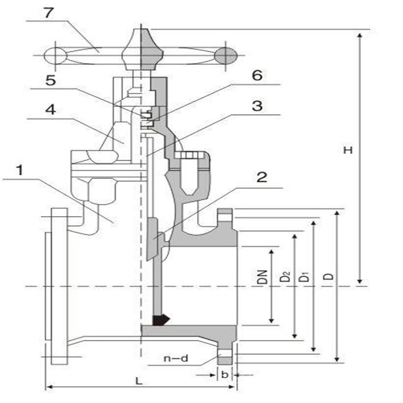
二、Z45H不锈钢暗杆闸阀产品特点:
1.Z45H暗杆闸阀结构紧凑.设计合理,阀门刚性好,通道流畅,流阻系数小.
2.密封面采用不锈钢和硬质合金,使用寿命长.
3.采用柔性石墨填料.密封可靠.操作轻便灵活.
4.驱动形式:分手动,电动,齿轮传动.
5.结构形式:弹性楔式单闸板,刚性楔式单闸板和双闸板型式.
6.广泛用于石油化工,火力发电厂等油品,水蒸汽管路上作接通或截断管路中介质的启闭装置。

背景技术:
暗杆闸阀的启闭件是闸板,闸板的运动方向与流体方向相垂直,可以作调节和节流。闸板有两个密封面,*常用的模式闸板阀的两个密封面形成楔形、楔形角随阀门参数而异。楔式闸阀的闸板可以做成一个整体,叫做刚性闸板;也可以做成能产生微量变形的闸板,以改善其工艺性,弥补密封面角度在加工过程中产生的偏差,这种闸板叫做弹性闸板。
现有的暗杆楔式闸阀的缺陷,在对暗杆楔式闸阀在冬季使用的过程中,阀体内部的水会冻住,不能及时进行化冻处理,给人们的生产和生活带来不便,不适合推广使用,暗杆楔式闸阀内侧在长时间的使用过程中,阀体内部会有异物,异物会造成暗杆楔式闸阀堵塞,减少了暗杆楔式闸阀的使用寿命,提高了成本的使用,不方便人们的使用,为此我们设计了一款新型的暗杆楔式闸阀,解决了传统的暗杆楔式闸阀使用不便的问题。

Z45H不锈钢暗杆闸阀性能参数:
型号 公称压力MPa 试验压力MPa 工作温度 使用介质 密封 强度 Z45H-10 1 1.1 1.5 ≤100-200℃ 水、蒸汽、油 Z45W-10 Z45T-10 型号 阀体、阀盖、闸板 密封圈 阀 杆 填 料 Z45H-10C 灰铸铁、铸钢 不锈钢 碳钢、不锈钢 浸油石棉盘根 Z45W-10 Z45T-10 Z45T-16 Z45W-16 Z45H-16C Z45T-16 Z45W-16 口 径 Z45H-10C Z45H-16(C) DN(mm) L D H D0 L D H D0 40 165 145 300 160 240 345 200 160 50 180 160 300 180 250 355 240 180 65 195 180 340 180 265 375 240 180 80 210 195 360 200 280 435 280 200 100 230 215 400 200 300 500 320 200 125 255 245 500 240 325 615 360 240 150 280 280 550 240 350 675 360 240 200 330 335 620 320 400 750 400 320 250 380 390 700 320 450 970 450 320 300 420 440 800 400 500 1145 560 400 350 450 500 950 400 550 - - 400 400 480 565 1050 500 600 - - 500 450 510 615 1175 500 650 - - 500 500 540 670 1410 720 700 - - 720 600 600 780 1550 720 750 - - 720 700 660 895 1800 800 - - - 800 800 720 1010 2170 - - - - - 900 780 1110 2300 - - - - - 1000 840 1220 2600 - - - - - 1200 960 1450 - - - - - -
此外,应当理解,虽然本说明书按照实施方式加以描述,但并非每个实施方式仅包含一个独立的技术方案,说明书的这种叙述方式仅仅是为清楚起见,本领域技术人员应当将说明书作为一个整体,各实施例中的技术方案也可以经适当组合,形成本领域技术人员可以理解的其他实施方式。

Z45H不锈钢暗杆闸阀的安装步骤
1、按设计安装标高,在出水口墙面上标出出水口竖直中心线及闸阀底部标高线,偏差不大于±10mm,同时检查闸体起吊孔中心与启闭机预留支座孔是否对中;
2、将闸阀吊装到位,并立稳靠实;
3、将闸阀吊起贴墙就位,调整闸体的水平度和垂直度(门框底槽、侧槽的水平度、垂直度不大于1/1000),闸阀框与预埋钢板可靠连接,二次浇注采取有效封闭措施保证闸阀框与构筑物之间不渗漏。
4、安装闸阀推力螺杆及启闭机座,安装水平度与垂直度符合设计要求,启闭机中心与闸阀板螺杆孔中心应位于同一垂线,其垂直度偏差不大于1/1000,且全程内偏差小于2mm,连接闸阀推力螺杆,以闸板推力螺杆板闸端为基准,将闸阀推力螺杆调垂直后固定启闭机座,启闭机座用垫铁垫实。然后进行闸阀和启闭机的二次混凝土浇筑。
5、检验:
①闸阀安装后,检查安装精度符合安装要求各紧固件连接牢固;对启闭机内的油脂进行检查和加注;
②在无水的条件下进行闸阀的启闭试验,达到操作灵活,动作到位,螺杆旋合平稳,门板无卡位、突跳、异响现象;
③在设计水位下,闸阀启闭自如,无突跳现象,限位装置应灵敏、准确、可靠;
④协助供货商按有关规定进行现场泄露实验,在*大设计水位条件下,闸阀的泄露量符合规定。

Z45H不锈钢暗杆闸阀的安装注意事项
(1)手轮、手柄和传动机构不能用来起吊,严格禁止碰撞产生。
(2)双闸板闸阀要垂直安装,也就是阀杆处于垂直位置,手轮处于顶部位置。
(3)带有旁通阀的闸阀在开启之前要先把旁通阀打开,用来平衡进出口的压强差,并减小开启力。
(4)带传动机构的闸阀,按照产品的使用说明书来安装。
(5)如果阀门经常开关使用,要做好护理工作,每月至少润滑一次。

不锈钢暗杆闸阀Z45W-16P又叫旋转杆闸阀 ( 亦叫暗杆楔式暗杆闸阀 )。阀杆螺母 设在闸板上,手轮 转动带动阀杆 转动 , 而使闸板提升,通常在阀杆的底端有梯形螺纹 ,通过阀门底端的螺纹以及阀瓣上的导槽,将旋转运动变为直线运动,也就是将操作转矩变为操作推力。开启阀门时,当闸板提升高度等于阀门通径 的1:1倍时,流体的通道完全畅通,但在运行时,此位置是无法监视的。实际使用时,是以阀杆的顶点作为标志,即开不动的位置,作为它的全开位置。为考虑温度 变化出现锁死现象, 通常在开到顶点位置上,再倒回 1/2~1圈,作为全开阀门的位置。因此,阀门的全开位置,按闸板的位置(即行程)来确定。

订货须知:
一、①产品名称与型号②口径③是否带附件以便我们的为您正确选型④的使用压力⑤的使用介质的温度。
二、若已经由设计单位选定公司的型号,请按型号直接向我司销售部订购。三、当使用的场合非常重要或环境比较复杂时,请您尽量提供设计图纸和详细参数,由我们的阀门公司专家为您审核把关。如有疑问:请:我们一定会尽心尽力为您提供优质的服务。提供全面、*的“阀门系统解决方案",也十分愿意帮助用户解决生产中所遇到的难题。
-
联系方式
- 联系人:申弘阀门
- 电 话:021-59260058
- 手 机:15901754341
- 传 真:86-021-31662735
- 邮 箱:494522509@qq.com
- 邮 编:201718
- 地 址:上海市青浦区金泽工业园区
- 网 址: https://bengye.cn.goepe.com/
http://www.021-fm.com
-
产品搜索







