-
HX2带双接管呼吸阀申弘
详细信息| 询价留言HX2带双接管呼吸阀 产品说明
本实用新型涉及一种储罐安全装置呼吸阀。根据标准<石油化工企业设计防火规范>(GB50160-90)之规定,"甲,乙类液体的固定顶罐,应用阻火器和呼吸阀".可见呼吸阀,阻火器是储罐不可缺少的安全设施.它不仅能维持储罐气压平衡,确保储罐在超压或真空时兔遭破坏,且能减少罐内介质的挥发和损耗.呼吸阀是维护储罐气压平衡,减少介质挥发的安全节能产品,常与阻火器配套使用。该阀主要用于回收污染环境、危及人身安全有毒有害的气体。

我公司生产的呼吸阀,具有结构紧凑,通气量大,泄漏量小,耐腐蚀,密封性能好等特点.近期又开发了具有先进水准的防爆阻火器呼吸阀(HXF-IZ型),阻火器位于呼吸阀吸入口处,彻底杜绝火源进入呼吸阀壳体内.具有体积小,重量轻,检修,清洗,更换方便等优点等特点。
阀盘采用聚四氟乙烯材料,具有耐低温,防冻等优点。阀内设静电输出装置,使得该阀时刻与罐体保持等电位。
在阻火呼吸阀正常工作情况下,阻火呼吸人孔基本保持密封状态,储罐处于正常压力。当呼吸阀正常工作满足不了因意外原因造成储罐急剧超压时,呼吸人孔的泄压盖自动顶开,进行紧急泄压,使罐内压力保持正常;当罐内压力急剧减压或超真空时,吸入阀便开启急剧吸入大气,维护罐内正常压力;当吸入大气带有火花、火焰时,阻火层起到“器壁效应”的作用来阻止火焰的通过,以保护储罐的安全。
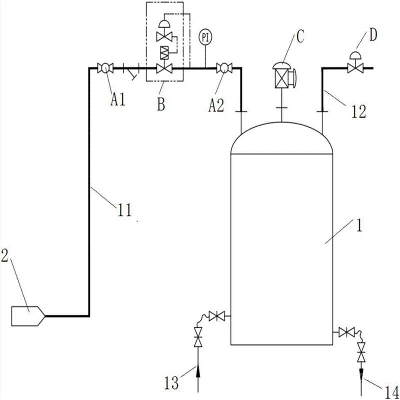
HXF2带双接管呼吸阀是安装在固定顶罐上的通风及阻火装置,能起到能起到减少油品蒸发损耗,控制储罐压力平衡和控制火焰的作用。呼吸阀内设有静电保护装置,使得该阀时刻与罐体保持同等电位。带双接管(阻火)呼吸阀也适用于可回收气体储罐,如有氮气封顶储罐,它可直接从氮气罐内吸入氮气,也可接储罐内的废氮回收,真正做到了高效、节能、环保。带双接管(阻火)呼吸阀还具备对储罐内外压力进行自动调节的作用,该阀可代替氮封装置。

HX2带双接管呼吸阀产品特点
HX2、HXF2带双接管呼吸阀阀盘采用四氟材料,耐低温,防冻性能好;阻火盘采用不锈钢材质,阻火性能优良。壳体选用不锈钢、铸钢和铝合金,结构紧凑,阻火性能强、通气量大、泄漏量小、耐腐蚀、耐低温、防霜冻、易检修,安全方便等特点。

HX2带双接管呼吸阀主要技术参数
壳体材质:碳钢、不锈钢(SUS304、SUS304L、SUS316、SUS316L)、衬氟、塑料。
内部芯件:阀盘、阀座、阀杆、阀套。
内部芯件材质:不锈钢或聚四氟乙烯。
密封圈材质:聚四氟乙烯。
环境温度:-40~+60℃。
操作压力:
A型:-295Pa(-30mmH20) +355Pa(+36mmH20)
B型:-295Pa(-30mmH20) +980Pa(+100mm H20)
C型:-295Pa(-30mmH20) +1750Pa(+180mm H20)
制造标准:按(石油储罐呼吸阀)SY7511-87、(石油储罐阻火器阻火性能和试验方法)GB5908-86等标准进行制造和验收;或用户指定标准。
HX2带双接管呼吸阀主要零部件
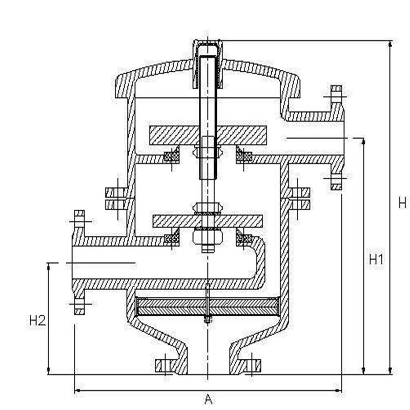
型号 HXF2 规格 DN40-DN250 PN0.6-PN2.5 壳体材质 AL CS 304 316 316L 导杆材质 AL 304 316 316L 螺帽螺栓 CS 304 316 316L 密封垫片 石墨垫片 金属垫片 聚四氟乙烯 正压阀盘材质 CS 304 316 316L/F4 负压阀盘材质 聚四氟乙烯 F4 正压阀盘压力 +36mmH2O +1000mmH2O 负压阀盘压力 -25mmH2O -65mmH2O 压力等级 A级 B级 C级 D级 环境温度 CS:-30℃~+350℃SS:-80℃~+350℃ 连接方式 法兰连接 螺纹连接 法兰标准 JB GB HG ANSI SH JIS 设计制造检测标准 SY/T0511-1996 GB5908-86 外表处理 CS: paint SS:NO Paint HX2带双接管呼吸阀外形结构图
HX2带双接管呼吸阀主要外形尺寸
DN 40 50 80 100 150 200 250 H1 95 120 135 145 155 165 190 H2 220 235 275 320 375 440 495 H 330 350 410 450 585 695 770 L 245 255 350 365 490 550 590 
本实用新型是这样实现的在原有的油罐呼吸阀上加以改进,由阀盖、衬套、螺栓、螺母、销轴、销、密封垫、密封圈、阀体、正、负压阀盘,加重块、导杆、防雨罩组成。导杆的一端与正压阀盘连结,另端插入负压阀盘内构成同轴结构,进、出气口通道为一个。负压阀盘的顶端固定在阀盖中间有衬套的盲孔内,并能沿衬套上、下滑动,正压阀盘为圆板式,负压阀盘截面为 形,衬套、导杆、正、负压阀盘、密封圈采用聚四氟乙烯材料制作,并在负压阀盘上安装接地装置构成全天候型呼吸阀。若不安装接地装置和衬套、导杆、正、负压阀盘、密封圈采用铝合金材料制作,构成普通型呼吸阀。

HX2带双接管呼吸阀安装维护
1、带双接管呼吸阀安装在储油罐的*高点,以便降低物料的蒸发损耗和维持储罐内外的气压平衡。一般立式油罐,呼吸阀安装于油罐顶板中央范围内;对于罐顶需要设隔热层的储罐,呼吸阀可安装在梯子平台附近。
2、带双接管呼吸阀出厂时,法兰密封面采用塑料保护盖,以免运输途中造成法兰密封面受损,货到现场安装时,务必要把法兰保护盖取掉,再垂直安装于储罐罐顶部。呼吸阀不可横放和倒置,若储罐顶部需要安装两个呼吸阀时,呼吸阀与罐顶中心应该对称安装。
3、带双接管呼吸阀安装于储罐上一般使用1-3个月,需要定期检查呼吸阀正负压阀盘工作是否灵活,呼吸阀在正常工作时,会发出“吸-吸-吸”的泄压排气的声音,否则,需要将呼吸阀顶部的阀盖打开,检查呼吸阀的阀盘是否出现“卡盘”现象。导杆上是否有污垢,若有及时清理干净污垢,保证导杆运行自如。阀座密封面有无磨损,如有磨损需立即更换,以保证呼吸阀的正常安全运行。
4、带双接管呼吸阀的正负压阀盘是根据罐内的压力的升降而不断变化,上下运动。当呼吸阀使用三年时间后,一般都需要更换呼吸阀内部的阀盘,导杆以及阀座的密封面,以保证呼吸阀正常工作,维持储罐的安全运行。
一种储罐安全装置,由阀盖、阀体、密封圈、正、负压阀盘、导杆、加重块、防雨罩、紧固件组成。为同轴板式单孔呼吸阀。负压阀盘的顶端固定在阀盖中间的盲孔内,并能沿盲孔上、下滑动、定位。正压阀盘为圆板式、负压阀盘为.

注意事项
1、存放: 以上产品在运达工地后,若暂时不安装或以后工厂大修、检修,应存放在有防雨设施的仓库中;紧急放空人孔系列产品在运输时不得倒置。
2、维护:
a、 对呼吸阀系列产品,工作人员应每月上罐顶检查一次,检查阀盘、阀座、阀杆、阀套等部位是否有灰尘、污垢,若有,应清理干静;每半年,给阀套、阀杆擦拭一遍变压器油。
b、 每半年工作人员应检查阻火呼吸人孔的阻火层一次,若发现有污渍、杂质堵塞阻火层,应取下阻火层,用相对应的溶剂去除污渍,然后用清水将阻火层清洗干静,放在通风吹干后再放入壳体内。
订货须知:
一、①产品名称与型号②口径③是否带附件以便我们的为您正确选型④的使用压力⑤的使用介质的温度。
二、若已经由设计单位选定公司的型号,请按型号直接向我司销售部订购。三、当使用的场合非常重要或环境比较复杂时,请您尽量提供设计图纸和详细参数,由我们的阀门公司专家为您审核把关。如有疑问:请:我们一定会尽心尽力为您提供优质的服务。提供全面、*的“阀门系统解决方案",也十分愿意帮助用户解决生产中所遇到的难题。
-
联系方式
- 联系人:申弘阀门
- 电 话:021-59260058
- 手 机:15901754341
- 传 真:86-021-31662735
- 邮 箱:494522509@qq.com
- 邮 编:201718
- 地 址:上海市青浦区金泽工业园区
- 网 址: https://bengye.cn.goepe.com/
http://www.021-fm.com
-
产品搜索






