-     FL641H气动下展式放料阀申弘详细信息| 询价留言FL641H气动下展式放料阀 产品说明 本实用新型涉及阀门技术领域,更具体地说,它涉及一种气动下展式放料阀。本公司的放料阀主要适用于反应釜,储罐和其他容器的底部作排料用,借助于阀门底部法兰(凸缘)焊接于反应釜或储罐和其他容器的底部,因此消除工艺介质通常在容器出口的残留现象。放料阀根据实际情况的需要,阀体底部结构设计为平底型,阀体为V型,并提供提升和下降两种工作方式阀瓣。阀体内腔装有耐冲刷、耐腐蚀的密封圈,在开启阀门瞬间,可以保护阀体不被介质冲刷、腐蚀,并对密封圈进行特种处理,使表面硬度达到HRC56-62,具有高耐磨、耐腐蚀的功能。阀瓣密封根据需要时封面均堆焊有硬质合金,密封副采用线密封,保证密封的可靠性,并可防止结疤。同时,采取短行程阀瓣的设计。在化工、石油、冶金、要类、染料、食品加工等行业广泛使用。 
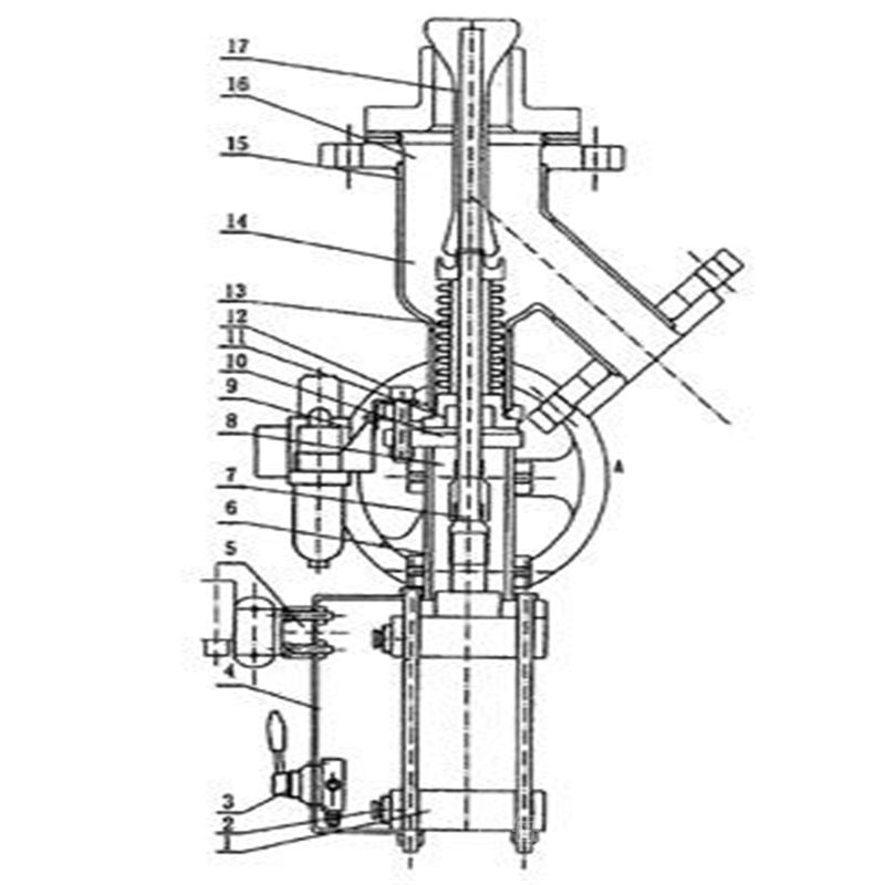
  FL641H气动下展式放料阀背景技术: 目前使用于固体颗粒介质的放料阀主要分为两类:*类为上展式放料阀;第二类为下展式放料阀。下展式放料阀包括阀体,阀体包括进料口和倾斜设置的出料口,在进料口对应的下端设有与阀体旋接的阀杆,阀杆顶部设有阀芯,在阀体上端连接与阀芯上顶面相匹配的阀圈,阀杆向上顶紧阀芯与阀体由阀圈密封。阀杆与阀圈抵触密封时,需要保持高效的密封性能。阀门在不断开启或者关闭时,由于阀芯体积较大,在运动时阀芯会产生震荡的现象,阀芯在震荡时会与阀圈的密封性能减弱,导致阀门内的密封效果差,引起物料泄漏,会存在很大的安全隐患。 本实用新型公开了一种气动下展式放料阀,包括阀体,阀杆和阀座,阀体包括进料口,倾斜设置的出料口,以及通道,在进料口对应的下端设有与阀体旋接的阀杆,阀杆位于通道内,在阀杆顶部设有阀芯,在阀座上连接有阀圈,阀杆向上顶紧阀芯与阀座由阀圈密封,阀杆与阀芯一体成型,阀芯的端面具有弧形面,阀芯的两侧具有密封斜面一,阀杆的横截面小于阀芯的横截面,通道接近阀座一端的内壁上设有具有弹性的密封环,密封环的内环壁上具有导向斜面和密封斜面二,阀芯沿着密封环上的导向斜面穿设过密封环后,其弧形面与阀座上的阀圈相抵触,其密封斜面一与密封环上的密封斜面二相抵触密封.改进后,提升了阀门的密封性能,使其不易发生泄漏的情况. 是由阀体、阀瓣、阀杆、定位螺钉、密封圈、气行程机构或电装机构等组成。其原理通过阀杆推动阀瓣上行而下降,从而达到开启与关闭的目的。上展式当手轮顺转,阀杆上行,阀门关闭;下展式当手轮逆转,阀杆下降,阀门关闭 FL641H气动下展式放料阀特点与用途: 1、本阀操作简便,运动灵活可靠。 2、阀瓣装置维修简单,密封结构合理,密封圈更换方便实用。 3、本阀门广泛应用于石油、冶金、化工、造纸更工业领域(化学液体、煤浆、矿浆等输送启闭放料用)。 4、其特点是沉淀于反应釜,储藏罐或管道里的化学液体或浆料得于顺畅流通。该系列产品已被大型化工公司广泛采用,性能良好,经久耐用,用户反应良好。 FL641H气动下展式放料阀技术实现要素: 针对现有技术存在的不足,本实用新型的目的在于提供一种密封性能好,结构紧凑的下展式放料阀。为实现上述目的,本实用新型提供了如下技术方案:一种气动下展式放料阀,包括阀体、阀杆和阀座,阀体包括进料口、倾斜设置的出料口,以及与进料口连通的通道,在进料口对应的下端设有与阀体旋接的阀杆,阀杆位于通道内,在阀杆顶部设有阀芯,在阀座上连接有与阀芯上顶面相匹配的阀圈,阀杆向上顶紧阀芯与阀座由阀圈密封,所述阀杆与阀芯一体成型,所述阀芯的端面具有弧形面,阀芯的两侧具有密封斜面一,所述阀杆的横截面小于阀芯的横截面,所述通道接近阀座一端的内壁上设有具有弹性的密封环,所述密封环的内环壁上具有导向斜面和密封斜面二,所述阀芯沿着密封环上的导向斜面穿设过密封环后,其弧形面与阀座上的阀圈相抵触,其密封斜面一与密封环上的密封斜面二相抵触密封。 本实用新型进一步设置为:所述通道远离进料口的一端内壁上设有内凹的环形槽,所述环形槽的首尾两端设有密封圈,在两个密封圈之间填充有吸水棉。本实用新型进一步设置为:所述阀圈上设有与弧形面相吻合的楔形斜面,所述楔形斜面上设有覆有密封垫片。 通过采用上述技术方案,阀芯在与阀座抵触密封时,还将与密封环形成密封,使得阀门在关闭时,形成两道密封,提升整体阀门的密封性能,房子无聊泄漏的情况。同时将阀芯的结构改进,使其结构更加紧凑,减小体积,在运动的过程中,能减少振动,阀芯与阀杆为一体设置,使两者的结构强度更高。 上展式放料阀和下展式放料阀区别: 放料阀主要用于储料罐、反应釜及其他容器的底部排放物料,阀门采用法兰或对接焊与设备连接并位于其底部,消除了工艺介质通常在容器出口的残留现象。根据实际情况的需要分为上展式、下展式、柱塞式三种结构形式;上展式用于有搅拌器(除框式锚式)的反应釜放料;而下展式、柱塞式用于框式锚式搅拌器的反应釜放料。密封面采用耐冲刷、耐腐蚀材料,并进行特殊处理,使表面硬度达到HRC48~52,具有高耐磨、耐腐蚀的功能,保证了阀门的密封可靠性。广泛使用在化工、石油、冶金、制药、染料、食品加工等行业。 以上所述仅是本实用新型的优选实施方式,本实用新型的保护范围并不仅局限于上述实施例,凡属于本实用新型思路下的技术方案均属于本实用新型的保护范围。应当指出,对于本技术领域的普通技术人员来说,在不脱离本实用新型原理前提下的若干改进和润饰,这些改进和润饰也应视为本实用新型的保护范围。 
  FL641H气动下展式放料阀主要零件材质零件名称 ZG1Cr18Ni9Ti系列 ZG00Cr18Ni10系列 ZG1Cr18Ni12MO 2 Ti系列 ZG00Cr17Ni14MO 2 系列 WCB系列 阀体/阀盖 ZG1Cr18Ni9Ti ZG00Cr18Ni10 ZG1Cr18Ni12MO 2 Ti ZG00Cr17Ni14MO 2 WCB 阀杆 ZG1Cr18Ni9Ti ZG00Cr18Ni10 ZG1Cr18Ni12MO 2 Ti ZG00Cr17Ni14MO 2 WCB 阀瓣 ZG1Cr18Ni9Ti ZG00Cr18Ni10 ZG1Cr18Ni12MO 2 Ti ZG00Cr17Ni14MO 2 WCB 垫片 304+PTFE 304L+PTFE 316+PTFE 316L+PTFE 石墨+304 螺柱 1Cr17Ni2 1Cr17Ni2 1Cr17Ni2 1Cr17Ni2 35CrMoA 螺母 1Cr18Ni9Ti 1Cr18Ni9Ti 1Cr18Ni9Ti 1Cr18Ni9Ti 45 FL641H气动下展式放料阀外形结构图FL641H气动下展式放料阀主要外形尺寸(上展式)DN d D D1 D2 D3 D4 D5 D6 25 25 115 85 65 115 85 60 40 32 32 135 100 78 135 100 65 45 40 40 145 110 85 145 110 80 60 50 50 160 125 100 160 125 85 70 65 65 180 145 120 180 145 125 85 80 80 195 160 135 195 160 135 95 100 100 215 180 155 215 180 160 130 125 125 245 210 185 245 210 180 140 150 150 280 240 210 280 240 185 165 200 200 335 295 265 335 295 255 230 主要外形尺寸(下展式)DN d D D1 D2 D3 D4 D5 D6 25 25 115 85 65 135 100 75 55 32 32 135 100 78 145 110 80 57 40 40 145 110 85 160 125 100 65 50 50 160 125 100 180 145 125 70 65 65 180 145 120 195 160 135 90 80 80 195 160 135 215 180 155 130 100 100 215 180 155 245 210 195 135 125 125 245 210 185 280 240 180 145 150 150 280 240 210 335 295 215 185 200 200 335 295 265 405 355 300 220 250 250 405 355 320 460 410 350 240 
  
 本实用新型公开了一种气动下展式放料阀,包括阀体、阀杆和阀座,阀体包括进料口、倾斜设置的出料口,以及通道,在进料口对应的下端设有与阀体旋接的阀杆,阀杆位于通道内,在阀杆顶部设有阀芯,在阀座上连接有阀圈,阀杆向上顶紧阀芯与阀座由阀圈密封,阀杆与阀芯一体成型,阀芯的端面具有弧形面,阀芯的两侧具有密封斜面一,阀杆的横截面小于阀芯的横截面,通道接近阀座一端的内壁上设有具有弹性的密封环,密封环的内环壁上具有导向斜面和密封斜面二,阀芯沿着密封环上的导向斜面穿设过密封环后,其弧形面与阀座上的阀圈相抵触,其密封斜面一与密封环上的密封斜面二相抵触密封。改进后,提升了阀门的密封性能,使其不易发生泄漏的情况。FL641H气动下展式放料阀使用说明: 
 ①放料阀安装前,应取下出口端封头,检查阀内腔及阀瓣、阀座和阀杆等内件是否有污物附着,擦洗阀瓣和阀座两密封面;②按设计的连接方式将放料阀固定在管路上,固接时不应使阀体承受较大的拉、压、弯曲或扭曲应力; ③放料阀操作即是开启和关闭,对手动放料阀,手轮上标出启闭方向指示箭头和文字,在阀上同时设置开度指示器,顺时针方向旋转手轮,放料阀关闭,逆时针方向旋转手轮,则放料阀开启,开度指示器可指明放料阀的启闭状态; ④关闭时应用力关紧,以防止内漏,不允许在阀内带压状态下更换填料,但可适当压缩填料; ⑤开启初和关闭终时所需启闭力矩较大,启闭放料阀时只允许一个人双手握住手轮边缘用力旋转手轮,绝不允许使用杠杆或其它工具增大启闭力矩,以防止损坏手轮、阀杆或阀杆螺母等零部件; 
  订货须知: 一、①产品名称与型号②口径③是否带附件以便我们的为您正确选型④的使用压力⑤的使用介质的温度。 
 二、若已经由设计单位选定公司的型号,请按型号直接向我司销售部订购。三、当使用的场合非常重要或环境比较复杂时,请您尽量提供设计图纸和详细参数,由我们的阀门公司专家为您审核把关。如有疑问:请:我们一定会尽心尽力为您提供优质的服务。提供全面、*的“阀门系统解决方案",也十分愿意帮助用户解决生产中所遇到的难题。 
- 
- 留 言- 联系人:申弘阀门
- 电 话:021-59260058
- 手 机:15901754341
- 传 真:86-021-31662735
- 邮 箱:494522509@qq.com
- 邮 编:201718
- 地 址:上海市青浦区金泽工业园区
- 网 址:	      https://bengye.cn.goepe.com/	      	        
 http://www.021-fm.com
 
- 
产品搜索











 
														 
														 
														 
														 
														 
														 
														 
														 
														 
														 
														