-
V230Y直接作用活塞型自力式调节阀申弘
详细信息| 询价留言V230Y直接作用活塞型自力式调节阀 产品说明
在工厂蒸汽管道上应用的几个关键点由于工厂生产工艺的需要,蒸汽是必不可少的工艺介质,需要从电厂输入蒸汽,因电厂到工厂的距离较远存在压力波动较大的情况以及工厂在实际使用的流量波动范围较大,因此在进入工厂的蒸汽主管道压力进行减压稳压。自力式压力调节阀在工业上广泛应用,是一种无需外来资源,只需要被测自身压力、温度或者流量的变化,设定预先的值就能自动调节的一种控制装置,这是一种节能型的仪表,具有控制执行等多功能的仪表控制系统。它的种类可分为自力式压力(微压)调节阀、自力式(压差)流量调节阀、自力式温度调节阀。适用于城市供热、供暧及没有供电、供气又需控制的场合。
阀后稳压直接作用式自力式调节阀(又称自力式减压阀),该阀是无需任何外加能源,利用被调介质自身能量而实现的执行器产品。该产品 特点,能在无电、无气的场所工作,同时又节约了能源,压力设定值在运行中可随意调整。采用快开流量特性。动作灵敏,密封性能好。压力设定值在运行期间可连续设定。对阀后压力调节,阀前压力与阀后压力之比可为10:1~10:8。因而它广泛应用于石油、化工、电力、冶金、食品、轻纺、机械制造与居民建筑楼群等各工业设备中用气体、液体及蒸汽介质减压、稳压(用于阀后调节)或泄压稳压(用于阀前调节)的自动控制。城市供热、供暖系统采用该产品,热效率比以前提高30%~40%。节能*。
下面就自力式压力调节阀的原理进行简单的概述。
采用阀后稳压直接作用式自力式调节阀,因简单方便,维护量小,特别是能适用在无电无气及防爆的场合,因此在蒸汽减压稳压的系统中得到了广泛的应用,见以下特点:
1.自力式蒸汽减压阀压力设定点可在压力调节范围内现场调节;
2.自力式蒸汽减压阀阀体部分与执行机构采用模块化设计,可根据现场要求变化更改执行机构或弹簧,实现压力调节范围在一定范围内快速更换;
3.ZZYP自力式压力调节阀一般采用波纹管作为压力平衡元件,阀前、后压力变化不影响阀芯的受力情况,大大加快阀门的响应速度,从而提高阀门的调节精度;
4.ZZYM自力式压力套筒调节阀采用了自平衡型双密封面阀芯作为节流件,介质应清洁无颗粒状杂质,适用于压降较大,阀门口径不大,泄漏量要求不高的场合;
5.ZZYN型自力式双座调节阀采用了自平衡型双密封面双座阀芯作为节流元件,适用于阀门口径较大的场合;
6.自力式蒸汽减压阀膜片式执行机构采用橡胶膜片作为压力检测元件,刚度小,灵敏度高,反应迅速,调节精度高,适用于控制压力≤0.6MPa;
7.自力式蒸汽减压阀活塞式执行机构采用气缸活塞作为压力检测元件,适用于控制压力较高的场合,压力设定值≥0.6MPa;
8.自力式蒸汽减压阀波纹管执行机构采用波纹管作为压力检测元件,适用于高温等较恶劣工况的场合。
三、V230Y直接作用活塞型自力式调节阀特点:
◇ 自力式压力调节阀无需外加能源,能在无电无气的场所工作,既方便又节约了能源。
◇ 压力分段范围细且互相交叉,调节精度高。
◇ 压力设定值在运行期间可连续设定。
◇ 对阀后压力调节,阀前压力与阀后压力之比可为10:1~10:8。
◇ 橡胶膜片式检测,执行机构测精度高、动作灵敏。
◇ 采用压力平衡机构,使调节阀反应灵敏、控制精确。
压力调节范围确定:
压力调节范围分段,见主要参数及性能指标表,控制压力应尽量选取在调节范围中间值附近。
阀后压力调节阀,其阀前压力与阀后压力的关系:
自力式调节阀门本身是一个调节系统,阀本身又有一定的压降要求,对阀后压力调节阀(B型),为保证阀后压力在一定范围内,其阀前压力必须达到一定值。
整机作用方式确定:
阀前压力调节阀(K型)其初始位置的阀芯在关闭位置,当阀前压力逐渐升高,阀逐渐打开,直至阀前压力稳定在要求的给定值。
阀后压力调节阀(B型)其初始位置的阀芯在开启位置,当阀门压力逐渐升高,阀逐渐关闭,直至阀后压力稳定在要求的给定值。

V230Y直接作用活塞型自力式调节阀产品特点
◆型号、规格别
压力控制调节阀
差压控制调节阀
阀后压力调节阀
阀前压力调节阀
差压上升阀关闭
差压上升阀开启
硬密封
软密封
硬密封
软密封
硬密封
软密封
硬密封
软密封
型号
V230 D01
V230D01
V230D02
V231D02
V230D03
V231D03
V230D04
V231D04
规格
DN15-250
三、V230Y直接作用活塞型自力式调节阀技术参数温度调节阀
公称通径 mm
15
20
25
32
40
50
65
80
100
125
150
200
250
额定流量系数 Kvs
3.2
5
8
12.5
20
32
50
80
125
160
320
450
630
公称压力 MPa
1.6 ; 4.0
Z 值
0.6
0.6
0.6
0.55
0.55
0.5
0.5
0.45
0.4
0.35
0.3
0.2
0.2
压力平衡元件
波纹管
滚动膜片
法 兰 标 准
DIA (亦可按用户要求提供法兰标准)
阀 体 材 质
PN16 :铸铁(工作温度≤ 200 ℃);
PN4.0 :铸钢、铸不锈钢(工作温度≤ 350 ℃)
阀 芯 材 质
不锈钢;软密封为不锈钢镶嵌橡胶圈
高工作压力 MPa
公称压力(注意△ Pmax 及工作压力与工作温度的关系)
注:
1、液体>140℃、气体>80 ℃时阀倒装;
2、Z值:噪音衡量系数,该值用来衡量噪音大小,具体计算详见自力式调节阀选择指南。

四、V230Y直接作用活塞型自力式调节阀规格重量
◆自力式压力调节阀尺寸及重量
公称通径 mm
20
25
32
40
50
65
80
100
125
150
200
250
L mm
150
160
180
200
230
290
310
350
400
480
600
730
B mm
212
238
238
240
240
275
275
380
380
295
325
372
大约重量 kg
6.7
9.7
13
14
17
29
33
60
70
80
140
220
D02(D04)执行器尺寸及重量
有效面积 cm 2
32
80
250
630
D mm
172
172
263
380
H mm
435
430
470
520
大约重量 kg
7.5
7.5
13
28
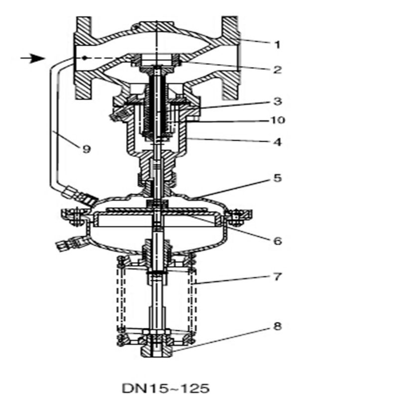
自力式阀后压力调节的工作原理:总有阀后、阀前控制两种,阀前压力P1经过阀芯、阀座的节流后,变为阀后压力P2。P2经过管线输入上膜室内作用在顶盘上,产生的作用力与弹簧的反作用力相平衡,决定了阀芯、阀座的相对位置,控制阀后压力。

当P2增加时,P2作用在顶盘上的作用力也随之增加。此时,顶盘上的作用力大于弹簧的反作用力,使阀芯关向阀座的位置。这时,阀芯与阀座之间的流通面积减少,流阻变大,P2降低,直到顶盘上的作用力与弹簧反作用力相平衡为止,从而使P2降为设定值。同理,当P2降低时。作用方向与上述相反,这就是阀后压力调节的工作原理。 关于自力式压力调节阀的应用也非常的广泛,突出方面在黏度较高的介质中的应用。
是一个新的调节阀种类。相对于手动调节阀,它的优点是能够自动调节;相对于电动调节阀,它的优点是不需要外部动力。应用实践证明,在闭式水循环系统(如热水供暖系统、空调冷冻水系统)中,正确使用这种阀门,可以很方便地实现系统的流量分配;可以实现系统的动态平衡;可以大大简化系统的调试工作;可以稳定泵的工作状态等。自力式调节阀的优点很多,所以越来越受到广大客户的青睐,但是要使产品作用得到更好的发挥,V230Y直接作用活塞型自力式调节阀那么在安装时,我们需要注意以下几点。

1、自力式调节阀在气体或低粘度液体介质中使用时,通常ZZY型自力式压力调节阀为直立安装在水平管上,当位置空间不允许时才倒装或斜装。
2、为便于现场维修及操作,自力式调节阀四周应留有适当空间。
3、当介质为洁净气体或液体时,自力式调节阀前过滤器可不安装。
4、调压阀通径过大(DN≥100 时),应有固定支架当确认介质很洁净时,件3可不安装。
5、位置实在不允许时,旁通阀(手动)可以省略(我们不推荐) 。
6、自力式调节阀组后根据需要用户可选配止回阀、安全阀等。
7、自力式调节阀在蒸汽或高粘度液体介质中使用时,通常ZZY型自力式压力调节阀为倒立安装在水平管上,冷凝器(蒸汽用自力式)应高于调压阀的执行机构而低于阀前后接管。使用前冷凝器应灌满冷水,以后约3个月灌水一次。

订货须知:
一、①产品名称与型号②口径③是否带附件以便我们的为您正确选型④的使用压力⑤的使用介质的温度。
二、若已经由设计单位选定公司的型号,请按型号直接向我司销售部订购。三、当使用的场合非常重要或环境比较复杂时,请您尽量提供设计图纸和详细参数,由我们的阀门公司专家为您审核把关。如有疑问:请:我们一定会尽心尽力为您提供优质的服务。提供全面、*的“阀门系统解决方案",也十分愿意帮助用户解决生产中所遇到的难题。
-
联系方式
- 联系人:申弘阀门
- 电 话:021-59260058
- 手 机:15901754341
- 传 真:86-021-31662735
- 邮 箱:494522509@qq.com
- 邮 编:201718
- 地 址:上海市青浦区金泽工业园区
- 网 址: https://bengye.cn.goepe.com/
http://www.021-fm.com
-
产品搜索







