-
PID气动压力调节阀申弘
详细信息| 询价留言PID气动压力调节阀产品说明
本发明涉及一种用于对调节压力进行调节的压力调节阀,其包括一 个调节膜片,该调节膜片由一个调节弹簧和所述调节压力保持力平衡。是一种压力平衡式调节阀,采用笼式套筒导向、双密封结构,配用多弹簧气动薄膜执行机构,执行机构高度低、重量轻、装备简便。气动压力调节阀阀芯采用笼式套筒阀芯,将气源压力变换为阀芯的直线位移,自动的控制调节阀开度,达到对管道内流体的压力连续调节。气动压力调节阀具有结构紧凑、重量轻、动作灵敏、压降损失小、阀容量大、流量特性精确、维护方便等优点。整体具有工作平稳、允许压差大、流量特性精确噪音低等特点。特别适用于允许泄露小、阀前后压差较大的工作场合。气动压力调节阀是一种压力平衡式调节阀,采用笼式套筒导向、双密封结构,配用多弹簧气动薄膜执行机构,执行机构高度低、重量轻、装备简便。将气源压力变换为阀芯的直线位移,自动的控制调节阀开度,达到对管道内流体的压力连续调节。气动压力调节阀整体具有工作平稳、允许压差大、流量特性精确噪音低等特点。特别适用于允许泄露小、阀前后压差较大的工作场合。

PID气动压力调节阀主要特点如下:
(1) 采用轻型执行机构,高度及重量均可减小30%。
(2) 阀体内表面有多种材料涂复层,避免介质直接接触,承受强阀腐蚀性介质的腐蚀。
(3) 阀门关闭时,内、外泄漏量为零,特别适合于剧毒介质或不允许污染介质的阀节。
(4) 流路简单,阻力小,额定流量系数比同口径单座,套筒调节阀大。

PID气动压力调节阀背景技术:
这样的气动的压力调节阀是一般公知的并且用于与输入的压力介质 的压力波动无关地调节恒定的调节压力。气动压力调节阀具有可靠的动作特性,微小的阀座泄漏、的流量特性、宽大的可调范围等特点。气动压力调节阀必将以独特的优点在广泛应用中取得高质量的控制效果。气动压力调节阀是由多弹簧气动薄膜执行机构和低流阻精小型单座调节阀阀体组成,多弹簧执行机构高度低、重量轻、装备简便。台臣阀门气动压力调节阀配以阀门定位器,将电流信号转变成相对应的直线位移,自动地控制调节阀开度,达到对管道内流体的压力、流量、温度、液位等工艺参数的连续调节。气动压力调节阀广泛应用于控制气体、液体、蒸汽等介质,特别适用于允许压差小,而允许泄漏量也较小压差不大的工作场合。

PID气动压力调节阀原理:
气动压力调节阀是一种压力平衡式调节阀,采用笼式套筒导向、双密封结构,配用多弹簧气动薄膜执行机构,执行机构高度低、重量轻、装备简便。气动压力调节阀阀芯采用笼式套筒阀芯,将气源压力变换为阀芯的直线位移,自动的控制调节阀开度,达到对管道内流体的压力连续调节。上海台臣气动压力调节阀具有结构紧凑、重量轻、动作灵敏、压降损失小、阀容量大、流量特性、维护方便等优点。整体具有工作平稳、允许压差大、流量特性噪音低等特点。特别适用于允许泄露小、阀前后压差较大的工作场合。

PID气动压力调节阀结构:
气动压力调节阀流道呈流线型,选用进口MA43系列平衡密封环。整体具有工作平稳、允许压差大、流量特性、噪音低等特点。特别适用于允许泄漏小、阀前后压差较大的工作场合。气动压力调节阀有标准型、散热型、低温型、调节切断型、波纹管密封型等多种型式。产品公称压力等级有PN(MPa)1.6、4.0、6.4、10.0;阀体口径范围DN(mm)20~250;适用流体温度-150~+250℃范围内多种档次;泄漏量标准有Ⅳ级、Ⅴ级、Ⅵ级;流量特性有直线、等百分比。多种品种规格可供选择。

PID气动压力调节阀主要技术参数
● 阀体
阀体形式 直通铸造球型阀 公称通径 DN20~300mm 公称压力 PN1.6、2.5、4.0、6.4MPa 法兰标准 GB/T9113、 JB/T79 连接形式 法兰(FF RF RTJ)、焊接(SW BW)、螺纹(适用于1″以内) 阀盖形式 标准型-17~+230℃、高温型+230~+450℃、低温型-60~-196℃、波纹管密封型-40~+350℃ 压盖型式 螺栓压紧式 密封填料 V型聚四氟乙烯填料、含浸聚四氟乙烯石棉填料、石棉纺织填料、石墨填料 ● 阀内件
阀芯形式 笼式套筒型阀芯 流量特性 线性、等百分比 ● 执行机构及附件、作用形式
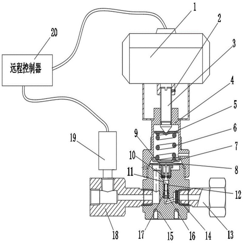
执行器型式 ZHA/B多弹簧簿膜执行机构 执行器型号 ZHA/B-22 ZHA/B-23 ZHAB-34 ZHA/B-45 ZHA/B-56 有效面积(cm2) 350 350 560 900 1400 行程(mm) 10、16 25 40 40、60 100 弹簧范围(KPa) 20~100(标准)、20-60、60-100、40-200、80-240 膜片材料 丁腈橡胶夹尼龙布、乙丙橡胶夹尼龙布 供气压力 140~400KPa 气源接口 RC1/4" 环境温度 -30~+70℃ 可配附件 定位器、空气过滤减压器、保位阀、行程开关、阀位传送器、手轮机构等 作用形式 气关式(B)—失气时阀位开(FO);气开式(K)—失气时阀位关(FC) ■ PID气动压力调节阀主要零件材料及结构图
1 阀体 WCB CF8 CF8M CF3M 2 垫片 PTFE/金属石墨垫片 3 阀笼 304 304 316 316L 4 阀芯 304 304 316 316L 5 导向套 304 304 316 316L 6 阀盖 WCB CF8 CF8M CF3M 7 阀杆 304 304 316 316L 8 填料 PTFE/柔性石墨 9 弹簧 65Mn 304 316 316L 10 螺母 304 304 316 316L ■ PID气动压力调节阀主要性能指标
项目 不带定位器 带定位器 基本误差% ±5.0 ±1.0 回差% ≤3.0 ≤1.0 死区% ≤3.0 ≤0.4 始终点偏差% 气开 始点 ±2.5 ±1.0 始点 ±5.0 ±1.0 气关 始点 ±5.0 ±1.0 终点 ±2.5 ±1.0 额定行程偏差% ≤2.5 泄露量L/h 0.01%×阀额定容量 可调范围R 30:1 ■ 额定流量系数Kv、额定行程、配用执行器型号
公称通径 DN(mm) 20 25 32 40 50 65 80 100 125 150 200 250 300 阀座直径 dN(mm) 20 25 32 40 50 65 80 100 125 150 200 250 300 额定流量系数KV 直线 10 11 17.6 27.5 44 69 110 176 275 440 630 1000 1600 等百分 6.3 10 16 25 40 63 100 155 250 370 580 900 1300 额定行程(mm) 16 25 40 60 100 配用执行器型号 ZHA/B-22 ZHA/B-23 ZHA/B-34 ZHA/B-45 ZHA/B-56 ■ PID气动压力调节阀主要外形及连接尺寸
公称通径 DN(mm) 20 25 32 40 50 65 80 100 125 150 200 250 300 L PN16/25 181 184 200 222 254 276 298 352 410 451 550 640 880 PN40 194 197 200 235 267 292 317 368 425 473 640 760 910 PN64 206 200 210 251 286 311 337 394 440 508 670 810 950 H PN16/25 52.5 57.5 75 75 85.5 92.5 100 110 142.5 158 170 195 230 PN40 52.5 57.5 75 75 82.5 92.5 100 117.5 150 167.5 187.5 205 245 PN64 65 40 85 85 90 102.5 107.5 125 172.5 195 207.5 230 260 H1 132 132 158 170 179 214 221 234 270 294 331 390 450 H2 298 298 298 298 298 380 380 380 510 510 510 650 650 H3 180 180 180 180 180 236 236 236 310 310 310 380 380 L1 280 280 280 280 280 350 350 350 475 475 475 560 560 A 282 282 282 282 282 360 360 360 470 470 470 580 580 C 220 220 220 220 220 270 270 270 320 320 320 400 400 注:表中尺寸为不带标准附件数据。另由于产品改进技术创新参数可能有一定变化,请咨询公司技术部门索取*新数据。

气动的压力调节阀,其通流量与压力 有关地可以自动地改变,其包括一个调节膜片,该调节膜片由基准压力、 气体压力以及调节弹簧加载,因此在压力差改变时调节膜片被移动并且 该调节膜片本身或者被其操作的关闭体改变通过排流横截面的通流量, 并且在膜片侧邻接于排流横截面的结构构成一个用于调节膜片或用于关 闭体在其关闭位置上的止挡。在此设定,在压力调节阀中设置至少一个 前置止挡,使得在调节膜片朝关闭方向运动时调节膜片或关闭体首先与 前置止挡接触,并且在调节膜片朝关闭方向继续运动时调节膜片或关闭 体然后在弹性-柔性变形或继续的弹性-柔性变形的情况下继续缩小通 流量并且在终端位置也与止挡接触。

PID气动压力调节阀安装知识:
(1)气动压力调节阀安装位置,距地面要求有一定的高度,阀的上下要留有一定空间,以便进行阀的拆装和修理。对于装有气动阀门定位器和手轮的调节阀,必须保证操作、观察和调整方便。
(2)调节阀应安装在水平管道上,并上下与管道垂直, 一般要在阀下加以支撑,保证稳固可靠。对于特殊场合下,需要调节阀水平安装在竖直的管道上时,也应将调节阀进行支撑(小口径调节阀除外)。安装时,要避免给调节阀带来附加应力)。
(3)调节阀的工作环境温度要在(-30~+ 60) 相对湿度不大于95% 95% ,相对湿度不大于95%。
(4)调节阀前后位置应有直管段,长度不小于10倍的管道直径(10D),以避免阀的直管段太短而影响流量特性。
(5)调节阀的口径与工艺管道不相同时,应采用异径管连接。在小口径调节阀安装时,可用螺纹连接。 阀体上流体方向箭头应与流体方向一致。
(6)要设置旁通管道。目的是便于切换或手动操作, 可在不停车情况下对调节阀进行检修。
(7)气动压力调节阀在安装前要彻底清除管道内的异物,如污垢、焊渣等。

推杆穿过控制阀的空心的阀活塞以及穿过控制阀的阀盘中的 孔。空心阀活塞的背离控制阀的端部构成卸载阀的阀盘的阀座。一种气动的压力调节阀,其i殳置在气 体导管的路径中,该气体导管的通流量可以借助于压力调节阀与一个或 多个施加在压力调节阀的至少一个入口上的气体压力之间的压力差相关 地自动改变。在此在压力调节阀中设置一个调节膜片,其一方面由一个 基准压力加载,另一方面由气体压力以及调节弹簧加载。

订货须知:
一、①产品名称与型号②口径③是否带附件以便我们的为您正确选型④的使用压力⑤的使用介质的温度。
二、若已经由设计单位选定公司的型号,请按型号直接向我司销售部订购。三、当使用的场合非常重要或环境比较复杂时,请您尽量提供设计图纸和详细参数,由我们的阀门公司专家为您审核把关。如有疑问:请:我们一定会尽心尽力为您提供优质的服务。提供全面、*的“阀门系统解决方案",也十分愿意帮助用户解决生产中所遇到的难题。
-
留 言
- 联系人:申弘阀门
- 电 话:021-59260058
- 手 机:15901754341
- 传 真:86-021-31662735
- 邮 箱:494522509@qq.com
- 邮 编:201718
- 地 址:上海市青浦区金泽工业园区
- 网 址: https://bengye.cn.goepe.com/
http://www.021-fm.com
-
产品搜索







