-
ZZYP自力式衬氟调节阀申弘
详细信息| 询价留言ZZYP自力式衬氟调节阀 产品说明
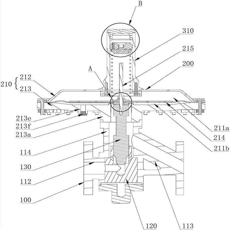
本实用新型公开了一种衬氟自力式调节阀,包括阀体、阀芯、套筒、波纹管、阀盖、弹簧、弹簧座和调节螺钉,所述套筒压入阀体的上部且通过阀盖和螺栓进行固定,所述套筒与阀杆连接处的下部通过波纹管组件进行密封,上部通过四氟乙烯填块进行密封。该调节阀结构简单,安装使用方便,成本低,通过多层密封设置提高了调节阀的密封性能,并且通过独特的套筒设计,使得调节阀的调节灵敏度显著提升,提高了调节阀的使用寿命和使用效果。现有技术中的自力式衬氟压力调节阀由于使用时会出现阀芯受力完全封闭衬氟阀体内液体通道的隐患,造成一定损失,同时调节阀控制液体流速的灵敏程度也关乎着调节阀的使用寿命。如果能够发明一种调节阀在液体流速剧增时,阀芯保证不会完全封闭衬氟阀体内的通道就能解决问题,为此我们提供了一种自力式衬氟压力调节阀。

ZZYP自力式衬氟调节阀产品特点
1、压力设定点可在压力调节范围内现场调节;
2、阀体部分与执行机构进行模块化设计,可根据现场要求变化更改执行机构或弹簧,实现压力调节范围在一定范围内快速更改;
3、ZPL610P型自力式压力单座调节阀一般采用波纹管作为压力平衡元件,阀前后压力变化不影响阀芯的受力情况,大大加快阀门的响应速度,从而提高阀门的调节精度。当小口径时无须波纹管作为压力平衡元件;
4、ZPL610M自力式压力套筒调节阀采用了自平衡型双密封面套筒作为节流件,介质需清洁无颗粒状杂质,适用于压降较大,阀门口径不大(DN20~200)—般无需关闭的场合。只适用于控制阀后压力工况;
5、ZPL610N自力式压力双座调节阀采用了自平衡型双密封双阀芯作为节流件,适用于阀门口径较大的场合;
6、阻流器结构,用于降低流体流速和降低噪声的作用;
7、活塞式平衡用于压差较大,被控介质对橡胶无腐蚀性,温度不高的场合;
8、膜片式执行机构采用橡胶膜片作为检测元件,阻力小,反应迅速,调节精度高。适用于压力设定值≤0.6MPa;
9、活塞式执行机构采用气缸活塞作为检测元件,橡胶作为密封件,适用于控制压力较高的场合,适用于压力设定值≥0.6MPa;
10、波纹管执行机构采用波纹管作为检测元件,适用于高温(工作介质不能用隔离液场合)、低温、被控介质对橡胶件有腐蚀性及禁油等 较恶劣工况的场合;
11、当介质为蒸汽时,若采用薄膜式和活塞式执行机构时,需带冷凝罐,以降低执行机构内工作介质的温度,保护膜片或密封件;
12、导压管上的截止阀作为附件,阀门在工作前关闭此截止阀,以防止杂质进入执行机构,保护执行机构内的膜片和密封件,及超设定 压力而产生阀门打坏现象。
ZZYP自力式衬氟调节阀技术实现要素:
本实用新型的目的在于提供一种自力式衬氟压力调节阀,以解决上述背景技术中提出的问题。为实现上述目的,本实用新型提供如下技术方案:一种自力式衬氟压力调节阀,包括衬氟阀体,所述衬氟阀体上端连接有阀盖,所述阀盖上端连接有调节装置,所述调节装置上端连接有转柄,所述阀盖内贯穿有阀杆,所述阀杆上端穿过阀盖且与调节装置连接,所述阀杆位于阀盖内的部分表面上设置有密封板,所述密封板将阀盖分割成上下两个腔室,上部为空腔,下部为液体腔且液体腔连接到衬氟阀体的内部,
优选的,所述固定圆板、升降装置和固定圆筒的中轴线共线,所述固定圆板的侧面和固定圆筒的外侧面共面。
优选的,所述螺母的上底面与圆滑板的下底面滑动连接,所述螺母与升降柱水平方向上保持一定距离。
1.该装置通过旋转转柄,经过调节装置和阀杆传动控制阀芯的上升高度,即保证阀芯上升时不会彻底封闭衬氟阀体内的通道,造成意外损失,同时可以任意控制阀芯的上升高度,即衬氟阀体内液体流速剧增时,可以控制*小多少流出衬氟阀体的液体流速,提高了整个装置的稳定性;
2.该装置通过用工具旋转螺母,使圆滑板上升或下降,进而控制弹簧收缩状态,控制弹簧弹性状态,即控制弹簧的灵敏度,当衬氟阀体内液体流速剧变时,阀芯控制衬氟阀体内的液体流速的灵敏程度可以被提前调整好,提高了整个调节阀的实用性。
尽管已经示出和描述了本实用新型的实施例,对于本领域的普通技术人员而言,可以理解在不脱离本实用新型的原理和精神的情况下可以对这些实施例进行多种变化、修改、替换和变型,本实用新型的范围由所附权利要求及其等同物限定。

ZZYP自力式衬氟调节阀氟材料主要有7类,具体如下:
1、聚氯乙烯: 硬质)PVC :适用耐水,浓碱,非氧化性酸,链烃,油和臭氧等。使用温度:0-55。特点:机械强度较高,化学稳定性及介电性能优良,耐油性和抗老性也较好,易熔接及粘合,价格较低。
2、聚丙烯 RPP :适用无机盐类的水溶液,无 机 酸类,碱类的稀或浓溶液。使用温度:-14~80。特点:*轻的塑料之一,其屈服,拉伸和压缩强度,硬度均优于低压聚乙烯,有很突出的刚性,耐热性好,易成型,优廉。改性后动击性,流动性,弯曲弹性。
3、聚三氟乙烯 PCTEF (F3) :适用各种有机溶剂,无机腐蚀液(氧化性酸类)。使用温度:-195~120。特点:耐热性,电性能和化学稳定性仅次于F4,机械强度,蠕变性能,硬度比F4好些。
4、聚四氯乙烯 PTFE(F4) :使用介质:强酸,强碱,强氧化剂等。使用温度:-200~180。特点:具有优异的化学稳定性,有很高的耐热性,耐寒性,摩擦系数很低,是极好的 自润滑材料,但机械性能较低,流动性差,热膨胀大。
5、聚全氟乙烯 FEP (F46) :适用任何有机溶剂或试剂,稀或浓无 机 酸,碱,酮,芳烃,氯化烃等。使用温度:-85~150。特点:力学,电性能和化学稳定性基本与F4相同,但突出优点是动击韧性高,有极好的耐候性和辐射性。
6、聚偏氯乙烯 PVDF(F2) :使用介质:耐大多数化学药品和溶剂。使用温度:-70~100。特点:拉绅强度与压缩强度比F4好,耐弯折,耐候,耐辐射。耐光和老化等,*大特点是韧性好,易成型。
7、聚烯烃 PO :适用各种浓度的酸碱盐及某些有机溶剂。使用温度:-58~80。特点:是目前世界*理想的防腐材料,已广泛用于旋转成型的大型设备和管道件内衬。

ZZYP自力式衬氟调节阀主要零件材料
材料代号 C(WCB) P(304) R(316) 主要
零件阀体 WCB(ZG230-450) ZG1Cr18Ni9Ti(304) ZG1Cr18Ni12Mo2Ti(316) 阀芯、阀座 1Cr18Ni9Ti(304) 1Cr18Ni9Ti(304) 1Cr18Ni12Mo2Ti(316) 阀杆 1Cr18Ni9Ti 1Cr18Ni9Ti 1Cr18Ni12Mo2Ti 膜片 丁睛橡胶、乙丙橡胶、氯丁胶、耐油橡胶 膜盖 A3、A4钢涂四氟乙烯 填料 聚四氟乙烯、柔性石墨 弹簧 60Si2Mn 导向套 HPb59-1 公称通径DN(mm) 20 25 32 40 50 65 80 100 125 150 200 额定流量系数Kv 额定行程(mm) 8 10 14 20 25 40 50 允许压差(MPa) 2.5 2.0 1.6 1.0 公称压力(MPa) 1.6 4.0 6.4 流量特性 快开 压力调节范围(KPa) 15~50、40~80、60~100、80~140、120~180、160~220、200~260、240~300、
280~350、330~400、380~450、430~500、480~560、540~620、600~700、680~800 780~900、880~1000、600~1500、1000~2500调节精度(%) ±5 工作温度℃ 液体≤120;气体≤80;带冷凝器和散热片≤350(适用于高温工况) 适用介质 执水、气体、蒸汽、低粘度介质 允许泄漏量 硬密封(L/h) 单座≤10-4×阀额定容量(IV级);双座、套筒≤5×10-3阀额定容量(II级 软密封(ml/min) 0.15 0.30 0.45 0.60 0.90 1.7 4.0 6.75 减压比 *大 10 *小 1.25 公称通径(DN) 20 25 32 40 50 65 80 100 125 150 200 L PN16、40 150 160 180 200 230 290 310 350 400 480 600 PN64 230 230 260 260 300 340 380 430 500 550 650 B 383 512 603 862 1023 1380 1800 H 压力
调节
范围
MPa15~140 475 520 540 710 780 840 880 915 130~300 455 500 520 690 760 800 870 880 280~500 450 490 510 680 750 790 860 870 480~1000 445 480 670 740 780 850 860 600~1500 445 570 600 820 890 950 1000 1000~2500 445 570 600 820 890 950 1000 A 压力
调节
范围
MPa15~140 φ280 φ308 130~300 φ230 280~1000 φ176 φ194 φ280 600~2500 φ85 φ96 导压管接口螺纹 M16×15 自力式压力调节阀无需外加能源,利用被控介质自身能量作为动力源,引入执行机构控制阀芯位置来改变流通面积,改变两端的压差和流量,从而使阀前或阀后压力稳定在给定值。具有动作灵敏,密封性好,压力波动小等优点。衬氟自力式调节阀广泛应用于各种工业设备中对气体、液体及蒸汽介质减压稳压或泄压稳压的自动控制。

ZZYP自力式衬氟调节阀整机作用方式确定:
阀前压力调节阀(K型)其初始位置的阀芯在关闭位置,当阀前压力逐渐升高,阀逐渐打开,直至阀前压力稳定在要求的给定值。
阀后压力调节阀(B型)其初始位置的阀芯在开启位置,当阀门压力逐渐升高,阀逐渐关闭,直至阀后压力稳定在要求的给定值。

本实用新型涉及一种阀门,具体是指一种衬氟自力式调节阀。背景技术自力式调节阀是依靠流经阀内介质自身的压力、温度作为能源驱动阀门自动工作的调节阀。但是自力式调节阀在长期使用过程中容易存在调节灵敏度不足,密封性能差的问题,导致自力式调节阀使用寿命偏低,使用效果较差。实用新型内容本实用新型的目的是为了提供一种衬氟自力式调节阀,该调节阀结构简单,安装使用方便,成本低,通过多层密封设置提高了调节阀的密封性能,并且通过独特的套筒设计,使得调节阀的调节灵敏度显著提升,提高了调节阀的使用寿命和使用效果。

订货须知:
一、①产品名称与型号②口径③是否带附件以便我们的为您正确选型④的使用压力⑤的使用介质的温度。
二、若已经由设计单位选定公司的型号,请按型号直接向我司销售部订购。三、当使用的场合非常重要或环境比较复杂时,请您尽量提供设计图纸和详细参数,由我们的阀门公司专家为您审核把关。如有疑问:请:我们一定会尽心尽力为您提供优质的服务。提供全面、*的“阀门系统解决方案",也十分愿意帮助用户解决生产中所遇到的难题。
-
联系方式
- 联系人:申弘阀门
- 电 话:021-59260058
- 手 机:15901754341
- 传 真:86-021-31662735
- 邮 箱:494522509@qq.com
- 邮 编:201718
- 地 址:上海市青浦区金泽工业园区
- 网 址: https://bengye.cn.goepe.com/
http://www.021-fm.com
-
产品搜索









