-
ZZVP储罐衬氟泄氮阀申弘
详细信息| 询价留言ZZVP储罐衬氟泄氮阀 产品说明
本实用新型涉及泄压阀,具体是指一种自立式防腐泄压阀。储罐内压力升高至设定压力时,快速泄放阀迅速开启,将罐内多余压力泄放。微压调节阀在储罐内压力降低时,开启阀门,向罐内充注氮气。因微压调节阀必须使用在压力为0.1Mpa压力以下,现场压力较高,必须安装ZZYP型压力调节阀将压力调节阀将压力降低至0.1Mpa以下才可使用。公称压力0.1Mpa,压力可按分段设定,从0.5Kpa 至66 Kpa以下,介质温度温度≤80℃。在氮封装置泄放阀中的压力控制部分,通过调整主弹簧的预压缩(拉伸)量达到,一般为避免氮封装置启闭频繁,泄氮设定值应远离供氮压力设定值,如2KPa(200mmH2O)。

背景技术:
泄压阀一般根据系统的工作压力能自动启闭,一般安装于封闭系统的设备或管路上保护系统安全;当设备或管道内压力超过泄压阀设定压力时,即自动开启泄压,保证设备和管道内介质压力在设定压力之下,保护设备和管道,防止发生意外;而现在很多化工工艺上采用多个罐选用一台泄压阀泄压。所以很容易导致,罐内介质不一样反应出来了气体合在一起产生化学反应,会出现酸性气体和强腐蚀气体,从而腐蚀阀体,使阀体因腐蚀而导致无法正常使用甚至于损坏,并且还有一定的安全隐患。为此,提出一种自立式防腐泄压阀。

ZZVP储罐衬氟泄氮阀氟材料分类,氟材料主要有7类,具体如下:
1、聚氯乙烯: 硬质)PVC :适用耐水,浓碱,非氧化性酸,链烃,油和臭氧等。使用温度:0-55。特点:机械强度较高,化学稳定性及介电性能优良,耐油性和抗老性也较好,易熔接及粘合,价格较低。
2、聚丙烯 RPP :适用无机盐类的水溶液,无 机 酸类,碱类的稀或浓溶液。使用温度:-14~80。特点:*轻的塑料之一,其屈服,拉伸和压缩强度,硬度均优于低压聚乙烯,有很突出的刚性,耐热性好,易成型,优廉。改性后动击性,流动性,弯曲弹性。
3、聚三氟乙烯 PCTEF (F3) :适用各种有机溶剂,无机腐蚀液(氧化性酸类)。使用温度:-195~120。特点:耐热性,电性能和化学稳定性仅次于F4,机械强度,蠕变性能,硬度比F4好些。
4、聚四氯乙烯 PTFE(F4) :使用介质:强酸,强碱,强氧化剂等。使用温度:-200~180。特点:具有优异的化学稳定性,有很高的耐热性,耐寒性,摩擦系数很低,是极好的 自润滑材料,但机械性能较低,流动性差,热膨胀大。
5、聚全氟乙烯 FEP (F46) :适用任何有机溶剂或试剂,稀或浓无 机 酸,碱,酮,芳烃,氯化烃等。使用温度:-85~150。特点:力学,电性能和化学稳定性基本与F4相同,但突出优点是动击韧性高,有极好的耐候性和辐射性。
6、聚偏氯乙烯 PVDF(F2) :使用介质:耐大多数化学药品和溶剂。使用温度:-70~100。特点:拉绅强度与压缩强度比F4好,耐弯折,耐候,耐辐射。耐光和老化等,*大特点是韧性好,易成型。
7、聚烯烃 PO :适用各种浓度的酸碱盐及某些有机溶剂。使用温度:-58~80。特点:是目前世界*理想的防腐材料,已广泛用于旋转成型的大型设备和管道件内衬。

ZZVP储罐衬氟泄氮阀技术实现要素:
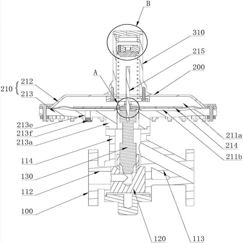
本实用新型的目的是为了解决以上问题而提出一种自立式防腐泄压阀。为了达到上述目的,本实用新型提供了如下技术方案一种自立式防腐泄压阀,包括阀体、阀芯、阀杆、膜盖、阀盖、调压弹簧和托盘;其特征是所述阀体和膜盖上设有聚四氟乙烯层;所述膜盖分为上膜盖和下膜盖;所述上膜盖上安装有调节管,所述调节管中通过螺纹安装有调节螺钉,调节管端部还安装有管盖;所述上膜盖和下膜盖之间安装膜片,所述膜片上安装有托盘,托盘上安装有膜片上垫片,所述膜片上垫片与调节螺钉之间安装调节弹簧。
进一步优选的,所述下膜盖底部通过螺栓安装有阀盖,阀盖上滑动安装有阀杆,所述阀杆穿过下膜盖、膜片、托盘和膜片上垫片后通过螺栓与膜片上垫片连接。
进一步优选的,所述阀杆上设有限位台阶,限位台阶上安装有膜片下垫块。
进一步优选的,所述阀盖上通过螺栓固定安装有阀体,所述阀杆上安装有阀芯,阀芯处于阀体内。
进一步优选的,所述膜盖上还设有通孔。
本实用新型通过在膜盖和阀体上设置聚四氟乙烯层,从而形成衬氟阀体和衬氟膜盖,可耐强酸、强碱等强腐蚀性气体或液体,防腐蚀强,从而阀的使用寿命长,安全性高且节省成本。

■ZZVP储罐衬氟泄氮阀主要技术参数
公称通径DN(mm)20
25
40
50
65
80
100
额定流量系数(Kv)
7
11
30
48
75
120
190
额定行程(mm)
6
8
10
15
20
介质温度(℃)
≤80
调节精度 (%)
≤10
允许泄漏量 (l/h)
10-4X阀额定容量
公 称 通 径20
25
40
50
65
80
100
ΦA
195
280
L
184
184
222
254
276
298
352
H1
88
102
114
114
156
166
176
H
285
337
344
344
386
396
406
重量(Kg)
12
13
17
20
28
38
43
可耐强酸、强碱等强腐蚀性气体或液体,防腐蚀强,从而阀的使用寿命长,安全性高且节省成本;通过调压弹簧的设置,采用内取压的方式,能有效消除压力波动对调节精度的影响,使设定的压力更为稳定。
本实用新型的保护范围不限于以上实施例及其变换。本领域内技术人员以本实施例的内容为基础进行的常规修改和替换,均属于本实用新型的保护范畴。

ZZVP储罐衬氟泄氮阀安装、维护与调试
1、安装
(1)检查整机零件是否缺损与松动,对使用有害人体健康的介质,必须进行强度、密封、泄漏与精度测试。
(2)在安装前,对管道进行清洗(否则由于焊渣等管道垃圾,损坏阀芯密封面,导致阀门不能正常工作),阀门入口处要有足够的直管段,并配有过滤器。阀体与管道的法兰连接,要注意同轴度。
(3)安装场地应考虑到人员与设备的安全,即便于操作,又有利于拆装与维修。
(4)阀门应正立垂直安装在水平管道上,导压管必须安装在距离阀出口至少六倍于公称通径的阀后管道上。阀自重较大与有振动的场合,要用支撑架,尽量避免水平安装。
(5)介质流动方向应与阀体上的箭头指向一致。因微压阀属于精密仪表,其中膜片直接承受介质压力,若阀门反装或管道有反冲压力,则膜片由于受压过高导致膜片损坏,阀门不能工作。阀门应在环境温度-25~+55℃场所使用。
(6)为使自控系统失灵或检修阀门时,仍能连续生产,应设置旁路阀。

2、ZZVP储罐衬氟泄氮阀维护:
(1)清洗阀门:对清洗一般介质,只要用水洗净就可以。但对清洗有害健康的介质,首先要了解其性质,在选用相应的清洗办法。
(2)阀门的拆卸:将外露表面生锈的零件先除锈,但在除锈前,要保护好阀座、阀芯、阀杆与推杆等精密零件的加工表面。拆装阀座时应使用专用工具。
(3)阀芯、阀座:二密封面有较小的锈斑与磨损,可用机械加工的方法进行修理,如损坏严重必须换新。但不管修理或更换后的硬密封面,都必须进行研磨。
(4)阀杆:表面损坏,必须换新。
(5)压缩弹簧:如有裂纹等影响强度的缺陷,必须换新。
(6)易损零件:密封垫片与O型圈,每次检修时,全部换新。膜片必须检查是否有可能发生裂纹、老化与腐蚀等痕迹,根据检验结果,决定是否更换,但膜片使用期一般*多2~3年。
(7)阀门组装要注意对中,螺栓要在对角线上拧紧,滑动部分要加润滑油。组装后应按产品出厂测试项目与方法调试,并在这期间,可更准确地调整填料压紧力与阀芯关闭位置。

3、ZZVP储罐衬氟泄氮阀调试
所需要压力值是对执行器顶部的调节螺杆或螺母的操作而得到调整,打开顶部的防尘盖,用扳手调整调节螺杆或螺母。顺时针方向旋转使设定压力增大,逆时针旋转则使设定压力减小。安装在微、差压调节阀后的压力表,可使工作人员借以观察调整后的压力设定值。
4、注意事项
1)严禁调压阀安装后再进行焊接。
2)调压阀投入运行前特别注意冲刷、清洗管道,防止焊渣、污物、卡在节流口,破坏密封面。造成使用前密封面先损坏,调压阀失效的现象。
订货须知:
一、①产品名称与型号②口径③是否带附件以便我们的为您正确选型④的使用压力⑤的使用介质的温度。
二、若已经由设计单位选定公司的型号,请按型号直接向我司销售部订购。三、当使用的场合非常重要或环境比较复杂时,请您尽量提供设计图纸和详细参数,由我们的阀门公司专家为您审核把关。如有疑问:请:我们一定会尽心尽力为您提供优质的服务。提供全面、*的“阀门系统解决方案",也十分愿意帮助用户解决生产中所遇到的难题。
-
联系方式
- 联系人:申弘阀门
- 电 话:021-59260058
- 手 机:15901754341
- 传 真:86-021-31662735
- 邮 箱:494522509@qq.com
- 邮 编:201718
- 地 址:上海市青浦区金泽工业园区
- 网 址: https://bengye.cn.goepe.com/
http://www.021-fm.com
-
产品搜索








