-
BZDLP电动保温调节阀申弘
详细信息| 询价留言BZDLP电动保温调节阀 产品说明
电动保温调节阀阀芯采用上导向结构,阀结构紧凑,有呈S流线型的通道,使其压降损失小,流量大,可调范围广,流量特性精度高,符合IEC534-2-1976标准。电动保温调节阀配以3810系列(PSL系列)电子式电动执行器及低流阻调节阀阀体组成,电动执行机构为一体化结构,内有伺服放大器,输入控制信号(4-20mADC或1-5VDC)及电源即可控制阀门开度,达到对压力、流量、液位、温度等工参数的调节。电动保温调节阀适用于需要保温的场合。当工艺介质的结晶温度低于环境温度或流体温度降低,造成粘度增加或流体出现凝固时,这时在阀体和上阀盖处增设蒸汽保温夹套装置,使工艺介质满足过程控制的需要。电动保温调节阀的泄漏量符合ANSI B16.104标准。包括阀体、阀杆、阀座、阀芯以及加长阀盖和气动执行机构。
所述阀体外围以及所述阀杆连接端环绕有保温夹套,且所述保温夹套固定于该阀体上,所述保温夹套与阀体的外表面形成保温腔,所述保温夹套上设有蒸汽进口和蒸汽出口,所述保温夹套下端设有排污口,包括一固设于所述保温夹套上的排污通路,所述排污通路与所述保温腔联通,所述排污通路的出口设有封闭组件,

BZDLP电动保温调节阀产品作用:
电动保温调节阀适用于需要保温的场合。当工艺介质的结晶温度低于环境温度或流体温度降低,造成粘度增加或流体出现凝固时,这时在阀体和上阀盖处增设蒸汽保温夹套装置,使工艺介质满足过程控制的需要。电动保温调节阀的泄漏量符合ANSI B16.104标准。工业生产中常常需要输送常温下易凝固的高粘度介质,为输送此类介质需要提高管线温度,但随着使用时间的增加,介质对阀门内件的损伤加大,极易影响生产安全并且降低生产效率,故阀门需定期维护,为了改善这种状况,各家阀门制造厂商开始设计可以有效保温的阀门设备。
现有的保温夹套调节阀有良好的保温特性,且阀门的通径与管径一致,同时又能有效降低管路中介质热量损失,被广泛应用于石油、化工、冶金、制药等各类系统中,检修时仅需要拆卸保温夹套,或者整阀更换,大大降低了对管线保温的经济成本。
但是,现有的保温夹套调节阀在对阀体进行保护的同时,并没有对阀芯、阀杆的密封部位做好保温处理措施,使用时间久后,便会对阀杆连接处的元件造成高低温交替的疲劳损坏,且维修极其不便,只能重新更换新的阀芯,增加成本。
BZDLP电动保温调节阀主要技术参数
(1)阀体参数
公称通径 DN 25 32 40 50 65 80 100 125 150 200 250 300 阀座直径 dN 25 32 40 50 65 80 100 125 150 200 250 300 额定流量系数KV 单座 11 17.6 27.5 44 69 110 176 275 440 630 1000 1600 笼式 9 15 23 35 59 95 148 236 355 568 885 1260 套筒 10 16 25 40 63 100 155 250 370 580 900 1300 允许压差(MPa) 单座 3.2 3.0 2.0 1.8 1.5 1.4 1.0 0,7 0.6 0.5 0.3 0.28 笼式 5.8 5.0 4.9 4.3 3.0 3.7 3.5 3.1 2.8 2,8 2.4 2.0 套筒 6.4 5.2 5.2 4.6 4.6 3.7 3.7 3.5 3.1 3.1 2.6 2.2 额定行程 16 25 40 60 100 公称压力 PN1.6、2.5、4.0、6.4、10.0MPa 法兰标准 GB/T9113、 JB/T79、HG20594及其他标准 连接形式 法兰(FF RF RTJ)、焊接(SW BW) 阀盖形式 保温型+150~+425℃ 压盖型式 螺栓压紧式 密封填料 金属石墨缠绕垫、石墨填料 阀体材料 铸钢(WCB)、不锈钢(CF8、CF8M、CF3、CF3M)、铬钼钢 阀芯形式 单座柱塞型阀芯、笼式阀芯(高压差型)、套筒式阀芯 流量特性 线性、等百分比 阀芯材料 不锈钢 (304、316、316L) (3)执行器参数
执行器型号 国产(3810、PSL、DKZ);进口(罗托克、西门子、欧玛、西博思)
主要技术参数 电源电压:AC 220V、AC 380V;特殊定做DC 24V;(其他) 输入信号:4-20mA或1-5V·DC、输出信号:4-20mA·DC;特殊定制RS485通讯接口 防护等级:相当IP65、隔爆标志:ExdⅡBT4(可选BT6、CT4、CT6)、手操功能:手柄 环境温度:-25~+70℃、环境湿度:≤95% 三、BZDLP电动保温调节阀性能指标
项目 指标值 基本误差% 配3810L±2.5; 配PSL±1.0 回差% 配381L ±2.0; 配PSL±1.0 死区% 1.0 始终点偏差% 电开 始点±2.5 终点±2.5 始点±2.5 终点±2.5 电关 始点 ±2.5 终点 ±2.5 额定行程偏差% ≤2.5 泄露量L/h 0.01%×阀额定容量 可调范围R 30:1 BZDLP电动保温调节阀连接尺寸
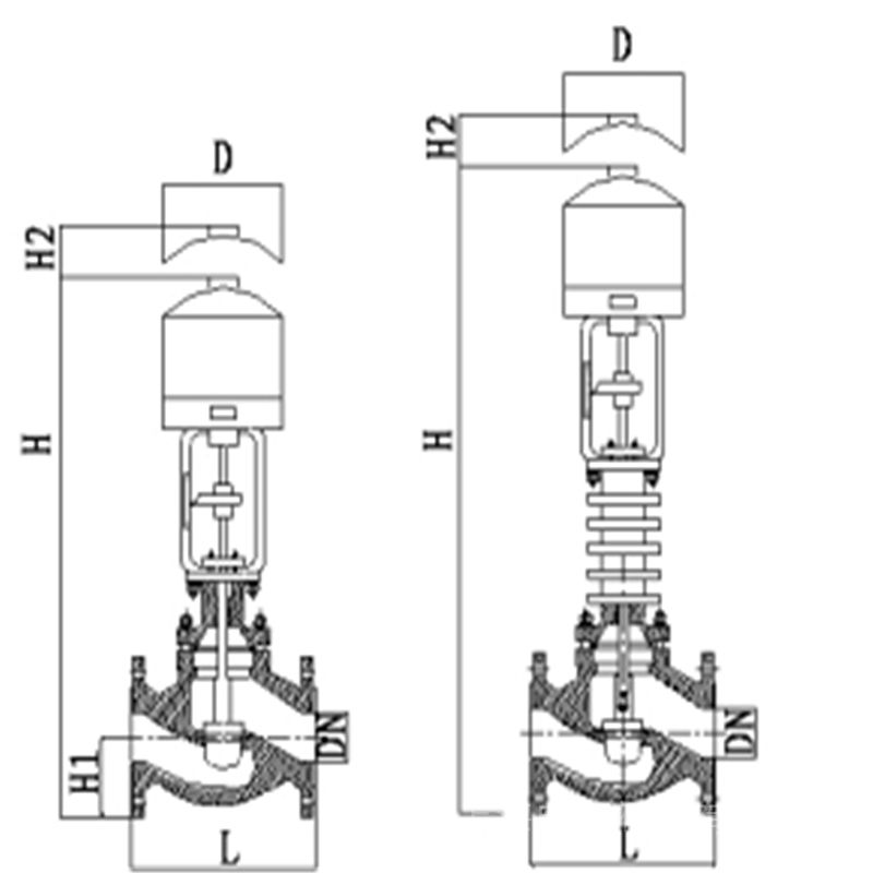
公称通径(DN) 20 25 32 40 50 65 80 100 125 150 L PN16/25 181 184 200 222 254 276 298 352 410 451 PN40 194 197 200 235 267 292 317 368 425 473 PN64 206 200 210 251 286 311 337 394 440 508 H PN16/25 52.5 57.5 75 75 85.5 92.5 100 110 142.5 158 PN40 52.5 57.5 75 75 82.5 92.5 100 117.5 150 167.5 PN64 65 40 85 85 90 102.5 107.5 125 172.5 195 H1 182 182 218 225 230 264 271 285 320 344 H2 3810L 373 373 495 495 495 700 700 700 725 725 PSL 465 465 465 465 465 560 560 560 560 560 R 3810L 225 225 225 225 225 257 257 257 310 310 PSL 177 177 177 177 177 182 182 182 182 182 
电动保温调节阀配以3810系列(PSL系列)电子式电动执行器及低流阻调节阀阀体组成,电动执行机构为一体化结构,内有伺服放大器,输入控制信号(4-20mADC或1-5VDC)及电源即可控制阀门开度,达到对压力、流量、液位、温度等工参数的调节。电动保温调节阀的泄漏量符合ANSI B16.104标准。1、电动调节阀阀门的安装位置、高度、进出口方向必须符合口方向 设计要求,连接应牢固紧密。
2、电动调节阀的阀门可用各种形式的端部与管路连接。其中*主要的连接方式有螺纹、法兰及焊接连接。法兰连接时,若温度超过350℃时,由于螺栓、法兰和垫片蠕变松弛,应选择耐高温螺栓材料。
3、电动调节阀的阀门在安装之前必须进行外观检查,阀门的铭牌应符合现行国家标准GB12220《通用阀门标志》的规定。对于工作压力大于1.0MPa及在主干管上起到切断作用的阀门,应进行强度和严密性试验,合格后方准使用。其他阀门可不单独进行试验,待在系统试压中检验。
4、在给电动调节阀进行强度试验时,试验压力为公称压力的1.5倍,持续时间不少于5min,阀门的壳体、填料应无渗漏。
严密性试验时,试验压力为公称压力的1.1倍;试验压力在试验持续的时间内应保持不变,时间应符合的规定,以阀瓣密封面无渗漏为合格。

所述阀体中心设有开闭口,所述开闭口处设有所述阀芯,与所述阀芯中心轴线固连有所述阀杆,与所述阀芯密闭配合有所述阀座,且所述阀座通过所述阀体上端的阀杆连接孔安装固定在所述开闭口处,所述阀杆外周亦套设有衬套,所述衬套与所述阀杆连接孔处设有的衬套座配合,所述衬套座上下端面设有垫片,
电动保温调节阀阀芯采用上导向结构,阀结构紧凑,有呈S流线型的通道,使其压降损失小,流量大,可调范围广,流量特性精度高,符合IEC534-2-1976标准。采用上导向结构,阀结构紧凑,使其压降损失小,流量大,可调范围广,流量特性精度高,符合IEC534-2-1976标准。电动保温调节阀配以3810系列(PSL系列)电子式电动执行器及低流阻调节阀阀体组成,电动执行机构为一体化结构,内有伺服放大器,输入信号及电源即可控制运转,调节机构采用精小型阀体,在阀体和上阀盖处采用保温装置,用于当被调介质的结晶温度高于常温或因温度降低流体粘度增加或凝固而需保温的场合。
订货须知:
一、①产品名称与型号②口径③是否带附件以便我们的为您正确选型④的使用压力⑤的使用介质的温度。
二、若已经由设计单位选定公司的型号,请按型号直接向我司销售部订购。三、当使用的场合非常重要或环境比较复杂时,请您尽量提供设计图纸和详细参数,由我们的阀门公司专家为您审核把关。如有疑问:请:我们一定会尽心尽力为您提供优质的服务。提供全面、*的“阀门系统解决方案",也十分愿意帮助用户解决生产中所遇到的难题。
-
联系方式
- 联系人:申弘阀门
- 电 话:021-59260058
- 手 机:15901754341
- 传 真:86-021-31662735
- 邮 箱:494522509@qq.com
- 邮 编:201718
- 地 址:上海市青浦区金泽工业园区
- 网 址: https://bengye.cn.goepe.com/
http://www.021-fm.com
-
产品搜索






