-
ZDLP高温带散热片电动调节阀申弘
详细信息| 询价留言ZDLP高温带散热片电动调节阀 产品说明
与现有技术相比,本实用新型的有益效果是:该高温散热型单座调节阀设置有采样机构,采样机构呈倾斜状分布,整个钛铝合金阀体与采样机构采用铸造一体成型,其结构稳定,密封强度高,能够有效保证整个钛铝合金阀体有效使用,保证整个结构的合理性,同时钛铝合金阀体其高效的导热功能,能够起到一定的高温散热效果;

带散热片电动高温调节阀是采用智能一体化执行器与高精度低流阻调节阀阀体组成。具有关闭严密,结构紧凑,重量轻,维修方便等优点。配以3810系列(或者PSL系列)电动执行器和精小型调节阀体组成,内含饲服功能,接受统一的4-20mA或1-5V·DC的标准信号,将电流信号转变成相对应的直线位移,自动地控制调节阀开度,达到对管道内流体的压力、流量、温度、液位等工艺参数的连续调节。调节机构采用平衡式阀塞结构,电子式电动高温调节阀具有阀稳定性好,不易震动,噪音低,对温度敏感性小,允许使用压差不大、温度较大等特点。广泛使用于流量大,温度高,泄漏量要求不严格的场合。广泛用于气体、液体、蒸汽、油品等腐蚀性介质的管道自动化控制中。

ZDLP高温带散热片电动调节阀产品特点:
1、带散热片电动高温调节阀是自动化控制系统中仪表的执行单元,以AC220V电源电压作动力,接受来自DCS,PLC系统或调节仪表,操作器等输入的(4-20mA,0-10mA或1-5VDC)电流信号或电压信号,即可控制运转,采有机电一体化结构,具有机内伺服操作和开度信号位置反馈,位置指示,手动操作等功能,功能强,性能可靠,连线简单,调节精度高,以直行程输出的推力改变阀门开度位移,达到对流体介质的工艺参数精确调节控制。
2、带散热片电动高温调节阀按作用模式可分;
正作用:电闭式-常开型(当电信号增大时阀位向下位移),《B型》
反作用:电开式-常闭型(当电信号增大时阀位向上位移),《K型》
3、带散热片电动高温调节阀为直通套筒铸造球形阀,采用了平衡型阀芯,不平衡力小,操作稳定适用于阀前阀后压差大且泄漏稍大的工作场合。
4、直通低流阻套筒阀阀芯采用了压力平衡笼式阀芯结构,阀芯为圆柱型,经过精密加工开出一定特性的窗孔,由套筒的内圆导向和顶导向,因而阀杆上不平衡力很小,操作稳定,性能好,是一种力平衡型的调节阀.适用于阀前后两端压差较高的场合,由于阀芯有套筒的侧面导向,受涡流冲击所产生的振动被减弱,故具有噪音低,空化闪蒸作用小,使用寿命长等优点.但阀座泄漏率较单座阀稍大。
5、通过改变阀芯形状的设计;不同的阀芯窗孔形状会得到不同流量特性值:等百分比(对数)性,直线性。
本系列产品广泛应用于化工,石油,冶金,电站,轻纺,造纸和制药等工业生产过程的自动化调节和远程控制。
有标准型,波纹管密封型,夹套保温型等品种.产品压力等级有PN1.6 4.0 6.4MPa;公称通径DN25~300mm;适用流体温度有-100~+500℃;按温度高低配用不同阀盖可分常温型,高温型和低温型。
密封盘与限位环之间相互贴合,当液体从钛铝合金阀体流入时,在压力的作用下,抵住密封盘紧密与限位环相互贴合,其结构无漏液现象,同时当使用者需要进行样品收集时,可推动滑板,滑板沿滑轨的内壁滑动,带动z型连接杆、向上移动,密封盘与限位环分离,整个连接管道与钛铝合金阀体连通,液体从连接管道流出,使用者旋转密封盖,将密封盖取下,对液体进行收集,便于使用者后续采用使用;
固定支架与安置板之间为焊接一体化结构,使用者可将一些行程检测仪器通过安置板安装在该设备内,通过监测指针的位移量,达到实时监测流量控制的作用,同时固定支架与安置板采用焊接的形式连接在一起,其连接强度高,保证后续检测仪器安装时,结构的稳定性。
是指阀杆上装有散热片,具有散热功能,由3810系列(PSL系列)电子式电动执行机构和高温调节阀体组成,由3810系列(或者PSL系列)电动执行器和精小型调节阀体组成,内含饲服功能,接受统一的4-20mA或1-5V·DC的标准信号,将4-20ma电流或者1-10v电压信号转变成相对应的直线位移,自动地控制调节阀开度,达到对管道内流体的压力、流量、温度、液位等工艺参数的连续调节的阀门。

ZDLP高温带散热片电动调节阀主要技术参数
公称通径(DN) 20 25 32 40 50 65 80 100 125 150 200 250 300 阀座直径(dn) 20 25 32 40 50 65 80 100 125 150 200 250 300 额定流量系数(KV) 单座 6.9 11 17.6 27.5 44 69 110 176 275 440 630 875 1250 套筒 6.3 10 16 25 40 63 100 155 250 370 580 900 1300 允许压差(MPa) 单座 3.8 3.2 3.0 2.0 1.8 1.5 1.4 1.0 0,7 0.6 0.5 0.3 0.1 套筒 6.4 6.4 5.2 5.2 4.6 4.6 3.7 3.7 3.5 3.1 3.1 2.6 2.2 公称压力(MPa) 1.6、2.5、4.0、6.4、10.0 额定行程(mm) 16 25 40 60 100 阀盖形式 高温型(+250~+450℃) 压盖形式 螺栓压紧式 密封填料 V型聚四氟乙烯填料、V型柔性石墨填料 阀芯形式 单座式、套筒式 流量特性 等百分比、直线型 配置执行器类别 3810系列、PSL系列等电动执行器(客户指定品牌亦可) 执行器参数 电源电压:220V、输入信号:4-20mA或1-5V·DC、输出信号:4-20mA·DC 防护等级:相当IP65、隔爆标志:ExdⅡBT4(ExdⅡBT6特殊定制)、手操功能:手柄 环境温度:-25~+70℃、环境湿度:≤95% 三、ZDLP高温带散热片电动调节阀主要结构图
四、ZDLP高温带散热片电动调节阀主要零件材料
1 阀体 WCB 304 316 316L 2 垫片 PTFE\石墨垫片 PTFE\石墨垫片 PTFE\石墨垫片 PTFE\石墨垫片 3 阀座/套筒
304 304 316 316L 4 阀芯 304 304 316 316L 5 导向套/并帽 304 304 316 316L 6 中垫 PTFE\石墨垫片 PTFE\石墨垫片 PTFE\石墨垫片 PTFE\石墨垫片 7 阀盖 WCB 304 316 316L 8 阀杆 304 304 316 316L 9 散热片 碳钢 304 316 316L 10 填料 PTFE/石墨 PTFE/石墨 PTFE/石墨 PTFE/石墨 11 螺栓 25 不锈钢 不锈钢 不锈钢 12 填料压盖 WCB 304 316 316L 五、ZDLP高温带散热片电动调节阀主要性能指标
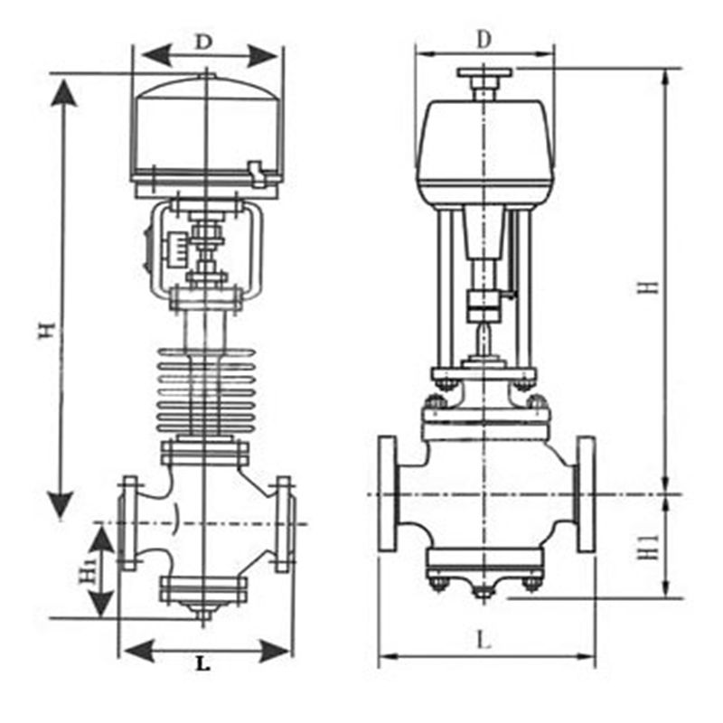
项目 指标值 基本误差% 配3810L±2.5; 配PSL±1.0 回差% 配381L ±2.0; 配PSL±1.0 死区% 1.0 始终点偏差% 电开 始点±2.5 终点±2.5 始点±2.5 终点±2.5 电关 始点 ±2.5 终点 ±2.5 额定行程偏差% ≤2.5 泄露量L/h 0.01%×阀额定容量 可调范围R 30:1 六、ZDLP高温带散热片电动调节阀外形图
七、ZDLP高温带散热片电动调节阀安装连接尺寸
公称通径(DN) 20 25 32 40 50 65 80 100 125 150 200 250 300 L PN16/25 181 184 200 222 254 276 298 352 410 451 600 640 880 PN40 194 197 200 235 267 292 317 368 425 473 610 760 910 PN64 206 200 210 251 286 311 337 394 440 508 650 810 950 H PN16/25 52.5 57.5 75 75 85.5 92.5 100 110 142.5 158 170 195 230 PN40 52.5 57.5 75 75 82.5 92.5 100 117.5 150 167.5 187.5 205 245 PN64 65 40 85 85 90 102.5 107.5 125 172.5 195 207.5 230 260 H1 396 396 428 428 436 415 464 507 690 840 632 725 882 H2 3810L 373 373 495 495 495 700 700 700 725 725 725 725 725 PSL 465 465 465 465 465 560 560 560 560 560 788 788 788 D 3810L 225 225 225 225 225 257 257 257 310 310 310 310 310 PSL 177 177 177 177 177 182 182 182 182 182 218 218 218 电动散热调节阀调节机构采用平衡式阀塞结构,电子式电动高温调节阀具有阀稳定性好,不易震动,噪音低,对温度敏感性小,允许使用压差不大、温度较大等特点。进口电动散热调节阀广泛使用于高温介质,流量大,温度高,泄漏量要求不严格的场合。

下面将结合本实用新型实施例中的附图,对本实用新型实施例中的技术方案进行清楚、完整地描述,显然,所描述的实施例仅仅是本实用新型一部分实施例,而不是全部的实施例。基于本实用新型中的实施例,本领域普通技术人员在没有做出创造性劳动前提下所获得的所有其他实施例,都属于本实用新型保护的范围。尽管已经示出和描述了本实用新型的实施例,对于本领域的普通技术人员而言,可以理解在不脱离本实用新型的原理和精神的情况下可以对这些实施例进行多种变化、修改、替换和变型,本实用新型的范围由所附权利要求及其等同物限定。
ZDLP高温带散热片电动调节阀安装与使用时注意事项:
(1)调节阀属于现场仪表,要求环境温度应在-25~60℃范围,相对湿度95%.如果是安装在露天或高温场合,应采取防水,降温措施.在有震源的地方要远离振源或增加防振措施.
(2)调节阀一般应垂直安装,特殊情况下可以倾斜,如倾斜角度很大或者阀本身自重太大时对阀应增加支承件保护.
(3)安装调节阀的管道一般不要离地面或地板太高,在管道高度大于2m时应尽量设置平台,以利于操作手轮和便于进行维修.
(4)调节阀安装前应对管路进行清洗,排除污物和焊渣.安装后,为保证不使杂质残留在阀体内,还应再次对阀门进行清洗,即通入介质时应使所有阀门开启,以免杂质卡住.在使用手轮机构后,应恢复到原来的空档位置.
(5)为了使调节阀在发生故障或维修的情况下使过程能继续进行,调节阀应加旁通管路.同时还应特别注意,调节阀的安装位置是否符合工艺过程的要求.
(6)电动调节阀的电气部分安装应根据有关电气设备施工要求进行.如是隔爆型产品应按《爆炸危险场所电气设备安装规范》要求进行安装.如现场导线采用SBH型或其它六芯或八芯,外径为Φ11.3mm左右的胶皮安装电缆线.在使用维修中,在易爆场所严禁通电开盖维修和对隔爆面进行撬打.同时在拆装中不要磕伤或划伤隔爆面,检修后要还原成原来的隔爆要求状态.
(7)执行机构的减速器拆修后应注意加油润滑,低速电机一般不要拆洗加油.装配后还应检查阀位与阀位开度指示是否相符.

ZDLP高温带散热片电动调节阀日常维护工作内容:
调节阀日常维护工作内容分为巡回检查和定期维护两部分,巡回检查工作内容如下。
1、向当班工艺操作人员了解调节阀的运行情况。
2、查看调节阀和有关附件的供给能源(气源、液压油或电源)
3、检查液压油系统运行情况。
4、检查调节阀的各静、动密封点有无泄漏。
5、检查调节阀连接管线和接头有无松动或腐蚀。
6、检查调节阀有无异常声音和较大振动,检查供给情况。
7、检查调节阀的动作是否灵活,在控制信号变化时是否及时变化
8、侦听阀芯、阀座有无异常振动或杂音。
9、发现问题及时联系处理。
10、做好巡回检查的记录,并归档。
订货须知:
一、①产品名称与型号②口径③是否带附件以便我们的为您正确选型④的使用压力⑤的使用介质的温度。
二、若已经由设计单位选定公司的型号,请按型号直接向我司销售部订购。三、当使用的场合非常重要或环境比较复杂时,请您尽量提供设计图纸和详细参数,由我们的阀门公司专家为您审核把关。如有疑问:请:我们一定会尽心尽力为您提供优质的服务。提供全面、*的“阀门系统解决方案",也十分愿意帮助用户解决生产中所遇到的难题。
-
联系方式
- 联系人:申弘阀门
- 电 话:021-59260058
- 手 机:15901754341
- 传 真:86-021-31662735
- 邮 箱:494522509@qq.com
- 邮 编:201718
- 地 址:上海市青浦区金泽工业园区
- 网 址: https://bengye.cn.goepe.com/
http://www.021-fm.com
-
产品搜索







