-
ZAZP电动单座调节阀申弘
详细信息| 询价留言ZAZP电动单座调节阀产品说明
本实用新型涉及调节阀技术领域,尤其涉及电动调节阀。与ZDLP型电子式调节阀的区别在于:电子式调节阀的执行机构为PSL或381L电子式电动执行器;而ZAZP电动调节阀为DKZ两位开关式电动执行器,其内不含伺服机构。

ZAZP电动单座调节阀背景技术:
电动调节阀是工业自动化过程控制中的重要执行单元仪表,随着工业领域的自动化程度越来越高,正被越来越多的应用在各种工业生产领域中,与传统的气动调节阀相比具有明显的优点:电动调节阀节能(只在工作时才消耗电能),环保(无碳排放),阀门按其所配执行机构使用的动力,按其功能和特性分为线性特性,等百分比特性及抛物线特性三种。
控制箱与阀体之间的连接至关重要,在安装时,确保与控制箱连接的法兰面准确地对准阀体上的法兰以使垫片表面均匀地接触,在法兰对准后,由于这时两个法兰面之间没有连接,需要工人腾出一只手将与控制箱连接的法兰盘固定住,十分费力,然后,工人需要轻轻地旋紧螺栓,
*后以交错形式依次旋紧这些螺栓,若拧动螺栓方式不对,两个法兰的安装面产生缝隙,不便于使用,且由于螺栓容易与水接触,螺栓容易生锈,导致两个法兰安装处松动,由于法兰上没有别的固定方式,当两个法兰安装处松动时,法兰便起不到连接作用,若该装置还在运作,则会发生危险事故,若要更换螺栓,需要将该装置拆卸,步骤繁琐,且阀体的两端通水口并没有滤网,若阀体或连接阀体入水口的管道内壁腐蚀,导致管壁材料脱落,这样使得原本纯度较高的液体会带有大量的杂质,严重时甚至会影响正常的工业使用或家庭使用。
ZAZP电动单座调节阀特点
1、可调节范围大,固有可调比为50,流量特性有直线和等百分比。
2、阀体按流体力学原理设计的等截面低流阻流道,额定流量系数增大30%。
3、调节切断型采用软密封结构阀芯,达VI级泄漏标准(零泄漏)。
4、伺服放大器采用深度动态负反馈,可提高自动调节精度。
5、电动操作器有多种形式,可适用于4~20mA。DC或0~10mA.DC。
6、波纹管密封型调节阀对移动的阀杆形成完全的密封,堵绝流体外漏。
7、电子型电动调节阀可直接由电流信号控制阀门开度,无需伺服放大器。
ZAZP电动单座调节阀技术实现要素:
本实用新型的目的是为了解决现有技术中存在的缺点,而提出的电动调节阀。由低流阻直通单座阀,或低流阻套筒阀配用德国进口PS或3810系列执行机构等组成。电动执行机构内有伺服放大器,无需另配伺服放大器,有输入控制信号(4—20mADC或1-5VDC)及单相电源即可控制运转,实现对压力、流量、温度、液位等参数的调节。该阀具有体积小,重量轻、连线简单、流量大、调节精度高等特点,广泛应用于电力、石油、化工、冶金、环保、轻工、教学和科研设备等行业的工业过程自动控制系统中。精小型电子式电动单座调节阀,精小型调节阀,电子式电动单座调节阀。
为了实现上述目的,本实用新型采用了如下技术方案:电动调节阀,包括法兰盘、突缘盘和阀体,所述法兰盘的底部通过螺栓螺纹连接有突缘盘,且突缘盘的底部焊接有阀体,所述阀体的正上方设置有控制箱,所述控制箱的底部螺纹连接有支撑架,所述支撑架的底部与法兰盘的上表面螺纹连接,所述法兰盘的中心处沿高度方向贯穿开设有限位槽,所述法兰盘的底部且位于限位槽的外部垂直焊接有空心圆柱体,
优选的,两个所述空心螺纹杆的内部设有滤网,两个所述安装板的相对面上且位于阀体的外部均沿圆周方向开设有环形槽。
优选的,两个所述环形槽内均沿圆周方向滑动连接有推杆,且两个所述推杆贯穿至螺纹槽内的一端分别与两个所述空心螺纹杆相焊接。
优选的,所述法兰盘与突缘盘上均沿圆周方向等距开设有四个孔眼,且四个所述孔眼内均螺纹连接有螺栓。
优选的,所述控制箱的底部中心处设有拉杆,且拉杆位于限位槽、空心圆柱体与凹槽的内部,所述拉杆贯穿至阀体内部的一端固定有阀芯。
优选的,两个所述夹板的内表壁上均粘接有橡胶垫,两个所述夹板的俯视结构均为弧形结构,且两个所述夹板的正视剖面为直角梯形结构。
ZAZP电动单座调节阀技术参数:
公称通径(DN)
20
25
32
40
50
65
80
100
125
150
200
250
300
阀座直径(dn)
20
25
32
40
50
65
80
100
125
150
200
250
300
额定流量系数(KV)
单座
6.9
11
17.6
27.5
44
69
110
176
275
440
630
875
1250
套筒
6.3
10
16
25
40
63
100
160
250
360
570
850
1180
双座
8
11
17,6
27.5
44
69
110
176
275
440
690
900
1300
允许压差(MPa)
单座
3.8
3.2
3.0
2.0
1.8
1.5
1.4
1.0
0,7
0.6
0.5
0.3
0.1
套筒
6.4
6.4
5.2
5.2
4.6
4.6
3.7
3.7
3.5
3.1
3.1
2.6
2.2
双座
≤ 公称压力
公称压力(MPa)
1.6、2.5、4.0、6.4、10.0
额定行程(mm)
16
25
40
60
100
阀盖形式
标准型(-17~+250℃)、高温型(+250~+450℃)、低温型(-40~-196℃)、波纹管密封型(-40~+350℃)
压盖形式
螺栓压紧式
密封填料
V型聚四氟乙烯填料、V型柔性石墨填料
阀芯形式
单座式、套筒式、双导向式
流量特性
等百分比、直线性
配置执行器类别
DKZ系列电动执行器(客户指定品牌亦可)
执行器参数
电源电压:220V、380V、输入信号:4-10mA DC、4-20mA DC、输出信号:4-20mA·DC
防护等级:相当IP65、隔爆标志:ExdⅡBT4(ExdⅡBT6特殊定制)、手操功能:手柄
环境温度:-25~+70℃、环境湿度:≤95%
ZAZP电动单座调节阀性能指标:
项目
指标值
基本误差%
±3.0
回差%
2.0
死区%
2.0
泄漏量
单座阀
符合JB/T7387-94 IV级小于阀的额定容量×10-4
双座阀
符合JB/T7387-94 Ⅲ级小于阀的额定容量×10-3
套筒阀
符合JB/T7387-94 Ⅲ级小于阀的额定容量×10-3
零部件参数
零部件 材质 阀体 WCB CF8 CF8M CF3M 阀座 304 304 316 316L 垫片 PTFE/金属石墨垫片 阀芯 304 304 316 316L 导向套 304 304 316 316L 阀盖 WCB CF8 CF8M CF3M 阀杆 304 304 316 316L 填料 PTFE/柔性石墨 弹簧 65Mn 304 316 316L 螺母 304 304 316 316L 四、ZAZP电动单座调节阀 技术参数
公称通径(DN) 20 25 32 40 50 65 80 100 125 150 200 250 300 阀座直径(dn) 20 25 32 40 50 65 80 100 125 150 200 250 300 额定流量系数(KV) 直线 6.9 11 17.6 27.5 44 69 110 176 275 440 630 875 1250 等百分 6.3 10 16 25 40 63 100 160 250 360 570 850 1180 允许压差(MPa) 3.2 3.0 2.0 1.8 1.5 1.4 1.0 0,7 0.6 0.5 0.3 0.2 0.1 公称压力(MPa) 1.6、2.5、4.0、6.4、10.0 额定行程(mm) 16 25 40 60 100 阀盖形式 标准型(-17~+250℃)、高温型(+250~+450℃)、低温型(-40~-196℃)、波纹管密封型(-40~+350℃) 压盖形式 螺栓压紧式 密封填料 V型聚四氟乙烯填料、V型柔性石墨填料 阀芯形式 单座柱塞型阀芯 流量特性 直线性、等百分比 配置执行器类别 381L系列电动执行器、PSL系列电动执行器 执行器参数 电源电压:220V/50Hz、输入信号:4-20mA或1-5V·DC、输出信号:4-20mA·DC 防护等级:相当IP55、隔爆标志:ExdⅡBT4(ExdⅡBT6特殊定制)、手操功能:手柄 环境温度:-25~+70℃、环境湿度:≤95% 五、ZAZP电动单座调节阀 性能参数
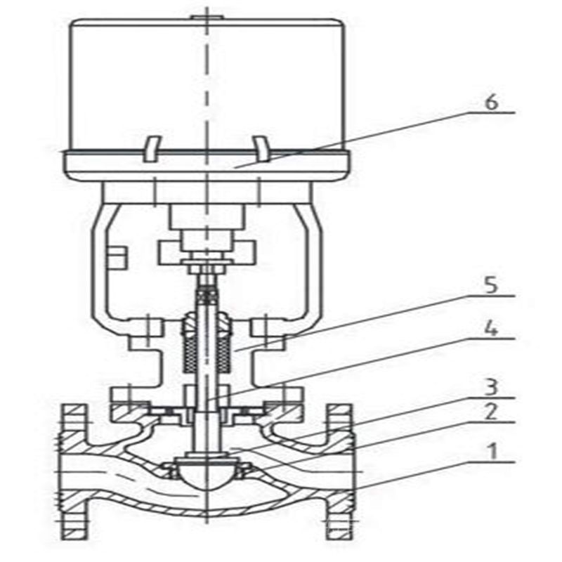
项目 指标值 基本误差% 配3810L±2.5; 配PSL±1.0 回差% 配381L ±2.0; 配PSL±1.0 死区% 1.0 始终点偏差% 电开 始点±2.5 终点±2.5 始点±2.5 终点±2.5 电关 始点 ±2.5 终点 ±2.5 额定行程偏差% ≤2.5 泄露量L/h 0.01%×阀额定容量 可调范围R 30:1 六、ZAZP电动单座调节阀 结构图
七、ZAZP电动单座调节阀连接尺寸
公称通径(DN) 20 25 32 40 50 65 80 100 125 150 200 250 300 L PN16/25 181 184 200 222 254 276 298 352 410 451 600 640 880 PN40 194 197 200 235 267 292 317 368 425 473 610 760 910 PN64 206 200 210 251 286 311 337 394 440 508 650 810 950 H PN16/25 52.5 57.5 75 75 85.5 92.5 100 110 142.5 158 170 195 230 PN40 52.5 57.5 75 75 82.5 92.5 100 117.5 150 167.5 187.5 205 245 PN64 65 40 85 85 90 102.5 107.5 125 172.5 195 207.5 230 260 H1 132 132 158 170 179 214 221 234 270 294 331 390 450 H2 3810L 373 373 495 495 495 700 700 700 725 725 725 725 725 PSL 465 465 465 465 465 560 560 560 560 560 788 788 788 D 3810L 225 225 225 225 225 257 257 257 310 310 310 310 310 PSL 177 177 177 177 177 182 182 182 182 182 218 218 218 注:由于产品改进技术创新参数可能有一定变化,公司不另行通知,请咨询公司技术部门索取*新数据。
新阀在安装之前,应首先检查阀上的铭牌标记是否与设计要求相符。同时还应对以下项目进行调试。
基本误差限;全行程偏差;回差;死区;泄漏量(在要求严格的场合时进行)。
如果是对原系统中调节阀进行了大修,除了对上述各项进行校验外,还应对旧阀的填料函和连接处等部位进行密封性检查。
在现场使用中,很多往往不是因为调节阀本身质量所引起,而是对调节阀的安装使用不当所造成,如安装环境、安装位置及方向不当或者是管路不清洁等原因所致。因此电动调节阀在安装使用时要注意以下几方面:
1、调节阀属于现场仪表,要求环境温度应在—25~60℃范围,相对湿度≤95%。如果是安装在露天或高温场合,应采取防水、降温措施。在有震源的地方要远离振源或增加防振措施。
2、电动调节阀一般应垂直安装,特殊情况下可以倾斜,如倾斜角度很大或者阀本身自重太大时对阀应增加支承件保护。
3、安装电动调节阀的管道一般不要离地面或地板太高,在管道高度大于2m时应尽量设置平台,以利于操作手轮和便于进行维修。
4、电动调节阀安装前应对管路进行清洗,排除污物和焊渣。安装后,为保证不使杂质残留在阀体内,还应再次对阀门进行清洗,即通入介质时应使所有阀门开启,以免杂质卡住。在使用手轮机构后,应恢复到原来的空档位置。
5、为了使电动调节阀在发生故障或维修的情况下使生产过程能继续进行,电动调节阀应加旁通管路。
同时还应特别注意电动调节阀的安装位置是否符合工艺过程的要求。
6、电动调节阀的电气部分安装应根据有关电气设备施工要求进行。如是隔爆型产品应按《爆炸危险场所电气设备安装规范》要求进行安装。如现场导线采用SBH型或其它六芯或八芯、外径为11.3mm左右的胶皮安装电缆线。在使用维修中,在易爆场所严禁通电开盖维修和对隔爆面进行撬打。同时在拆装中不要磕伤或划伤隔爆面,检修后要还原成原来的隔爆要求状态。
7、执行机构的减速器拆修后应注意加油润滑,低速电机一般不要拆洗加油。装配后还应检查阀位与阀位开度指示是否相符。

综上所述,由于采用了上述技术方案,本实用新型的有益效果是:首先,用于控制箱与阀体之间的法兰盘上设有可先固定其方位的连接组件,在安装时,无需工人自行固定控制箱,只需将上法兰盘插入下法兰盘即可固定,操作简单便捷且节省人力,其次,由于法兰盘已经被固定住,再使用螺栓加强固定时,无论按照什么顺序拧动螺栓,两法兰之间都不会出现缝隙,即使螺栓在使用过程中松动,法兰盘也不会松动,可直接在安装完成后的法兰盘上更换螺栓,密封性强且安全性能高,*后,由于阀体两端设置有滤网,能保证液体的纯度,且滤网方便拆卸与安装。新设计、安装的控制系统,为了确保调节阀在开车时能正常工作,并使系统安全运行,

订货须知:
一、①产品名称与型号②口径③是否带附件以便我们的为您正确选型④的使用压力⑤的使用介质的温度。
二、若已经由设计单位选定公司的型号,请按型号直接向我司销售部订购。三、当使用的场合非常重要或环境比较复杂时,请您尽量提供设计图纸和详细参数,由我们的阀门公司专家为您审核把关。如有疑问:请:我们一定会尽心尽力为您提供优质的服务。提供全面、*的“阀门系统解决方案",也十分愿意帮助用户解决生产中所遇到的难题。
-
联系方式
- 联系人:申弘阀门
- 电 话:021-59260058
- 手 机:15901754341
- 传 真:86-021-31662735
- 邮 箱:494522509@qq.com
- 邮 编:201718
- 地 址:上海市青浦区金泽工业园区
- 网 址: https://bengye.cn.goepe.com/
http://www.021-fm.com
-
产品搜索










