-
ZDLM大口径电动调节阀申弘
详细信息| 询价留言ZDLM大口径电动调节阀产品说明
本发明涉及一种调节阀,特别涉及的是大口径高温高压套筒调节阀。目前,在石油、化工等行业生产工艺中,调节阀起着十分重要的作用,并且调节阀的密封性能将直接影响着整个管道控制系统的使用效果。特别是对大口径、高流量工况的调节,现有产品只能选择蝶阀或者其他大口径产品进行简单粗略的调节,在调节精度要求高的情况下,现有的替代产品无法满足现场要求。双座的套筒调节阀的硬密封结构采用上、下分体阀座方式,该结构要求加工精度高,装配时上、下阀座与阀芯上、下密封面难以同时达到配合密封,导致其密封等级不够高(只达到国标GB/T4213-2008 III级),往往满足不了大口径、高流量工况的密封要求,具有一定的安全隐患。
为解决上述技术问题,本发明采用如下的技术方案:大口径高温高压套筒调节阀,包括阀体、上阀盖部件、阀芯以及阀杆,所述阀体内形成上腔、中腔和下腔,其特征在于:所述阀体上腔内同轴设置有上套筒和下套筒,阀芯由阀杆驱动在上套筒和下套筒内上下移动,阀体中腔处设置与阀芯密封配合的下阀座,阀芯的上端处套设有上阀座,上阀座与阀芯之间设有密封圈,所述阀芯上端还设有压盘,该压盘位于上阀座上方,压盘与上阀座之间通过弹簧连接,所述下套筒的上端内侧处与上阀座下端外侧处分别具有相互配合密封的密封斜面。下套筒上设置流量窗口。所述下套筒的上端开设有凹槽,所述上套筒的下端设有凸条,凹槽与凸条相匹配组装,凹槽与凸条之间设有密封垫片。
所述凹槽为圆环形凹槽,所述凸条为圆环形凸条。
所述上阀座滑动套设在阀芯上端处的连接导柱上。
所述阀芯外径与下套筒内径间隙配合,阀芯上端为外径变小的连接导柱。

本发明的有益效果为,本发明的大口径高温高压套筒调节阀将阀芯与阀体之间的密封结构分为上、下两部分,上部分密封结构通过压盘、上阀座、弹簧与下套筒形成配合的密封结构,借用弹簧的预紧力来调整上部分密封的位置,使上密封能够自动调节整体密封的吻合度,保证了上、下两密封结构能够同时达到密封。此不仅解决了因加工精度不高,导致上阀座与下套筒,下阀座与阀芯密封面难以同时密封的问题,且提高了调节阀的密封性能,密封可达到V级泄漏,并提升了其安全性能。因此,本发明与现有技术相比具有突出的实质性特点和显著的进步。

ZDLM大口径电动调节阀阀体参数
形 式
直通单座铸造球型阀
公称通径
20、25、32、40、50、65、80、100、125、150、200mm
公称压力
PN16、40、64bar
法兰标准
JB/T79.1-94、792-94等
材 料
铸钢( ZG230450)、铸不锈钢(ZGICr18Ni9Ti、ZGICr18Ni12M02Ti)等
上 阀 盖
标准型:-17-230℃ 散热型:230-450℃ 低温型:-60--196℃ 波纹管密封型:-40-350℃
阀盖形式
螺栓压紧式
填 料
V型聚四氟乙烯填料、含浸聚四氰乙烯石棉填料、石棉纺织填料、石墨填料
阀内组件
阀芯型式
单座柱塞型阀芯、套筒阀芯
流量特性
等百分比特性和线性特性
材 料
不锈钢(1Cr18Ni9Ti、1Cr18Ni12M02Ti、17-4PH、9Cr18、316L)、不锈钢堆司太莱合金、钛和耐腐蚀台金等。

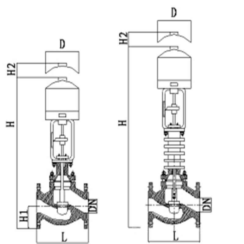
ZDLM大口径电动调节阀主要外形尺寸外形尺寸及重量 单位:mm
公祢通径
20
25
32
40
50
65
80
100
125
150
200
L
PN16/40
181
184
220
222
254
276
298
352
410
451
600
PN64
206
210
251
251
286
311
337
394
457
508
650
A
285
285
285
285
285
360
360
360
470
470
470
H1
PN16/40
128
128
152
152
160
205
205
208
273
330
364
PN64
140
140
160
160
180
210
210
220
290
340
370
H2
298
298
298
298
298
380
380
380
510
510
510
H3
PN16/40
208
208
224
228
228
334
334
342
408
453
482
PN64
220
220
240
240
240
350
350
360
420
470
500
H4
238
238
402
402
405
627
628
635
698
702
728
H5
PN16/40
53
58
68
73
80
90
98
108
123
140
168
PN64
63
68
75
83
88
100
105
125
148
170
203
C
220
220
220
220
220
270
270
270
320
320
320
H6
180
180
180
180
180
236
236
236
310
310
310
重量
(kg)PN16/40
21
22
24
32
38
62
67
83
132
160
245
PN64
24
25
30
42
52
78
82
102
170
190
285
备注:
1、表中重量为不带附件标准数据,也可安装侧装式手轮。
2、阀门法兰及法兰端面距可按用户指定标准制造,如:ANSI,JIS,DIN标准。主要外形尺寸
公祢通径
20
25
32
40
50
65
80
100
125
150
200
L
PN16/40
181
184
220
222
254
276
298
352
410
451
600
PN64
206
210
251
251
286
311
337
394
457
508
650
A
285
285
285
285
285
360
360
360
470
470
470
H1
700
700
700
700
700
700
700
700
700
700
700
H2
298
298
298
298
298
380
380
380
510
510
510
H3
88
88
88
88
88
94
94
94
110
110
110
H5
PN16/40
53
58
68
73
80
90
98
108
123
140
168
PN64
63
68
75
83
88
100
105
125
148
170
203
D1
PN16/40
230
230
250
270
305
342
375
430
490
556
665
PN64
270
270
305
342
375
430
490
556
665
665
765
D2
PN16/40
310
310
335
335
390
430
465
502
585
660
770
PN64
355
355
390
430
465
520
585
600
770
770
890
h
15
15
15
15
15
18
18
18
20
20
20
n-d
PN16/40
8-12
8-12
8-12
8-14
8-14
10-14
10-14
12-16
14-16
16-16
18-16
PN64
8-14
8-14
8-14
10-14
10-14
12-16
14-16
16-16
18-16
18-16
18-16
Y
45
45
60
65
75
90
104
135
165
195
245
C
220
220
220
220
220
270
270
270
320
320
320
H6
180
180
180
180
180
236
236
236
310
310
310
重量
(kg)
40
48
52
60
68
90
105
143
210
282
315
备注:
1、保温长度以700mm为例,表中重量为PN16数据,也可安装侧装式手轮。
2、阀门法兰及法兰端面距可按用户指定标准制造,如:ANSI,JIS,DIN标准。
主要外形尺寸公祢通径
20
25
32
40
50
65
80
100
125
150
200
L
181
184
220
222
254
276
298
352
410
451
600
A
285
285
285
285
285
360
360
360
470
470
470
H1
152
152
177
177
183
221
221
230
315
355
385
H2
298
298
298
298
298
380
380
380
510
510
510
H3
220
220
240
240
240
350
350
360
420
470
500
H5
75
81
89
95
109
121
133
146
160
180
210
L1
101
101
108
108
108
123
123
123
140
140
140
L2
126
126
126
130
141
156
170
180
200
220
265
C
220
220
220
220
220
270
270
270
320
320
320
H6
180
180
180
180
180
236
236
236
310
310
310
法兰规格DN
40
40
50
65
80
100
125
150
200
250
300
重量(kg)
26
27
35
44
56
84
88
109
185
202
305
备注:
1、表中数据位PN16数据,也可安装侧装式手轮。
2、阀门法兰及法兰端面距可按用户指定标准制造,如:ANSI,JIS,DIN标准。
大口径高温高压套筒调节阀,阀体上腔内同轴设上套筒和下套筒,阀芯由阀杆驱动在上套筒和下套筒内上下移动,阀体中腔处设置与阀芯密封配合的下阀座,阀芯的上端处套设上阀座,上阀座与阀芯之间设密封圈,阀芯上端还设压盘,该压盘于上阀座上方,压盘与上阀座通过弹簧连接,下套筒的上端内侧处与上阀座下端外侧处分别有相互配合的密封斜面;将密封结构分上、下两部分,上部分通过压盘、上阀座、弹簧与下套筒形成密封结构,借用弹簧预紧力来调整上部分密封的位置,使上密封能够自动调节整体密封的吻合度,保证了上、下两密封结构能够同时达到密封。不仅解决了因加工精度不高,导致上、下难以同时密封的问题,且提高了密封性能,密封可达到V级泄漏。

ZDLM大口径电动调节阀安装须知
1、安装前必须仔细阅读说明书,切断有关电源并必须由*技术人员进行安装。
2、水流方向必须同阀体上的箭头方向相同。
3、阀体须位于盘管接水盘上方,以保证出现滴水时落入接水盘中。
4、阀体及驱动器必须安装于垂直方向±60℃范围内,其上方应至少有30mm空间用于拆装。
5、与周围管道、设备、建筑物必须保持足够的维修操作空间,必须安装在维修人员通过检修孔能触及到的地方。
6、阀体安装完毕并与管路通过试压后才可安装驱动器。
7、若驱动器已经装到阀体上,那么在安装调试过程中绝对不能对驱动器施力,否则会损坏驱动器。

订货须知:
一、①产品名称与型号②口径③是否带附件以便我们的为您正确选型④的使用压力⑤的使用介质的温度。
二、若已经由设计单位选定公司的型号,请按型号直接向我司销售部订购。三、当使用的场合非常重要或环境比较复杂时,请您尽量提供设计图纸和详细参数,由我们的阀门公司专家为您审核把关。如有疑问:请:我们一定会尽心尽力为您提供优质的服务。提供全面、*的“阀门系统解决方案",也十分愿意帮助用户解决生产中所遇到的难题。
-
联系方式
- 联系人:申弘阀门
- 电 话:021-59260058
- 手 机:15901754341
- 传 真:86-021-31662735
- 邮 箱:494522509@qq.com
- 邮 编:201718
- 地 址:上海市青浦区金泽工业园区
- 网 址: https://bengye.cn.goepe.com/
http://www.021-fm.com
-
产品搜索





