-
Y45X先导式减压稳压阀申弘
详细信息| 询价留言Y45X先导式减压稳压阀 产品说明
本实用新型的目的在于提供一种调节流量大、结构简单、工作稳定可靠和成本低的减压稳压阀。一种由针形阀、主阀、导阀为主件,压力表、球阀、弯头和连接管为配件组成的先导式减压稳压阀,从主阀进水腔通过连接管串接一个针形阀连接到主阀阀盖腔,再从阀盖腔由连接管串接一个导阀连接到主阀出水腔,其特征在于在主阀心轴中心的进水腔内设置一个过滤网罩,在阀瓣的工作面上连接一个内圈沿为O形圈的环形橡胶密封垫7,能实现减压稳压,水质洁净,密封好的使用效果。

Y45X先导式减压稳压阀结构改进
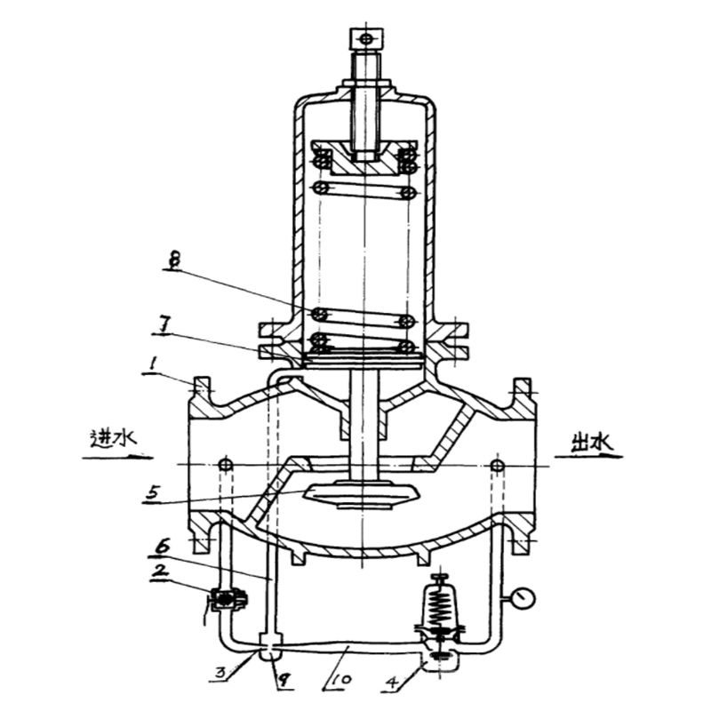
1.一种减压稳压阀主要由阀体、阀瓣、阀盖、弹簧、针形阀、调节螺杆、先导阀、调节阀、隔膜、阀杆和阀座组成,其特征在于,阀体上部设有阀盖,阀体与阀盖之间装有隔膜,隔膜将阀体和阀盖隔开,并且阀盖与隔膜之间形成阀腔,在阀腔内装设有弹簧,弹簧上部装有弹簧塞,弹簧下部装有弹簧座,弹簧座与隔膜抵触,所述阀瓣设置在阀体内,在阀体内还设有阀座,阀座可与阀瓣的下端接触密封,阀瓣由阀杆限定,在阀杆固定有定位环,定位环以上由阀杆穿过阀瓣,阀瓣的下端与定位环抵触,定位环以下的阀杆从一端套装在阀座内,所述阀座将阀体分隔成流入腔和流出腔两部分,所述先导阀通过导通管将阀腔与阀体的流出腔连接,并在先导阀与流出腔之间的导通管上设有压力表,在压力表与先导阀之间还连接有调节阀。
2.根据权利要求1所述的减压稳压阀,其特征在于,所述针形阀通过导通管将阀腔与阀体的流入腔连接,并在针形阀与流入腔之间的导通管上设有压力表。
3.根据权利要求1所述的减压稳压阀,其特征在于,阀杆穿过阀瓣的上端经隔膜延伸至阀腔内,弹簧座也套设有阀杆上,并在阀杆的上端用螺母将弹簧座、隔膜和阀瓣固定在一起。
4.根据权利要求1所述的减压稳压阀,其特征在于,所述阀体的流入腔的入口端设有进口法兰,阀体的流出腔的出口端设有出口法兰,阀体底部还设有排污口与排污丝堵配合。
5.根据权利要求1所述的减压稳压阀,其特征在于,调节螺杆一端从阀盖的顶部延伸至阀腔内与弹簧塞抵触,调节螺杆与阀盖螺纹配合,调节螺杆在阀盖外由套帽防护,套帽与阀盖螺纹配合。
本实用新型解决其技术问题所采用的技术方案是:减压稳压阀主要由阀体、阀瓣、阀盖、弹簧、针形阀、调节螺杆、先导阀、调节阀、隔膜、阀杆和阀座组成,阀体上部设有阀盖,阀体与阀盖之间装有隔膜,阀体、隔膜与阀盖之间由螺栓紧固连接,隔膜将阀体和阀盖隔开,并且阀盖与隔膜之间形成阀腔,在阀腔内装设有弹簧,弹簧上部装有弹簧塞,弹簧下部装有弹簧座,调节螺杆一端从阀盖的顶部延伸至阀腔内与弹簧塞抵触,调节螺杆与阀盖螺纹配合,调节螺杆在阀盖外由套帽防护,套帽与阀盖螺纹配合,弹簧座与隔膜抵触,
所述阀瓣设置在阀体内,在阀体内还设有阀座,阀座可与阀瓣的下端接触密封,阀瓣由阀杆限定,阀杆垂直设置,在阀杆固定有定位环,定位环以上由阀杆穿过阀瓣,阀瓣的下端与定位环抵触,定位环以下的阀杆从一端套装在阀座内、并且能够在阀座内作上、下移动,所述阀座将阀体分隔成流入腔和流出腔两部分,在阀瓣的下端与阀座接触时,阀体的流入腔和流出腔完全隔开、密封,阀瓣设在流出腔内,而且阀瓣的上端与隔膜抵触,阀杆穿过阀瓣的上端经隔膜延伸至阀腔内,
弹簧座也套设有阀杆上,并在阀杆的上端用螺母将弹簧座、隔膜和阀瓣固定在一起,并在拧紧螺母时能够通过阀瓣与弹簧座夹紧密封,所述阀体的流入腔的入口端设有进口法兰,阀体的流出腔的出口端设有出口法兰,阀体底部还设有排污口与排污丝堵配合。
所述先导阀通过导通管将阀腔与阀体的流出腔连接,并在先导阀与流出腔之间的导通管上设有压力表,为了方便控制,在压力表与先导阀之间还连接有调节阀;所述针形阀通过导通管将阀腔与阀体的流入腔连接,并在针形阀与流入腔之间的导通管上设有压力表。
工作时,水流从流入腔经针形阀进入阀腔,流出腔通过导通管作用到先导阀,当流出腔的压力高于先导阀调整的设定值时,先导阀关闭,阀腔内压力升高,阀瓣在阀腔的压力下由隔膜带动阀杆自动封闭阀座,流出腔压力不再升高;当流出腔的压力降至先导阀调整的设定值时,先导阀开启,水流从 阀腔流入流出腔排出,由于先导阀的排水量大于针形阀的进水量,阀腔内的压力下降,流入腔的压力推动阀瓣开启,在稳定状态下,阀腔内的进水量与排水量相同,阀瓣开启度不变,流出腔的出口压力稳定。
Y45X先导式减压稳压阀结构特点
本产品适用于高层建筑生活用水、消防用水中需减静压及动压的场合。
本产品可以取代中间水箱、节约中间水箱的费用,并可扩大建筑物的实际使用面积。
本产品可按实际情况任意调压,但进出口压力比不要超过10:1,进出口压力差不小于0.2MPa。
本产品可水平安装和垂直安装。
本产品带有过滤网,同时进出口带有压力表,因此在管路中不必加装过滤器和压力表。

Y45X先导式减压稳压阀主要器材表
编号
名称
型号规格
单位
数量
备注
1
给水管
DN50~DN200
管材材质设计定
2
闸 阀
Z41W-16T
个
2
或采用蝶阀
3
Y型过滤器
YSG4-16
个
1
4
先导式减压稳压阀
Y45X-16T
个
1
5
可曲挠橡胶接头
XGD1(16)
个
1
或采用管道伸缩器
型号
规格DN
D1
D2
n-d
H
A
重量(Kg)
阀体材质
Y15X-16T
32
内螺纹
≤290
180
6
青铜
40
内螺纹
≤250
180
9.4
Y45X-16T
50
165
125
4-19
≤380
230
21
铸铜
65
185
145
4-19
≤400
260
28
80
200
160
8-19
≤410
300
40
100
220
180
8-19
≤410
350
52
Y45X-16Q
125
250
210
8-19
≤510
420
75
球铁
150
285
240
8-23
≤520
480
100
200
340
295
12-23
≤690
585
193
本实用新型的有益效果是,本实用新型具有结构简单、安装调试方便、密封性能好、工作稳定可靠等优点,在供水系统、消防系统及其它工业给水系统中应用的减压稳压效果好,成本也低。 本产品主要由主阀及导阀组成,当液体经减压阀时,减压阀自动按设定出口压力减压。当阀门出口流量发生变化,引起压力波动,其波动值会经导阀反馈至主阀自动调整,直至出口压力回复至设定值,如出口流量增加,出口压力下降,减压阀会自动增大阀门开启量,出口压力随之回升,使出口压力保持在预先设定的压力点上,反之亦然。

Y45X先导式减压稳压阀安装要求
1,阀门安装前应将管道内冲洗干净、清除杂物。
2,安装时应注意箭头方向。
3,减压阀出厂时出口压力调整在0.10-0.15MPa,如有变动请调整导阀顶端调整螺栓,调好后主紧固螺母,不能松动。
4,安装后应经常查看压力表,检查阀后压力是否正常。
5如果发现出口压力不正常,可打开主阀底部阀盖,取出过滤网清除杂物,再复原。

订货须知:
一、①产品名称与型号②口径③是否带附件以便我们的为您正确选型④使用压力⑤使用介质的温度。
二、若已经由设计单位选定公司的呼吸阀型号,请型号直接向我司销售部订购。三、当使用的场合非常重要或环境比较复杂时,请您尽量提供设计图纸和详细参数,由我们的阀门公司专家为您审核把关。如有疑问:请:我们一定会尽心尽力为您提供优质的服务。提供zui全面、*的“阀门系统解决方案”,也十分愿意帮助用户解决生产中所遇到的难题。
-
联系方式
- 联系人:申弘阀门
- 电 话:021-59260058
- 手 机:15901754341
- 传 真:86-021-31662735
- 邮 箱:494522509@qq.com
- 邮 编:201718
- 地 址:上海市青浦区金泽工业园区
- 网 址: https://bengye.cn.goepe.com/
http://www.021-fm.com
-
产品搜索







