-
200X高层建筑给排水减压阀申弘
详细信息| 询价留言200X高层建筑给排水减压阀 产品说明
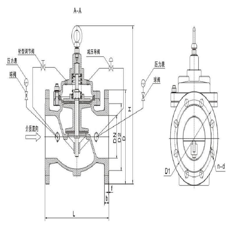
本实用新型的目的是这样实现的给排水减压稳压阀,它包括阀体、控制室;阀体内有阀座,阀座及控制室中央有连动导杆,上部套有弹簧的连动导杆中部有膜片,其特征是阀体及控制室的两侧分别各设有流道口并有管道连接且与阀体主流道构通;其中,控制室和阀体一侧的流道口之间的管道上设有单向阀与针阀;控制室和阀体另侧的流道口之间的管道上设有导阀与截止阀;阀座下端设有导孔,连动导杆穿过导孔并于连动导杆上、阀座上端设有阀瓣。

(1)不能用入户管上的支管减压阀代替系统分区减压阀减压。上述《建水规》3.3.5条的第1款是规定给水系统分区的压力值,即以该分区的*低卫生器具配水点处静水压≤0.45MPa为分区的压力值(2016修编版将对设有集中热水供应系统放宽到0.55MPa)。当采用减压阀分区时,应设专用分区减压阀,而不能用在静水压大于0.45MPa的分户支管上设支管减压阀代替分区减压阀。
(2)分区减压阀涉及整个供水分区的供水,故障时影响范围大。因此宜按树上鸟教育给排水设计杨老师《建水规》3.4.9条第5款的规定设两个减压阀。成减压阀组并联设置,且不得设旁通管。阀组应安装在易于检修的地方,阀组的布置如图3-1所示。
(3)人户管上的支管减压阀只服务于一户或单个卫生间,事故时,影响面小,因此一般不需设备用阀,其布置如图3-2所示。
(4)高层、超高层建筑不宜采用减压阀串联多级分区供水的系统。
①《建水规》3.4.9条第⒉款规定“阀后配水件处的*大压力应按减压阀失效情况下进行校核,其压力不应大于配水件的产品标准规定的水压试验压力。
注:
1.当减压阀串联使用时。按其中一个失效情况下,计算阀后*高压力;
上述设计中,导阀调节压力,代替弹簧,实现缩小体积,扩大调节范围,手动力矩小且不需旋转;启、闭截止阀可使主流道畅,又有其自身功能,使结构简单紧凑,体高及重量各仅为现有减压稳压阀的1/2,阀瓣*大开启面积接近通径面积,安装方便,即能水平安装,也能垂直安装,密封性能好,使用奉命长,由于传动力矩很小,所以操作也非常方便省力。
下面通过附图和实施例对本实用的新型再作进一步说明。针对高层、层建筑设计,是解决高层建筑生活用水、消防用水系统中,要求流量大、灵敏度高等场合的理想产品,其结构新颖合理、合理运用液压原理控制论;工作平稳可靠、大流量通行;阀瓣快开慢闭、无水锤冲击(关闭时间可调);减稳压精度高、调节范围大;密封性能好、使用寿命时间长;安装维修方便。性能 加优越,取代中间水箱,节约建筑中间水箱的费用,扩大建筑物的使用面积。

200X高层建筑给排水减压阀注意:
a、当减压阀的动态减压差△P 小于 0.15Mpa 时,宜选用差压式减压阀,且宜分层或分户设置;
b、当管径小于 DN50 时,宜选直接作用式减压阀;当管径大于等于 DN50 时,宜选用先导式减压阀;
c、串联减压的减压阀,宜采用不同类型的减压阀;供水干管串联减压,前一级减压阀可选用比例式减压阀,后一级减压阀可选用稳压式减压阀;(比例式减压阀的减压比:(4:1), 3:1,(2.5:1), 2:1,(3:2) (根据术语:比例式减压阀进口压力与出口压力成稳定比例关系),一般以 3:1, 2:1 比较常见,括号里的为非常规数值,一般较少使用)
d、多级减压阀可设置在需要串联减压的管道上。
200X高层建筑给排水减压阀技术参数:
公称压(Mpa)
壳体试验压力(MPa)
密封试验压力(MPa)
*高进口压力(MPa)
出口可调压力(MPa)
适用介质
介质温度(℃)
1.0
1.5
1.1
1.0
0.09-0.8
水
0-80
1.6
2.4
1.76
1.6
0.10-1.2
2.5
3.75
2.75
2.5
0.15-1.6
200X高层建筑给排水减压阀零件材料:
零件名称
零件材料
阀体 阀盖
WCB
阀座 阀盘
铜合金
密封圈 O型圈
丁腈橡胶
阀杆
2Cr13
弹簧
50CrVA
针型阀
铜合金
球阀
铜合金
浮球阀
铜合金
微型过滤器
不锈钢
200X高层建筑给排水减压阀结构图:
200X高层建筑给排水减压阀连接尺寸:
给排水减压稳压阀,它包括阀体、控制室;阀体内有阀座,阀座及控制室中央有连动导杆,上部套有弹簧的连动导杆中部有膜片,其特征是阀体及控制室的两侧分别各设有流道口并有管道连接且与阀体主流道构通;其中,控制室和阀体一侧的流道口之间的管道上设有单向阀与针阀;控制室和阀体另侧的流道口之间的管道上设有导阀与截止阀;阀座下端设有导孔,连动导杆穿过导孔并于连动导杆上、阀座上端设有阀瓣。DN
L
A
A1
H
H1
F
D mm
D1 mm
D2 mm
n-Φd
mm
mm
mm
mm
mm
mm
mm
PN1.0
PN1.6
PN2.5
PN1.0
PN1.6
PN2.5
PN1.0
PN1.6
PN2.5
PN1.0
PN1.6
PN2.5
20
180
292
136
342
247
116
105
105
105
75
75
75
58
58
56
4-13.5
4-13.5
4-14
25
180
292
136
342
247
116
115
115
115
85
85
85
68
68
65
4-13.5
4-13.5
4-14
32
180
292
136
342
247
116
140
140
140
100
100
100
78
78
76
4-17.5
4-17.5
4-18
40
240
330
155
395
278
170
150
150
150
110
110
110
88
88
84
4-17.5
4-17.5
4-18
50
240
330
155
395
278
170
165
165
165
125
125
125
102
102
99
4-17.5
4-17.5
4-18
65
250
350
165
405
298
180
185
185
185
145
145
145
122
122
118
4-17.5
4-17.5
8-18
80
285
365
175
430
313
210
200
200
200
160
160
160
133
133
132
8-17.5
8-17.5
8-18
100
360
410
195
510
350
275
220
220
235
180
180
190
158
158
156
8-17.5
8-17.5
8-22
125
400
455
220
560
365
310
250
250
270
210
210
220
184
184
184
8-17.5
8-17.5
8-26
150
455
475
230
585
420
355
285
285
300
240
240
250
212
212
211
8-22
8-22
8-26
200
585
530
255
675
450
460
340
340
360
295
295
310
268
268
274
8-22
12-22
12-26
250
650
623
300
730
470
500
395
405
425
350
355
370
320
320
330
12-22
12-26
12-30
300
800
700
340
760
490
580
445
460
485
400
410
430
370
370
389
12-22
12-26
16-30
350
860
840
415
840
526
640
505
520
555
460
470
490
430
430
448
16-22
16-26
16-33
400
960
880
430
910
570
715
565
580
620
515
525
550
482
482
503
16-26
16-30
16-36
450
1075
930
460
1030
610
780
615
640
670
565
585
600
532
550
548
20-26
20-30
20-36
500
1075
980
490
1135
665
830
670
715
760
620
650
660
585
585
609
20-26
20-33
20-36
600
1230
1060
530
1270
725
920
780
840
845
725
770
770
685
685
720
20-30
20-36
20-39
700
1650
1130
560
1460
865
980
895
910
960
840
840
875
800
800
820
24-30
24-36
24-42
800
1750
1230
610
1640
975
1050
1015
1025
1085
950
950
990
905
905
928
24-33
24-39
24-48
200X高层建筑给排水减压阀安装调试:
1.200X减压稳压阀主阀的安装方式是水平卧式安装,其他安装方式也可达到操作功能。安装前要清除管道内的杂物,要注意主阀体外水流标标箭头,遵循方向安装,安装后应确保没有管路应力作用在阀体及阀内部件上。
2.200X减压稳压阀前要安装一只闸阀和一只过滤器,主阀后也要装一只闸阀,以便于维修。
3.导阀与导管控制系统已于出厂前装配和调整完毕,如导阀出厂设定压力值不适合现场要求,可通过拧紧或放松导阀上端螺钉来调节,顺时针拧动螺钉为增加压力,逆时针拧动螺钉为减少压力,调节完后拧紧锁紧螺母。
4.减压阀主阀上的微型过滤器要定期清洗。
5.减压阀通水前的须冲洗管路系统。
6.减压阀对重要给水管路应安装旁通阀。订货须知:
一、①产品名称与型号②口径③是否带附件以便我们的为您正确选型④的使用压力⑤的使用介质的温度。
二、若已经由设计单位选定公司的型号,请按型号直接向我司销售部订购。三、当使用的场合非常重要或环境比较复杂时,请您尽量提供设计图纸和详细参数,由我们的阀门公司专家为您审核把关。如有疑问:请:我们一定会尽心尽力为您提供优质的服务。提供全面、*的“阀门系统解决方案",也十分愿意帮助用户解决生产中所遇到的难题。
-
联系方式
- 联系人:申弘阀门
- 电 话:021-59260058
- 手 机:15901754341
- 传 真:86-021-31662735
- 邮 箱:494522509@qq.com
- 邮 编:201718
- 地 址:上海市青浦区金泽工业园区
- 网 址: https://bengye.cn.goepe.com/
http://www.021-fm.com
-
产品搜索










