-
Y42X低压给水减压阀组申弘
详细信息| 询价留言Y42X低压给水减压阀组 产品说明
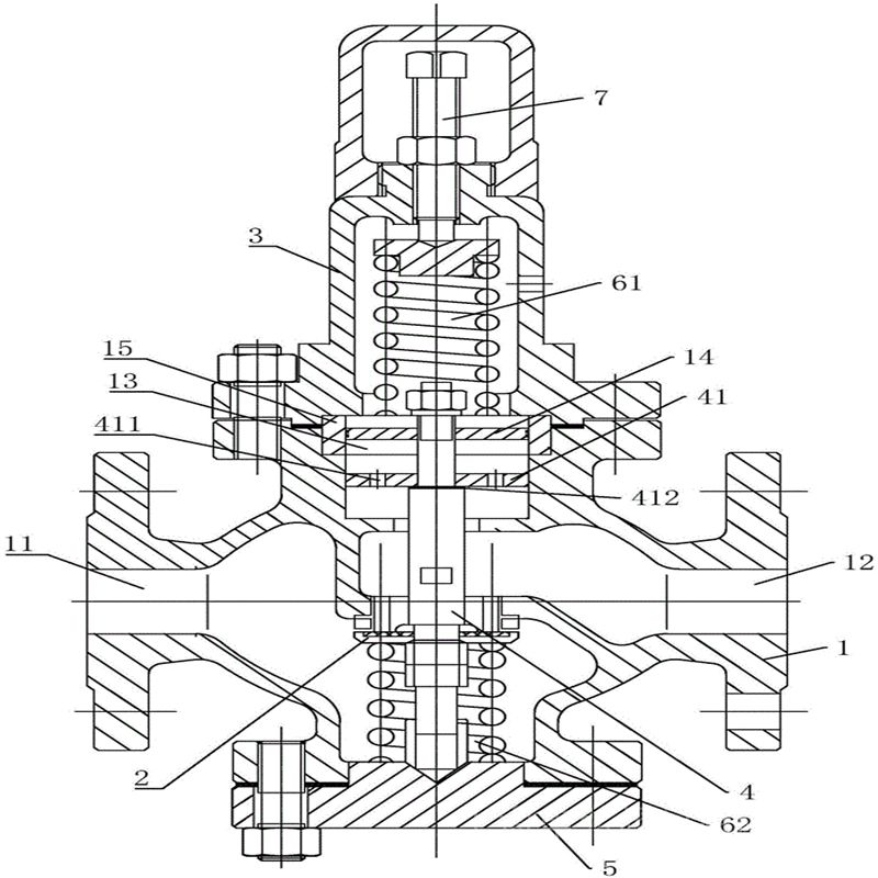
根据水力差动控制原理或水力先导控制(由减压先导阀控制主阀)原理,以出口压力的设定值为准,自动调节阀瓣的开启度和流量,实现出口压力的减压和稳定,并与进口压力的关联度较小,可通过弹簧调节装置,对减压阀出口压力进行有效调整。给水管道水力计算的目的是求定各计算管段设计秒流量后,正确求定各管段的管径、水压损失,紧急切断阀决定建筑内部给水系统所需的水压。在求得管网中各设计管段的设计流量后,根据水力学中流量公式可知,只需选定了设计流速,便可求得管径D。

1、生活或生产给水管道内的水流速度,不宜大于2.0m/s,干管流速一般采用1.2~2.0m/s。当有防噪音要求,且管径小于或等于250㎜时,生活给水管道内的水流速度可采用0.8~1.2m/s。连接卫生器具的支管为0.36~1.2m/s;干管、立管及横管1.0~1.8m/s。
2、消火栓灭火系统的水流速度不宜大于2.5m/s。
3、自动喷水灭火系统的水流速度不宜大于5.0m/s。
4、不允许断水的给水管网,如从几条引入管供水时,应假定其中有一条被关闭修理,其余引入管应按供给全部用水量进行计算;对于允许断水的给水管网,引入管应按同时使用计算。
5、引入管的管径,不宜小于20㎜。防止管内液体流速过大,以免产生噪音。
利用膜片直接传感下游压力驱动阀瓣,控制阀瓣开度完成减压稳压功能。通过调节调节弹簧压力设定出口压力、利用膜片传感出口压力变化,通过导阀启闭驱动活塞调节主阀节流部位过流面积的大小,实现减压稳压功能。在城市建筑、高层建筑的冷热供水系统中,可取代常规分区水管,节省设备。也可在通常的冷热水管网中,起减压稳压作用。
Y42X低压给水减压阀组主要零件材料:
零件名称 材料 阀体、上盖、下盖 灰铸铁、铸钢 调节弹簧 硅锰钢 活塞 不锈钢 缸套 不锈钢 三、Y42X低压给水减压阀组主要外形尺寸
(法兰尺寸PN1.0MPa按GB4216.2-84标准,
PN1.6MPa按GB4216.5-84标准,PN2.5MPa按GB9113.4-88标准)型号 尺寸(MM) Y410-10
Y416-16
Y425-25DN 15 20 25 32 40 50 65 80 100 125 150 200 L 160 160 180 200 200 220 280 310 350 450 520 550 H1 170 170 188 192 270 270 310 403 448 570 590 640 H2 75 75 77 82 98 98 138 152 170 222 242 262 四、Y42X低压给水减压阀组主要外形尺寸(法兰尺寸按JB/T79-94标准)
DN L H1 H PN16、25 PN40 PN64 PN16 PN25 PN40 PN64 PN16 PN25 PN40 PN64 20 160 160 170 90 90 90 90 220 220 220 220 25 180 200 200 95 95 100 105 255 255 265 265 32 200 220 220 100 100 100 110 255 255 265 265 40 220 240 240 115 115 130 130 325 325 330 330 50 250 270 270 120 120 135 135 325 325 330 330 65 260 280 300 125 125 130 145 330 330 340 355 80 310 330 330 135 135 150 160 340 340 340 340 100 350 380 380 108 108 185 185 317 317 360 360 125 400 450 450 190 200 200 245 560 560 565 565 150 450 500 500 205 210 240 280 580 580 585 585 200 500 560 560 220 245 245 310 630 630 635 635 250 600 - - 270 - - - 750 - - - 300 800 - - 310 - - - 780 - - - 350 850 - - 390 - - - 850 - - - 400 900 - - 420 - - - 925 - - - 使阀杆的往复移动具有较好的导向作用,同时本减压阀的阀体具有结构较为合理的优点。密封凸体的外缘呈弧形,具有密封效果较好且不易本文中所描述的具体实施例仅仅是对本实用新型精神作举例说明。本实用新型所属技术领域的技术人员可以对所描述的具体实施例做各种各样的修改或补充或采用类似的方式替代,但并不会偏离本实用新型的精神或者超越所附权利要求书所定义的范围。

Y42X低压给水减压阀组的现场调试检查宜按下述步骤进行:
1 检查阀组进口压力是否符合设计要求;
2 分别开启单路减压阀组的检修阀和阀后水龙头,分别检查出口动压是否符合设计要求;
3 开启阀后多个水龙头,检查出口动压是否符合设计要求。
4 关闭是所有水龙头后,检查出口静压是否符合设计要求。
减压阀调压步骤
1、关闭减压阀前的闸阀,开启减压阀后的闸阀,制造下游低压环境将调节螺钉按逆时针旋转至*上位置(相对*低出口压力),然后关闭减压阀后闸阀
2、慢慢开启减压阀前的闸阀至全开;
3、顺时针慢慢旋转调节螺钉,将出口压力调至所需要的压力(以阀后表压为准);调整好后,将锁紧
4、螺母锁紧打开减压阀后闸阀
5、如在调整时出口压力高于设定压力,须从*步开始重新调整,即只能从低压向高压调。
订货须知:
一、①产品名称与型号②口径③是否带附件以便我们的为您正确选型④的使用压力⑤的使用介质的温度。
二、若已经由设计单位选定公司的型号,请按型号直接向我司销售部订购。三、当使用的场合非常重要或环境比较复杂时,请您尽量提供设计图纸和详细参数,由我们的阀门公司专家为您审核把关。如有疑问:请:我们一定会尽心尽力为您提供优质的服务。提供全面、*的“阀门系统解决方案",也十分愿意帮助用户解决生产中所遇到的难题。
-
联系方式
- 联系人:申弘阀门
- 电 话:021-59260058
- 手 机:15901754341
- 传 真:86-021-31662735
- 邮 箱:494522509@qq.com
- 邮 编:201718
- 地 址:上海市青浦区金泽工业园区
- 网 址: https://bengye.cn.goepe.com/
http://www.021-fm.com
-
产品搜索







