-
200X先导式减压稳压阀申弘
详细信息| 询价留言200X先导式减压稳压阀 产品说明
减压稳压阀由主阀、导阀、针阀、球阀、微型过滤器和压力表组成水力控制接管系统。使用时,当调定出口压力后,能自动保持稳定出口压力。是一种利用介质自身能量调节与控制管路压力的职能型阀门,广泛适用于生活给水、消防给水及其他工业给水系统,通过调节减压导阀,即可调节主阀的出口压力。出口压力不因进口压力、进口流量的变化而变化,安全可靠地将出口压力维持在设定值上,并可根据需要调节设定值以达到减压目的。该阀减压精确, 性能稳定、安全可靠、安装方便,使用寿命长。
200X先导式减压稳压阀工作原理:
当阀门从进口端给水时,水流过针阀进入主阀控制室,出口压力通过导管作用到导阀上。当出口压力高于导阀弹簧设定值时,导阀关闭。控制室停止排水,此时主阀控制室内压力升高并关闭主阀,出口压力不再升高。当阀门出口压力降到导阀弹簧设定压力时,导阀开启,控制室向下游排水。由于导阀系统排水量大于针阀的进水量,主阀控制室压力下降。进口压力使主阀开启。在稳定状态下,控制室进水、排水相同,主阀开度不变,出口压力稳定。

调节导阀弹簧即可设定出口压力。本产品利用导阀自力控制,不需要其它装置和能源,保养简便,压力控制准确度高,受进口压力和流量影响小,减压稳压可靠。广泛用于高层建筑、生活区等供水管网系统及城市供水工程。
先导式减压阀针对高层、层建筑设计,是解决高层建筑生活用水、消防用水系统中,要求流量大、灵敏度高等场合的理想产品,其结构新颖合理、合理运用液压原理控制论;工作平稳可靠、大流量通行;阀瓣快开慢闭、无水锤冲击(关闭时间可调);减稳压精度高、调节范围大;密封性能好、使用寿命时间长;安装维修方便。性能 加, 取代中间水箱,节约建筑中间水箱的费用,扩大建筑物的使用面积。

200X型先导式减压阀性能特点:
结构新颖合理、合理运用液压原理控制论;
工作平稳可靠、大流量通行;
阀瓣快开慢闭、无水锤冲击(关闭时间可调);
减稳压精度高、调节范围大;
200X先导式减压稳压阀技术参数:
公称压(Mpa)
壳体试验压力(MPa)
密封试验压力(MPa)
*高进口压力(MPa)
出口可调压力(MPa)
适用介质
介质温度(℃)
1.0
1.5
1.1
1.0
0.09-0.8
水
0-80
1.6
2.4
1.76
1.6
0.10-1.2
2.5
3.75
2.75
2.5
0.15-1.6
零件材料:
零件名称
零件材料
阀体 阀盖
WCB
阀座 阀盘
铜合金
密封圈 O型圈
丁腈橡胶
阀杆
2Cr13
弹簧
50CrVA
针型阀
铜合金
球阀
铜合金
浮球阀
铜合金
微型过滤器
不锈钢
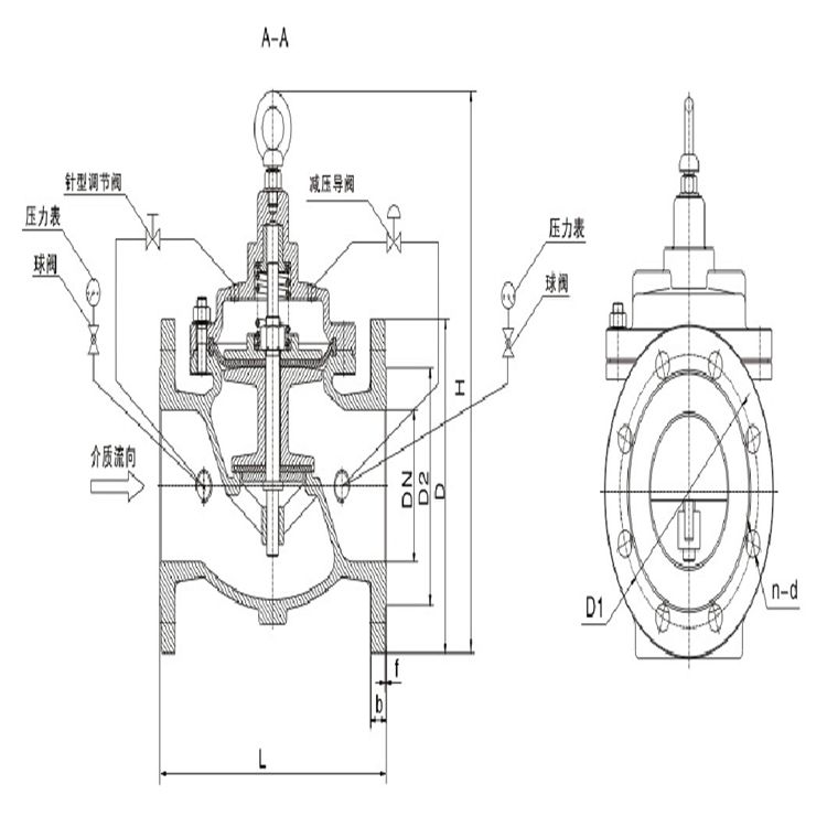
200X先导式减压稳压阀结构图:
200X先导式减压稳压阀连接尺寸:
DN
L
A
A1
H
H1
F
D mm
D1 mm
D2 mm
n-Φd
mm
mm
mm
mm
mm
mm
mm
PN1.0
PN1.6
PN2.5
PN1.0
PN1.6
PN2.5
PN1.0
PN1.6
PN2.5
PN1.0
PN1.6
PN2.5
20
180
292
136
342
247
116
105
105
105
75
75
75
58
58
56
4-13.5
4-13.5
4-14
25
180
292
136
342
247
116
115
115
115
85
85
85
68
68
65
4-13.5
4-13.5
4-14
32
180
292
136
342
247
116
140
140
140
100
100
100
78
78
76
4-17.5
4-17.5
4-18
40
240
330
155
395
278
170
150
150
150
110
110
110
88
88
84
4-17.5
4-17.5
4-18
50
240
330
155
395
278
170
165
165
165
125
125
125
102
102
99
4-17.5
4-17.5
4-18
65
250
350
165
405
298
180
185
185
185
145
145
145
122
122
118
4-17.5
4-17.5
8-18
80
285
365
175
430
313
210
200
200
200
160
160
160
133
133
132
8-17.5
8-17.5
8-18
100
360
410
195
510
350
275
220
220
235
180
180
190
158
158
156
8-17.5
8-17.5
8-22
125
400
455
220
560
365
310
250
250
270
210
210
220
184
184
184
8-17.5
8-17.5
8-26
150
455
475
230
585
420
355
285
285
300
240
240
250
212
212
211
8-22
8-22
8-26
200
585
530
255
675
450
460
340
340
360
295
295
310
268
268
274
8-22
12-22
12-26
250
650
623
300
730
470
500
395
405
425
350
355
370
320
320
330
12-22
12-26
12-30
300
800
700
340
760
490
580
445
460
485
400
410
430
370
370
389
12-22
12-26
16-30
350
860
840
415
840
526
640
505
520
555
460
470
490
430
430
448
16-22
16-26
16-33
400
960
880
430
910
570
715
565
580
620
515
525
550
482
482
503
16-26
16-30
16-36
450
1075
930
460
1030
610
780
615
640
670
565
585
600
532
550
548
20-26
20-30
20-36
500
1075
980
490
1135
665
830
670
715
760
620
650
660
585
585
609
20-26
20-33
20-36
600
1230
1060
530
1270
725
920
780
840
845
725
770
770
685
685
720
20-30
20-36
20-39
700
1650
1130
560
1460
865
980
895
910
960
840
840
875
800
800
820
24-30
24-36
24-42
800
1750
1230
610
1640
975
1050
1015
1025
1085
950
950
990
905
905
928
24-33
24-39
24-48
200X先导式减压稳压阀安装示意图:
200X先导式减压稳压阀安装调试:
1、减压稳压阀主阀的理想安装方式是水平卧式安装,其他安装方式也可达到操作功能。安装前要彻底清除管道内的杂物,要注意主阀体外水流标标箭头,遵循方向安装,安装后应确保没有管路应力作用在阀体及阀内部件上。
2、减压稳压阀前要安装只闸阀和只过滤器,主阀后也要装只闸阀,以便于维修。
3、导阀与导管控制系统已于出厂前装配和调整完毕,如导阀出厂设定压力值不适合现场要求,可通过拧紧或放松导阀上端螺钉来调节,顺时针拧动螺钉为增加压力,逆时针拧动螺钉为减少压力,调节完后拧紧锁紧螺母。
4、减压阀主阀上的微型过滤器要定期清洗。
5、减压阀通水前的须彻底冲洗管路系统。
订货须知:
一、①产品名称与型号②口径③是否带附件以便我们的为您正确选型④使用压力⑤使用介质的温度。
二、若已经由设计单位选定公司的型号,请型号直接向我司销售部订购。三、当使用的场合非常重要或环境比较复杂时,请您尽量提供设计图纸和详细参数,由我们的阀门公司专家为您审核把关。如有疑问:请:我们一定会尽心尽力为您提供优质的服务。提供全面的“阀门系统解决方案",也十分愿意帮助用户解决生产中所遇到的难题。
-
联系方式
- 联系人:申弘阀门
- 电 话:021-59260058
- 手 机:15901754341
- 传 真:86-021-31662735
- 邮 箱:494522509@qq.com
- 邮 编:201718
- 地 址:上海市青浦区金泽工业园区
- 网 址: https://bengye.cn.goepe.com/
http://www.021-fm.com
-
产品搜索










