-
V230Y直接作用自力式燃气调节阀申弘
详细信息| 询价留言V230Y直接作用自力式燃气调节阀 产品说明
自力式调节阀依靠流经阀内介质自身的压力、温度作为能源驱动阀门自动工作,不需要外接电源和二次仪表。又称自力式控制阀。本实用新型提出了一种自力式定量压差控制阀,包括内部分为上下腔体的阀体,设置在阀体上的上阀盖,下阀盖,设置在上阀盖上的导压管,设置在阀体上的自动压差控制装置,设置在上阀盖上的压差设定装置;阀体下腔体内部设置有手动定量装置,手动定量装置包括定量阀杆,第二阀塞,阀塞,阀塞密封垫,定量密封套;自动压差控制装置包括感压膜,上膜垫,自动阀杆,下膜垫,弹簧,自动阀套,自动阀塞;感压膜与上阀盖之间形成控制腔体.本实用新型利用自动压差控制装置压差调节作用和手动定量装置阻力调节作用两种方式相结合来恒定压差控制流量,可以解决供热系统水利失调问题,消除外网压力波动对被控环路的影响,减少不必要的流量浪费.
油气生产装置上含水天然气的压力自调节系统中,采用自力式调节阀进行压目前,(湿气),水(湿气)进入到自力式调节阀的膜头里,会造由于天然气中含水力调节,成自力式调节阀的调节失灵,对安全尘产产生较大的隐患(全干气没有影响),传统的自力式调节阀。而要排出调节阀膜头里面的水非常麻烦,需要将阀门全部拆下,大概需要6-8个工时,并且在操作期间,调节系统不能工作,间接损失也比较大。
本实用新型的目的在于提供一种自力式调节阀的排水装置,以解决上述背景技术中提出的问题。由阀体、阀座、阀芯部件等零部件组成,是一种无需外加能源而直接依靠被调介质自身的压力变化进行自动调节压力的节能型产品,可用于非腐蚀性(*高温度350摄氏度)液体、气体和蒸汽等介质的压力装置。广泛应用于石油、化工、冶金、轻工等工业部门及城市供热、供暖系统。V230自力式压力调节阀产品特点
自力式压力调节阀无需外加能源,能在无电无气的场所工作,既方便又节约了能源。
压力分段范围细且互相交叉,调节精度高。
压力设定值在运行期间可连续设定。
对阀后压力调节,阀前压力与阀后压力之比可为10:1~10:8。
橡胶膜片式检测,执行机构测精度高、动作灵敏。
采用压力平衡机构,使调节阀反应灵敏、控制精确。
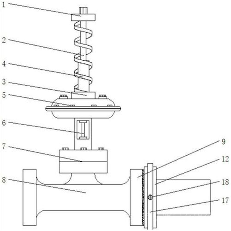
为实现上述目的,本实用新型提供如下技术方案:一种自力式调节阀的排水装置,包括取压管线和自力式调节阀主体,所述取压管线的一端通过螺纹可拆卸安装在螺纹孔中,所述自力式调节阀主体通过螺纹可拆卸安装在燃气管道上,所述自力式调节阀主体的顶端焊接安装有底座,所述底座的顶端面焊接安装有膜头,所述膜头的一侧面开有贯穿膜头的螺纹孔,所述膜头开有螺纹孔一侧的另一对称侧开有不贯穿膜头的第二螺纹孔,所述第二螺纹孔的旁侧开有贯穿膜头的备用取压孔,所述第二螺纹孔通过螺纹可拆卸连接排水管,所述排水管上通过螺纹可拆卸安装有电控调节阀。
优选的,所述膜头的内部焊接安装有压力传感器。
优选的,所述螺纹孔和备用取压孔的螺纹尺寸和孔径相同。
优选的,所述取压管线通过螺纹可拆卸安装有压力测量表。
规格与技术参数
公称通径 mm
15
20
25
32
40
50
65
80
100
125
150
200
250
额定流量系数 Kvs
3.2
5
8
12.5
20
32
50
80
125
160
320
450
630
公称压力 MPa
1.6 ; 4.0
Z 值
0.6
0.6
0.6
0.55
0.55
0.5
0.5
0.45
0.4
0.35
0.3
0.2
0.2
*高工作温度℃
V230 V231
液体≤ 140 ;气体≤ 80
硬密封 V230
配隔离罐≤ 200
配隔离罐和加长件≤ 300*
配隔离罐和散热片≤ 200
压力平衡元件
波纹管
滚动膜片
法 兰 标 准
DIA (亦可按用户要求提供法兰标准)
阀 体 材 质
PN16 :铸铁(工作温度≤ 200 ℃);
PN4.0 :铸钢、铸不锈钢(工作温度≤ 350 ℃)
阀 芯 材 质
不锈钢;软密封为不锈钢镶嵌橡胶圈
*高工作压力 MPa
公称压力(注意△ Pmax 及工作压力与工作温度的关系)
注:
1、液体>140℃、气体>80 ℃时阀倒装;
2、Z值:噪音衡量系数,该值用来衡量噪音大小,具体计算详见自力式调节阀选择指南。V230自力式压力调节阀外形尺寸及重量
V230/V231控制阀尺寸及重量
公称通径 mm
20
25
32
40
50
65
80
100
125
150
200
250
L mm
150
160
180
200
230
290
310
350
400
480
600
730
B mm
212
238
238
240
240
275
275
380
380
295
325
372
大约重量 kg
6.7
9.7
13
14
17
29
33
60
70
80
140
220
执行器尺寸及重量
有效面积 cm 2
32
80
250
630
D mm
172
172
263
380
H mm
435
430
470
520
大约重量 kg
7.5
7.5
13
28

本实用新型的技术效果和优点:该自力式调节阀的排水装置,通过在膜头内部安装压力传感器,并配合取压管线上的压力测量表,能够非常方便快捷的测量出膜头内部的压力,在膜头上开设备用取压孔,一方面能够在设备出现问题时,非常方便的对设备进行维修,提高了装置的使用方便性和工作效率,另一方面在一定程度上降低了设备的使用成本,提高了经济型。该自力式调节阀的排水装置,生产成本低,维修方便快捷,经济实用。*后应说明的是:以上所述仅为本实用新型的优选实施例而已,并不用于限制本实用新型,尽管参照前述实施例对本实用新型进行了详细的说明,对于本领域的技术人员来说,其依然可以对前述各实施例所记载的技术方案进行修改,或者对其中部分技术特征进行等同替换,凡在本实用新型的精神和原则之内,所作的任何修改、等同替换、改进等,均应包含在本实用新型的保护范围之内。

订货须知:
一、①产品名称与型号②口径③是否带附件以便我们的为您正确选型④的使用压力⑤的使用介质的温度。
二、若已经由设计单位选定公司的型号,请按型号直接向我司销售部订购。三、当使用的场合非常重要或环境比较复杂时,请您尽量提供设计图纸和详细参数,由我们的阀门公司专家为您审核把关。如有疑问:请:我们一定会尽心尽力为您提供优质的服务。提供全面“阀门系统解决方案",也十分愿意帮助用户解决生产中所遇到的难题。
-
联系方式
- 联系人:申弘阀门
- 电 话:021-59260058
- 手 机:15901754341
- 传 真:86-021-31662735
- 邮 箱:494522509@qq.com
- 邮 编:201718
- 地 址:上海市青浦区金泽工业园区
- 网 址: https://bengye.cn.goepe.com/
http://www.021-fm.com
-
产品搜索










