-
JIS日标法兰液化气截止阀申弘
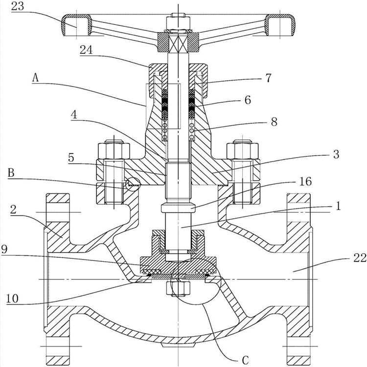
详细信息| 询价留言JIS日标法兰液化气截止阀 产品说明
专为石油天然气、氨气,燃气,蒸气的管路或装置设计。结构上注意了防火要求。填料采用聚四氟乙烯,密封可靠、绝对物外漏。密封副材料采用聚四氟乙烯或尼龙对阀体本体材料,为软密封,密封可靠。适用于氨气,液化石油气管路系统,作为启闭装置,也适用于其他温度≤80℃的管路。
天然气专用截止阀具有密封性能稳定、使用安全可靠、耐腐蚀性强、无介质内、外漏以及操作轻便等特点,成功解决了化工管道用普通阀门耐腐蚀性能差、壳体易穿孔以及密封性能差、易泄露的难题,特别适用于化工行业氨气,燃气管道的传送,并满足长期可靠使用的要求。其密封性、可维修性、安全性等。

燃气截止阀是一种燃气管道工程的安全配套装置,主要用于截断、接通、调节管路中的可燃性气体,具有良好的控制特性和关闭密封性能。其采用弹性V形聚四氟乙烯、柔性石墨或橡胶作为动密封填料,由填料盖、不锈钢弹簧提供初始密封,填料密封性能随介质压力上升而增强,即具有自密封性能,无需人工维护,特别适用于高中压输送管道。本产品被广泛应用城市供气管网系统煤气、液化石油气、天然气、氧气等多种燃气介质管路上。

二、JIS日标法兰液化气截止阀产品特点:
1、针对普通阀门耐腐蚀性能差、壳体易穿孔的缺点,根据介质具体特性,阀体材料上选用耐腐蚀钢(碳素钢添加耐蚀合金元素),可耐氨气、液氨腐蚀,低温可至-40℃,限度保证工况条件使用要求。
2、日标截止阀密封副配对结构型式采用球、平面型,密封自动补偿,达到双重保险的效果,密封性能稳定,无粘着磨损,有效地解决了化工管道用普通阀门密封性能差、易泄露的难题。
3、产品中法兰采用榫槽密封结构,即使在管道压力波动的情况下,保证中法兰密封绝对可靠。

JIS日标法兰液化气截止阀主要零件材料阀体 阀杆、阀瓣 密封面 填料 碳钢 不锈钢 不锈钢和101 聚四氟乙烯 尼龙
JIS日标法兰液化气截止阀性能参数
液化气截止阀主要外型尺寸公称压力PN JIS10K JIS20K MPa 1.6 2.5 4.0 壳体试验压力PN 2.4 3.75 6.0 高压密封试验压力 1.76 2.75 4.4 适用介质 液化气、天然气等 适用温度 -40∽+80℃ 法兰连接标准 JB/T 79-94 PN DN L H D D1 D2 b f Z-φd D0
2.5MPa
4.0MPa
10K
20K
15 130 207 95 65 45 16 2 4-14 120 20 150 217 105 75 55 16 2 4-14 140 25 160 219 115 85 65 16 2 4-14 160 32 190 280 135 100 78 18 2 4-18 180 40 200 330 145 110 85 18 3 4-18 200 50 230 350 160 125 100 20 3 4-18 240 65 290 400 180 145 120 22 3 8-18 280 80 310 430 195 160 135 22 3 8-18 320 100 350 465 230 190 160 24 3 8-23 360 125 400 502 270 220 188 28 3 8-25 400 150 480 560 300 250 218 30 3 8-25 440 200 600 580 360 310 278 34 4 12-25 480
1、安装阀门时注意介质的流向,严格按阀门流向箭头指示的方向安装。
2、阀门可安装的管道的任何位置、同时根据介质和介质的温度选择碳钢或合金钢的阀门。
3、J41N液化气专用截止阀尽量垂直安装,阀杆向上。
订货须知:
一、①产品名称与型号②口径③是否带附件以便我们的为您正确选型④使用压力⑤用介质的温度。
二、若已经由设计单位选定公司的型号,请型号直接向我司销售部订购。三、当使用的场合非常重要或环境比较复杂时,请您尽量提供设计图纸和详细参数,由我们的阀门公司专家为您审核把关。如有疑问:请:我们一定会尽心尽力为您提供优质的服务。提供全面“阀门系统解决方案”,也十分愿意帮助用户解决生产中所遇到的难题。
-
联系方式
- 联系人:申弘阀门
- 电 话:021-59260058
- 手 机:15901754341
- 传 真:86-021-31662735
- 邮 箱:494522509@qq.com
- 邮 编:201718
- 地 址:上海市青浦区金泽工业园区
- 网 址: https://bengye.cn.goepe.com/
http://www.021-fm.com
-
产品搜索








