-
申弘真空球阀GU
详细信息| 询价留言GU真空球阀产品说明
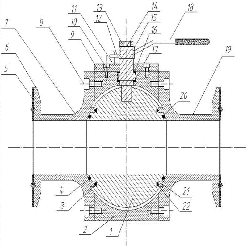
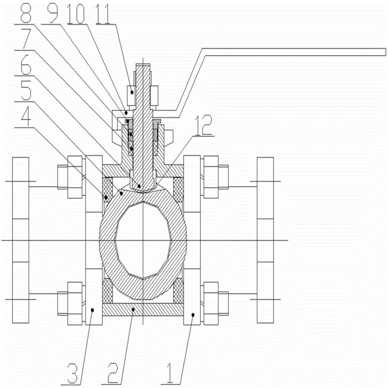
GU真空球阀是在1.3×10-7~6×105Pa的真空系统中用来开启或隔断气流的阀门,广泛适用各类气体,液体等正、负压力管道系统,符合GMP标准。是一种手动阀门。它具有高流导,连接形式多样等特点,是真空和压力能同时兼用的一种阀门。适用的介质为非腐蚀性气体。是乳品、酒业、生物工程、食品、制药、饮料、化工、化妆品等领域的常选阀门。真空球阀是20世纪90年代研制的一种真空阀门。它的工作原理类似于真空蝶阀,是靠固定在转动轴上的球体旋转90°实现阀门的开启和关闭。真空球阀比真空蝶阀开闭速度快,而体积和漏率都较真空蝶阀大。

由于其结构中阀体、阀杆为不锈钢,阀座、填料等密封材料均为聚四氟乙烯,因而适用于介质为空气、水、蒸汽、酸、碱等。介质温度范围为-25~120℃,适用于工作压力为1×10-3~1.6×106Pa真空系统和压力系统中接通或切断带有酸、碱性的气体及液体的介质流。
真空球阀GU性能特点:
①开关锁定设计:开关锁定在必须保持阀门现有的位置时防止意外被误操作的风险,球阀的平台和手柄带有锁孔,用挂锁将阀在关闭位或开启位锁定;
②高平台设计:采用ISO5211直接安装执行器的平台设计,无需连接支架和轴套,可直接安装驱动装置,便于实行智能化。

GU真空球阀在真空系统中作用
1.开关气路,当阀1和阀4 关闭,阀2打开时,机械真空泵Ⅲ对容器I抽真空,气流流经预真空抽气管路;当阀2关闭,阀4打开时,机械泵可单独对扩散泵抽真空;当阀1和阀4同时打开时,扩散泵和机械泵可同时工作,对容器进行抽空,此时气流流经扩散泵。可见,阀门在这种操作中的作用是开关气路,改变气流的流经路线。
2.控制气流大小,调节真空度在图1中,调节阀1的阀盖开启角度,即可调节流经管路的气流量大小;关闭阀2和阀4,通过放气阀3可以给机械泵Ⅲ的入口放成大气;通过放气阀5可以调节容器内的真空度。
3.定量充气,在玻璃阀的柱塞上有个一定体积的小洞,当小洞转向右边和高压气瓶连通时,小洞中就可充满高压气体;当它转向左边和真空容器连通时,就把该体积的高压气体放进容器中去,这样就起到了定量充气的作用。

真空球阀主要性能:
● 漏率:阀体 ≤1.3×10-9Pa.M3/S;
● 压力范围:1.3×10-7Pa~6×105Pa;
● 工作介质:水、蒸气、酸、碱。
● 工作温度:-30℃~+150℃。
● 安装位置:任意。
● 寿命:≥20000次。主要性能:
● 漏率:阀体 ≤1.3×10-9Pa.M3/S;
● 压力范围:1.3×10-7Pa~6×105Pa;
● 工作介质:水、蒸气、酸、碱。
● 工作温度:-30℃~+150℃。
● 安装位置:任意。
● 寿命:≥20000次。

GU真空球阀主要技术性能阀门漏率:Valve Leak Rate ≤1.3×10-4Pa.L/S. 适用温度:Applicable Temperature -30~+150℃
-30~+150℃(PPL密封)适用范围:Appy Range 连接型式 Loose Flange 使用压力范围(Pa) 活套法兰(GB6070、JB919) 0.6×106~1.3×10-4 焊接法兰(GB6070、JB919) 1.6×106~1.3×10-4 快卸法兰(GB4982) 0.1×106~1.3×10-4 螺纹连接 Threaded Connection 1.6×106~1.3×10-4 型号及外形尺寸、性能参数:
活套法兰连接
型号DNDDoHELn-φcGU-10(F)10554052105844-φ6.6GU-16(F)16604564130844-φ6.6GU-25(F)257055831651144-φ6.6GU-32(F)329070891651404-φ9GU-40(F)40100801001901604-φ9GU-50(F)50110901251901704-φ9GU-63(F)631301101502501954-φ9GU-80(F)801451251612502208-φ9GU-100(F)1001651451802802808-φ9GU真空球阀快卸法兰连接
型号DND1DHELGU-10(KF)1012.2305210584GU-16(KF)1617.2306413084GU-25(KF)2526.24083165114GU-32(KF)3234.25589165140GU-40(KF)4041.255100190160GU-50(KF)5052.275125190170
GU真空球阀安装维护
高真空球阀适用的介质为空气及弱腐蚀性气体。是乳品、酒业、生物工程、食品、制药、饮料、化工、化妆品等领域的常选阀门。该球阀产品并已广泛应用于新能源、真空铸造、真空镀膜行业及半导体产业。

注意:球阀在关闭状态下,阀体内部依旧存在受压流体
维修前,解除管线压力并使阀门处于打开位置
维修前,断开电源或气源
维修前,将执行机构与支架脱离
必须先查明球阀上、下游管道确已卸除压力后,才能进行拆卸分解操作
分解及再装配时必须小心防止损伤零件的密封面,特别是非金属零件,取出O 型圈时宜使用专用工具
装配时法兰上的螺栓必须对称、逐步、均匀地拧紧
清洗剂应与球阀中的橡胶件、塑料件、金属件及工作介质(例如燃气)等均相容。工作介质为燃气时,可用汽油(GB484-89)清洗金属零件。非金属零件用纯净水或酒精清洗
分解下来的单个零件可以用浸洗方式清洗。尚留有未分解下来的非金属件的金属件可采用干净的细洁的浸渍有清洗剂的绸布(为避免纤维脱落粘附在零件上)擦洗。清洗时须去除一切粘附在壁面上的油脂、污垢、积胶、灰尘等
非金属零件清洗后应立即从清洗剂中取出,不得长时间浸泡
清洗后需待被洗壁面清洗剂挥发后(可用未浸清洗剂的绸布擦)进行装配,但不得长时间搁置,否则会生锈、被灰尘污染
新零件在装配前也需清洗干净
使用润滑脂润滑。润滑脂应与球阀金属材料、橡胶件、塑料件及工作介质均相容。工作介质为燃气时,可用例如特221 润滑脂。在密封件安装槽的表面上涂一薄层润滑脂,在橡胶密封件上涂一薄层润滑脂,阀杆的密封面及摩擦面上涂一薄层润滑脂
装配时应不允许有金属碎屑、纤维、油脂(规定使用的除外)灰尘及其它杂质、异物等污染、粘附或停留在零件表面上或进入内腔

订货须知:
一、①产品名称与型号②口径③是否带附件以便我们的为您正确选型④的使用压力⑤的使用介质的温度。
二、若已经由设计单位选定公司的型号,请按型号直接向我司销售部订购。
三、当使用的场合非常重要或环境比较复杂时,请您尽量提供设计图纸和详细参数,由我们的阀门公司专家为您审核把关。如有疑问:请:我们一定会尽心尽力为您提供优质的服务。提供全面、*的“阀门系统解决方案",也十分愿意帮助用户解决生产中所遇到的难题。 -
联系方式
- 联系人:申弘阀门
- 电 话:021-59260058
- 手 机:15901754341
- 传 真:86-021-31662735
- 邮 箱:494522509@qq.com
- 邮 编:201718
- 地 址:上海市青浦区金泽工业园区
- 网 址: https://bengye.cn.goepe.com/
http://www.021-fm.com
-
产品搜索





