-
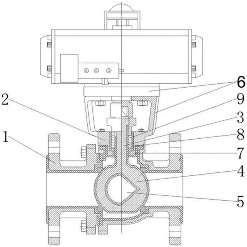
SH气动V型调节球阀ZSHV
详细信息| 询价留言ZSHV气动V型调节球阀产品概述
上海申弘阀门牌气动V型调节球阀,由活塞式气动执行机构和V型球阀组成,是一种由V型切口球面阀板在小开度范围内贴着密封面旋转而控制流体的角行程调节阀。V型切口球面板在增大调节比的同时,在截流时对密封环还有剪切作用,因此气动V型调节球阀适用于要求大调节比的控制系统,以及对含纤维质流体、料浆类流体的控制。气动V型球阀适用于两位切断、调节的场合,可配阀门定位器输入控制信号(4-20mADC或1-5VDC)气源即可控制运转。亦可配行程限位开关、电磁阀、三联件及0.4-0.7MPa气源可实现开关操作,并送出二对无源触点信号指示阀门的开关气动V型调节球阀具有连线简单,结构紧凑、尺寸小、重量轻、阻力小、动作稳定可靠等优点。气动V型球阀广泛应用于石油、化工、电力、冶金、钢铁、造纸、医药、食品、纺织、轻工等行业。■ ZSHV气动V型调节球阀主要特点
1、不带任何管接头的整体式阀体,因此不受管道或螺栓应力影响,并且由于阀体无任何管接头,故耐压壳体不会受压力“突变”的影响;
2、具有一个V型阀体,即使在小流量或高粘度介质的情况下,也可在整个量程范围内,保证控制的精确性;
3、防漏耐用的阀座在其外径处衬有带不锈钢内芯PTFE杯形或是O型密封圈,阀座用截面较大的钨钴硬质合金制成,通过一个合金的波纹弹簧进一步增强了阀座的结构;
4、当阀门关闭时,V型缺口与阀座之间产生楔形剪切作用,并既具有自洁功能又可防止球芯卡死,特别适用于管线结垢冻结或含有纤维和颗粒固体场合。
ZSHV气动V型调节球阀结构原理:
1.1结构:
气动V形调节球阀由气动活塞式执行机构和V形球阀二部分组成,气动活塞式执行机构又分单作用和双作用二种。V形球阀密封形式为软密封和硬密封二种。
1.2动作原理:
a.气动活塞式执行机构为双作用时:
由双作用定位器输出的气源信号压力分别输入执行机构活塞左、右二气室,由于输入活塞左、右二气室的气源压力不同,形成压差,推动活塞作直线运动。通过齿轮、齿条传动,将活塞的直线运动转换成执行机构主轴的旋转运动,直至左、右气室压力平衡,运动停止。在执行机构作旋转运动的同时带动阀杆、阀芯作旋转运动,明精公司以改变阀芯、阀座间的流通面积,达到调节目的。
b.气动活塞式执行机构为单作用时:
由单作用定位器输出的气信号压力输入到执行机构无弹簧一侧的气室中,气信号压力作用在活塞上形成的推力和弹簧力之间差值的作用下,气缸活塞作直线 运动,通过齿轮,齿条传动。直至气信号压力形成的推力与弹簧力平衡,运动停止。在执行机构主轴作旋转运动的同时带动阀杆、阀芯作旋转运动,从而明精公司改变阀芯、阀座之间的流通面积,达到调节目的。
三、特点:
■ 由于V形球阀流路简单、流阻较小,因而流通能力较大。
■ V形球阀芯上具有近似等百分比流量特性的V形和具有近似线性流量特性的U形二种缺口形式,因而无须通过定位器调整,即能实现不同流量特性的流量控制。
■ 可调比可达到300:1,远大于直通单、双座调节阀。
■ 具有较高的密封等级,软密封结构的泄漏等级为GB/T4213VI级。硬功夫密封结构的泄漏等级为GB/T4213IV级。
■ 正、反作用方式变换较为方便,只需将阀芯初始位置旋转90℃,既能实现作用方式的转换。
■ 结构简单、维护方便。体积较小、易于安装。ZSHV气动V型调节球阀 主要技术参数
● 阀体
阀体形式 直通铸造球型阀 公称通径 DN25~400mm 公称压力 国标PN1.6、2.5、4.0、6.4 MPa;美标ANSI 150、300LB ;日标JIS 10、20、30K 法兰标准 JIS、ANSI、GB、JB、HG等 连接形式 法兰式、对夹式 阀盖形式 整体式 (适用温度-45~+400℃) 压盖型式 螺栓压紧式 密封填料 V型聚四氟乙烯填料、含浸聚四氟乙烯填料、石棉编织填料、柔性石墨 阀内件
阀芯形式 带V型切口的球型阀芯 流量特性 等百分比特性 
执行机构
注:如需详细执行器参数,请进入气动执行器页面进行查阅。执行器型号 GT、SR、ST、AT、AW系列单双作用气动执行器 供气压力 0.4~0.7MPa 气源接口 G1/4"、G1/8"、G3/8"、G1/2" 环境温度 -20~+90℃ 作用形式 单作用执行机构:气关式(B)--失气时阀位开(FO);气开式(K)--失气时阀位关(FC)
双作用执行机构:气关式(B)--失气时阀位保持(FL);气开式(K)-- 失气时阀位保持(FL)可配附件 定位器、电磁阀、空气过滤减压器、保位阀、行程开关、阀位传送器、手轮机构等 ■ 主要性能指标
公称通径 DN(mm) 25 32 40 50 65 80 100 125 150 200 250 300 额定流量系数KV 32 46 78 90 160 250 360 610 1120 1850 2950 3700 允许压差(MPa) ≤ 公称压力 动作范围 0~90° 泄露量Q 软密封VI级、硬密封IV级、符合ANSI B16.104标准 基本误差 带定位器:小于全行程的±2% 回差 带定位器:小于全行程的2% 
ZSHV气动V型调节球阀主要性能规范试验压力(MPa) 公称压力(MPa) 压力级(class) JIS(K) 1.6 2.5 4.0 6.4 10.0 150 300 600 10K 20K 强度试验 2.4 3.75 6.0 9.6 15.0 3.0 7.5 16.5 2.4 3.8 密封试验 1.76 2.75 4.4 7.04 11.0 2.2 5.5 12.1 1.5 2.8 气密试验 0.4~0.7MPa 主要零件材料
1、2 底座、阀体 WCB、CF8、CF8M、CF3M 3 下轴套 铜/不锈钢 4 压圈 2Cr13、304、316、316L 5 阀座 PTFE、PPL、不锈钢 6 V型球体 WCB、CF8、CF8M、CF3M (硬化处理) 7 上阀轴 铜/不锈钢 8 阀杆 2Cr13、304、316、316L 9 填料 V型聚四氟乙烯填料、石墨填料 10 填料压套 2Cr13、304、316、316L 11 压板 WCB、CF8、CF8M、CF3M 
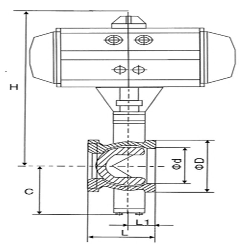
ZSHV气动V型调节球阀 主要外形及连接尺寸
注:以上参数均以国标PN1.6MPa为准,其他压力等级请咨询公司技术部,表中尺寸为不带标准附件数据,另由于产品改进技术创新参数可能有一定变化,请咨询公司技术部门索取*新数据。 ZSHV气动V型调节球阀是一种芯阀座采用金属,或金属对聚四氟乙烯密封配合的旋转球阀,它将球阀和蝶阀的*佳控制特性结合成一体,既可用作控制调节阀安装原则公称通径 DN(mm) 25 32 40 50 65 80 100 125 150 200 250 300 L 102 102 114 124 143 165 194 213 229 243 297 338 L1 62 62 62 75 80 100 115 130 160 200 240 334 H 60 60 65 95 105 120 140 155 165 205 240 270 H1 根据所配执行机构而定 D 115 140 150 165 185 200 220 250 285 340 405 460 D1 85 100 110 125 145 160 180 210 240 295 355 410 D2 65 76 84 99 118 132 156 184 211 266 319 370 b 16 18 18 20 20 20 22 22 24 24 26 28 A、A1 根据阀门所需力矩而定,配置执行器不同,外形尺寸也不相同
1.在安装阀门之前,检查阀和相关设备看是否有损坏和任何异物。
2.管线中的砂粒、水垢、金属屑及其他杂物会损坏调节阀的表面,使其关闭不严,因此,在安装调节阀之前,全部安装管线和管件都要吹扫并彻底净化,确保阀内部清洁干净,管线中无异物。
3.阀门应正确定位使管线流向与阀体或阀体法兰上介质流向箭头方向一致。
4.控制阀组件可以安装在任何方位上,除非受到防震准则的限制。但是,*常用的方式是将执行机构垂直安装在阀的上方。其它位置可能导致阀芯和阀座不均匀的磨损及不适当的操作。对于某些阀,当执行机构不垂直时,它可能还需要用支持物支持。
5.在管线中安装阀门时,采用公认的配管和焊接方法。对于法兰连接型阀门,在阀和管线法兰之间应使用一个合适的密封圈。
6.调节阀安装时,必须考虑到调节阀在现场维修或日常拆卸维修的可能性,维修费用的高低取决于接近阀门的方便性。尤其是一些高位置的阀门,更需要考虑维护调节阀所需的空间、间隙和方便性。
7.若执行机构和阀门分开装运,由参见相应的执行机构使用说明书中的安装、调试方法。订货须知:
一、①产品名称与型号②口径③是否带附件以便我们的为您正确选型④的使用压力⑤的使用介质的温度。
二、若已经由设计单位选定公司的型号,请按型号直接向我司销售部订购。三、当使用的场合非常重要或环境比较复杂时,请您尽量提供设计图纸和详细参数,由我们的阀门公司专家为您审核把关。如有疑问:请:我们一定会尽心尽力为您提供优质的服务。提供全面、*的“阀门系统解决方案",也十分愿意帮助用户解决生产中所遇到的难题。
-
联系方式
- 联系人:申弘阀门
- 电 话:021-59260058
- 手 机:15901754341
- 传 真:86-021-31662735
- 邮 箱:494522509@qq.com
- 邮 编:201718
- 地 址:上海市青浦区金泽工业园区
- 网 址: https://bengye.cn.goepe.com/
http://www.021-fm.com
-
产品搜索










