-
SH防爆电动燃气固定式球阀Q9B47F
详细信息| 询价留言Q9B47F防爆电动燃气固定式球阀产品说明
接收4-20mAC或1-5VDC的信号进行比例动作的小型、坚固、高精度的电动执行机构,动作灵敏,只需输入单相电源即可控制运转、实现对压力、流量、温度、液位等参数的调节。它广泛应用于石油化工、精细化工、造纸、冶金、污水处理,锅炉给水等各种工业领域的高精度调节环节。实现管道中介质流量调节和切断,以达到生产过程按一定的规范进行。

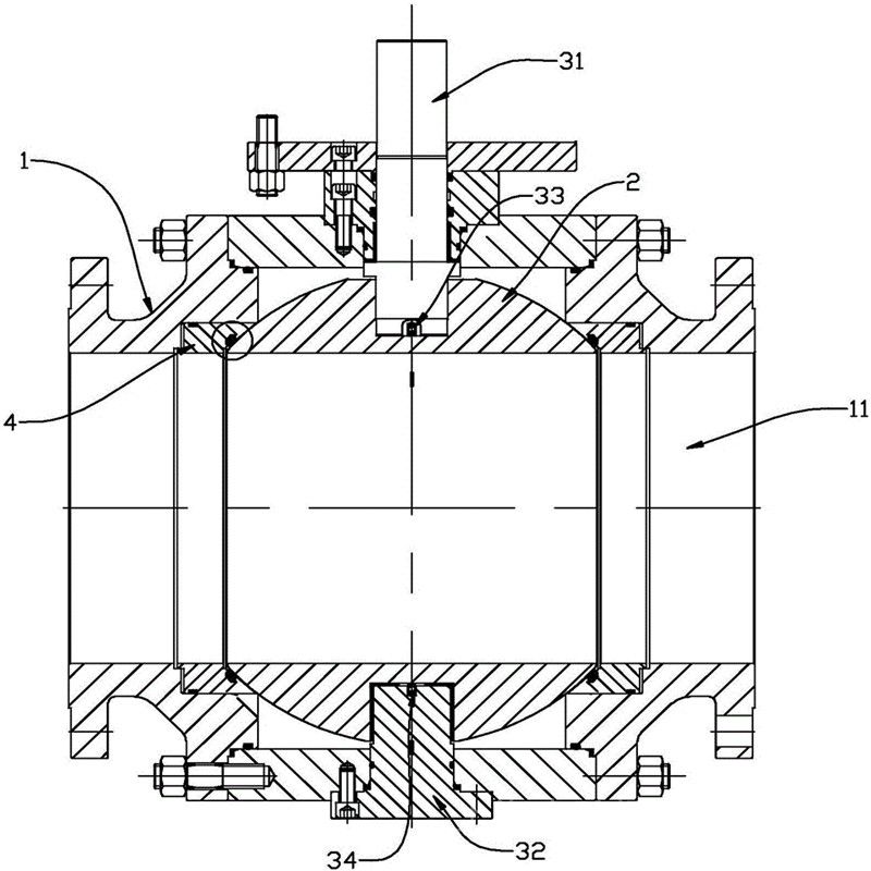
一种燃气管路专用法兰浮动球阀,包括中筒体,所述中筒体的一端固定连接有右法兰,所述中筒体的另一端固定连接有左法兰,所述中筒体的内侧开设有阀体腔,所述阀体腔的内侧转动连接有球阀,所述中筒体的顶端固定连接有阀杆转动筒,所述球阀的顶端开设有转动槽所述转动槽的内侧嵌入有阀杆,所述阀杆的外侧套接有限位片,所述阀杆的外侧位于限位片底部位置处套接有底部密封橡胶垫,所述阀杆的外侧位于限位片顶部位置处套接有顶部密封橡胶垫;

所述阀杆转动筒的内侧位于顶部密封橡胶垫顶部位置处螺纹连接有内固定螺帽,所述中筒体的顶端与阀杆转动筒对应位置处开设有限位槽,所述阀杆转动筒的顶端外侧螺纹连接有顶部密封盖,所述阀杆的顶端固定连接有转盘,所述阀体腔的底端等角度开设有润滑槽。
采用特殊设计的双斜面弹性密封圈,有效的降低了球体与密封圈之间的摩擦力,减少了操作力矩。当介质压力较小时,密封圈与球体接触面积较小,故有较大的密封比压,确保可靠密封。当介质压力较大时,密封圈与球铁接触面积也相应增大。故密封圈能承受较大的介质推力而不会损坏,确保可靠密封。球阀在管路中主要用来做切断、分配和改变介质的流动方向,它只需要用旋转90度的操作和很小的转动力矩就能关闭严密。球阀适宜做开关、切断阀使用。

开启过程
1、在关闭位置,球体受阀杆的机械施压作用,紧压在阀座上。
2、当逆时针转动手轮时,阀杆则反向运动,其底部角形平面使球体脱开阀座。
3、阀杆继续提升,并与阀杆螺旋槽内的导销相互作用,使球体开始无摩擦地旋转。
4、直至到全开位置,阀杆提升到极限位置,球体旋转到全开位置。
关闭过程
1、关闭时,顺时针旋转手轮,阀杆开始下降并使球体离开阀座开始旋转。
2、继续旋转手轮,阀杆受到嵌于其上螺旋槽内的导销的作用,使阀杆和球体同时旋转90°。
3、 快要关闭时,球体已在与阀座无接触的情况下旋转了90°。
4、手轮转动的后面几圈,阀杆底部的角形平面机械地楔向压迫球体,使其紧密地压在阀座上,达到完全密封。

特点
(1)操作省力:球体由上下轴承支撑,减少摩擦,消除了由于进口压力推动球体与密封座形成的巨大密封负荷而造成过大的扭矩。
(2)密封性能可靠:PTFE单性材料密封圈嵌于不锈钢阀座内,金属阀座尾端设有弹簧保证密封圈足够的预紧力,阀门在使用过程中密封面磨损时,在弹簧作用下阀门继续保证良好密封性能。
(3)防火结构:为防止由于骤热或火灾的出现,使聚四氟乙烯密封圈烧毁,发生较大泄漏,而助长火势,在球体与阀座间设置防火密封环,在密封圈烧毁时,在弹簧力作用下,将阀座密封环迅速推向球体上,形成金属与金属密封,起到一定程度的密封效果。耐火试验符合APl6FA和APl607标准要求。
(4)自动泄压功能:当阀门中腔停滞的介质压力异常升高超过弹簧的预紧力时,阀座后退脱离球体,达到自动泄压的效果,卸压后阀座自动复位。
(5)排泄管路:阀体上下均设置排泄孑L,可检查阀座是否发生泄漏,在工作中,阀门处于全开或全关时,卸掉中腔压力,可直接更换填料;可以排放中腔滞留物,减少介质对阀门的污染。辅助密封设置系统(客户需要请在订购时说明)
(6)本阀门设计有辅助的阀座紧急密封系统,一旦密封受损或出现紧急十青况而不能密封时,通过辅助密封系统向密封面注射相应的密封剂即可修复密封面,达到紧急密封。当输送的介质不洁或含有少量颗粒时,为保护密封面,确保达到可靠的密封,还可给这一装置注射相应的清洗剂或润滑剂对密封面进行清洗。
(7)广泛适用于食品、医药、石油、化工、天然气、钢铁、环保、造纸等输送管路介质的切断或流通。还可给这一装置注射相应的清洗剂或润滑剂对密封面进行清洗。

Q9B47F防爆电动燃气固定式球阀技术参数和性能CH执行机构技术参数
阀体参数
电源
AC200/220V,50/60Hz
公称通径
DN10~300mm
输出力矩
50N·M~2000N·M
公称压力
PN1.6 2.5 4.0 6.4 31.5MPa(定制)
动作范围
0~90° 0~360°
泄漏量
软密封:零泄漏
硬密封:≤额定流量的10-5
动作时间
15秒/30秒/60秒
执行机构
可另配PSQ、HQ、UNIC、361RS
等电子式电动执行机构保护装置
过热保护
流量特性
快开特性
环境温度
-30°~60°
可调范围
DN10-80
DN100-300
250:1
350:1
手动操作
同附带手柄操作
基本误差
±1%
限位
电气、机械二重限位
死区
≤1%
防护等级
相当于IP-65
回差
≤1%
位置测量
可选装开关或电位计
适用温度
密封面
驱动电机
8W/E
PTFE≤150℃ RTFE≤180℃ PPL≤300℃ 硬密封≤450℃
进线接口
PE1/2〞进线线锁
序号
NO零件名称
材质
GB
ASTM
1
阀体
WCB
A2116-WCB
2
弹簧
60Si2aMn
AISI 9260
3
密封圈
PTFE
PTFE
4
垫片
PTFE
PTFE
5
排污螺母
25
A105
6
"0" 型密封圈
橡胶
橡胶
7
底盖
25
A105
8
螺钉
35
A193-B7
9
固定轴
1Cr13
A276-410
10
滑动轴承
PTFE&
PTFE&
11
球体
1C18Ni9Ti
SS304
12
阀盖
WCB
A216-WCB
13
阀座
25
A105
14
阀杆
1Cr33
A276-410
15
螺柱
35CrMoA
A193-B7
16
螺母
35
A194-2H
17
压套
25
A105
18
填料
PTFE
PTFE
19
支架
WCB
A216-WCB
20
填料压盖
WCB
A2116-WCB
21
键 Key
45
AISI C 1045
固定式球阀技术规范
设计依据
国标系列
美标系列
设计标准
GB/T12237
AP16D
ANSI B16.34
法兰连接结构长度
GB/T12221
AP16D
ANSI B16.10
结构长度(焊接)
GB/T15188.1
AP16D
ANSI B16.10
连接法兰
GB/T9113
JB/T79 Hg20592ANSI B16.5、B16.47
对焊端
GB/T12224
ANSI B16.25
试验和检验
GB/T9092
AP16D
AP1598
固定式球阀试验压力
压力等级
试验压力(MPa)
公称压力(PN)
磅级(Class)
壳体试验
密封试验
1.0
-
1.5
1.1
1.6
-
2.5
1.76
2.5
-
3.8
2.75
4.0
-
6.0
4.4
6.4
-
9.6
7.04
-
150
3.0
2.2
-
300
7.6
5.6
-
600
15.0
11.0
-
10K
2.4
1.5
-
20K
5.8
4.0
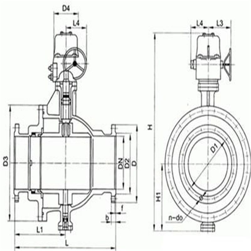
固定式球阀主要连接尺寸用重量 PN1.6MPa
Q9B47F防爆电动燃气固定式球阀安装前的准备:公称通径DN
25
32
40
50
65
80
100
125
150
200
250
300
350
400
450
500
600
700
d1
25
32
40
50
65
80
100
125
150
200
250
300
337
387
438
489
591
686
L
165
180
190
216
241
283
305
356
394
457
533
610
686
762
864
914
1067
1245
H
50
55
80
102
114
127
152
184
219
273
360
395
430
470
550
580
700
800
手动
H1
75
85
95
107
125
152
178
300
330
398
495
580
625
670
698
840
1050
1100
E
-
-
-
-
-
-
-
-
-
116
116
171
171
257
257
257
150
83
F
-
-
-
-
-
-
-
-
-
350
350
400
420
400
420
400
410
650
W
160
160
230
230
400
400
650
1050
1050
600
600
800
800
800
800
800
800
800
Wt(Kg)
4.5
5.7
7.0
12
16
22
35
58
74
205
322
460
576
864
1280
1600
1600
4500
电动
H2
-
-
-
-
-
-
-
-
554
600
652
760
770
830
-
940
940
1115
L1
-
-
-
-
-
-
-
-
235
235
235
259
400
400
-
410
410
410
气动
H3
215
240
264
274
379
389
479
552
666
736
926
1059
1127
1393
1468
1538
1538
1450
L2
200
270
270
270
405
405
576
576
776
776
776
1060
1060
1360
1360
1360
1360
2840
1、安装前,球阀前后的管线必须已经准备好。前后管道必须同轴。如果是法兰连接,两法兰密封面必须平行。应保证管道应能承受球阀的重量,否则管道上必须配有适当的支撑。
2、必须把球阀前后的管线吹扫干净,清除管道内部的油污、焊渣和一切其它杂物,看清楚在保存时为方便起见取出的石棉填料有没有重新装进去,填紧压实。
3、核对球阀的标志和参数,检查球阀是否完好无损。将球阀全开全闭数次以保证其工作正常。
4、如果是法兰连接的球阀,要拆去球阀两端连接法兰上的保护件。如果是其他的连接方式,也应去除其保护件。
5、检查阀孔清除可能有的污物,然后清洗阀孔。但在安装前要保证水分已被完全干燥,污物全部都被清除。阀座与球之间即使仅有微小颗粒的异物也可能会损伤阀座密封面。
安装时的注意事项
1、把球阀装上管线。双向球阀的任何一端都可装在上游端。用手柄驱动的球阀可安装在管道上的任意位置。但带有齿轮箱或气动驱动器的球阀应直立安装,即安装在水平管道上,且驱动装置处于管道上方。保证驱动装置的正常运行。
2、如果是法兰连接,球阀两端的法兰与管线法兰间必须按照管路设计要求装上密封垫。法兰上的螺栓需对称、逐次、均匀拧紧。但不可过于用力,以防脱丝。
3、如果球阀采用的驱动方式是气动的,要连接气动管线(采用气动驱动器时)。
4、安装后一定要仔细检查气密的严密性。为保证气动装置的严密性,需做到以下两点。
5、操作驱动器启、闭球阀数次,应灵活无滞涩,证明其工作正常。
6、按管路设计要求对管道与球阀间的法兰结合面进行密封性能检查。
球阀使用注意事项:
1、球阀要留有阀柄旋转的位置
2、球阀不能用作节流。
3、球阀带传动机构的球阀应直立安装。
球阀的安装步骤
1、取掉法兰端两边的保护盖,在阀完全打开的状态下进行冲洗清洁。
2、安装前应按规定的信号(电或气)进行整机测试(防止因运输产生振动影响使用性能),合格后方可上线安装(接线按电动执行机构线路图)。
3、准备与管道连接前,须冲洗和清除干净管道中残存的杂质(这些物质可能会损坏阀座和球)。
4、在安装期间,请不要用阀的执行机构部分作为起重的吊装点,以避免损坏执行机构及附件。
5、本类阀应安装在管道的水平方向或垂直方向。
6、安装点附近的管道不可有低垂或者承受外力的现象,可以用管道支架或者支撑物来消除管线的偏离。
7、与管道连接后,请用规定的扭矩交叉锁紧法兰连接螺栓。
球阀的操作和使用
1、操作前须确认管路和阀已被冲洗过。
2、阀的操作按执行机构输入信号大小带动阀杆旋转完成:正向旋转1/4圈(90°)时,阀关断。反向旋转1/4圈(90°)时,阀开启。
3、当执行机构方向指示箭头与管线平行时,阀门为开启状态;指示箭头与管线垂直时,阀门为关闭状态。
订货须知:
一、①产品名称与型号②口径③是否带附件以便我们的为您正确选型④的使用压力⑤的使用介质的温度。
二、若已经由设计单位选定公司的型号,请按型号直接向我司销售部订购。
三、当使用的场合非常重要或环境比较复杂时,请您尽量提供设计图纸和详细参数,由我们的阀门公司专家为您审核把关。如有疑问:请:我们一定会尽心尽力为您提供优质的服务。提供全面、*的“阀门系统解决方案",也十分愿意帮助用户解决生产中所遇到的难题。
-
联系方式
- 联系人:申弘阀门
- 电 话:021-59260058
- 手 机:15901754341
- 传 真:86-021-31662735
- 邮 箱:494522509@qq.com
- 邮 编:201718
- 地 址:上海市青浦区金泽工业园区
- 网 址: https://bengye.cn.goepe.com/
http://www.021-fm.com
-
产品搜索










