-
申弘气动高压锻钢球阀Q641N
详细信息| 询价留言Q641N气动高压锻钢球阀产品说明
气动高压球阀以压缩空气为动力,阀杆带动阀芯在阀体内转动90°,可实现全开-全关动作。气动高压球阀由气动活塞式执行机构和高压球阀组成,可配以阀门定位器输入控制信号(4-20mADC或1-5VDC)气源即可控制运转。亦可配行程限位开关、电磁阀、减压阀及0.4-0.7MPa气源可实现开关操作,并送出二对无源触点信号指示阀门的开关。气动球阀是利用气动头作为驱动源来带动球阀的开启和关闭的,气动执行器是通过一台空压机来制造一定压力的空气,然后把空气源输入气动头,利用内部气压的作用来带动执行器的活塞来回运作,从而带动阀门的开关,通常一台气动锻钢球阀是由一台锻钢球阀,加一台气缸+过滤器+减压阀+电磁阀组成,如果某些气动锻钢球阀需要调节作用,那么就需要在气动执行器上安装一台定位器,从而实现气动锻钢球阀的调节作用。 工作原理:
采用智能控制与定位,与电气阀门定位器配套,输入4-20mADC信号及0.4~0.7MPa气源即可控制运转,实现对压力、流量、温度、液位等参数的调节。它是以压缩空气为动力,阀杆带动阀芯在阀体内转动90度;可以实现全开、全闭的动作。该产品按其密封性能分为金属密封与软密封。具有结构紧凑、体积精小、运行可靠、密封性好、维修容易、安装方便、适应性强等优点。特别适合于介质是粘稠、含颗粒、纤维性质的场合。可广泛应用于石油、化工、教学设备、轻工、高压设备、制药、造纸等工业自动控制系统中,作远距离集中控制或就地控制。气体高压球阀是双(单)作用气动活塞式执行器与进口BKH高压球阀组成,是一种自动控制和遥控的新型阀门。广泛的用于加气站、装罐车等高压管道,其连接形式分内螺纹 (G/NPT)、焊接、卡套等。气动活塞式执行器采用低摩擦材料,缸体内外表面经硬质阳极氧化防腐处理,大大提高了气缸的使用寿命。产品特点:1、气动高压球阀由气动执行机构和高压球阀组成。2、可选配智能定位器,限位开关,空气过滤减压阀,电磁阀。3、气动执行器采用铝合金挤出工艺制作,表面采用硬化处理,外观美观,有利于安装,运输。4、采用精密压铸工艺制作的铝合金活塞,保证了双活塞精确的对称,并配合高质量的O型环和导向阀,可的供很高的扭矩输入与气压比,双导轨和活塞设计保证了输出扭矩的恒定。5、活塞导向带采用大接触面积,自润滑设计高强度材料保证了低摩擦,正常使用寿命可达100万次!6、操作力矩小,流通能力大、压力损失小、使用寿命长、表面镀铬、外形美观、结构简单,维修更换方便。7、连接形式及连接尺寸符合国际标准(ISO)和国标GB、日标JIS等,是理想的液压管路集成系统的配套产品。8、气动高压球阀主要用于液压管路中控制油液的流通和截止。广泛用于食品、医药、化工、石油、电力、轻纺等行业的自动调节与远程控制系统中。Q641N气动高压锻钢球阀性能参数
驱 动 压缩空气4~7bar(可带手轮) 公称通径 8~100mm 电控 DC24V、AC220V、4-20MA 公称压力 1.6~6.4MPa;6.4MPa以上可定制 适用温度 常温PTFE:-29℃~+150℃ 中温PPL:-29℃~+250℃ 连接方式 内螺纹 阀结构 三块式 阀体材质 不锈钢316L、316、304、304L 阀球材质 不锈钢316L、316、304L、304 密封材质 PTFE、PPL 适用介质 气体、水、油类、轻微腐蚀性介质等 可选附件 限位开关、电磁阀、减压阀 主要零件材料
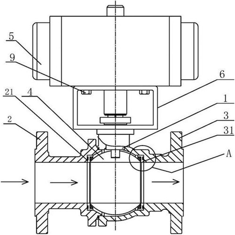
序号 零件名称 材料 GB ASTM 1 弹簧 60SizMnl AISI9260 2 阀座 25 A105 3 密封圈 PTFE PTFE 4 O型圈 NBR NBR 5 螺钉 35CrMo A193-B7 6 垫片 PTFE柔性石墨 7 下阀杆 2Cr13 A276-410 8 垫片 PTFE柔性石墨 9 底盖 25 A105 10 阀体、端 25 A105 11 垫片 PTFE柔性石墨 12 O型圈 NBR NBR 13 球体 A105+HCr 14 滑动轴承 PTFE 15 阀杆 2Cr13 A276-410 16 注脂阀 组件 17 垫片 PTFE+不锈钢 PTFE+304 18 填料箱 25 A105 19 压盖 25 A105 20 O型圈 NBR NBR 21 支架 Q235A 碳钢 22 键 45 AISI C 1045 23 连接套 45 AISI C 1045 24 驱动装置 组件 
主要性能规范公称压力
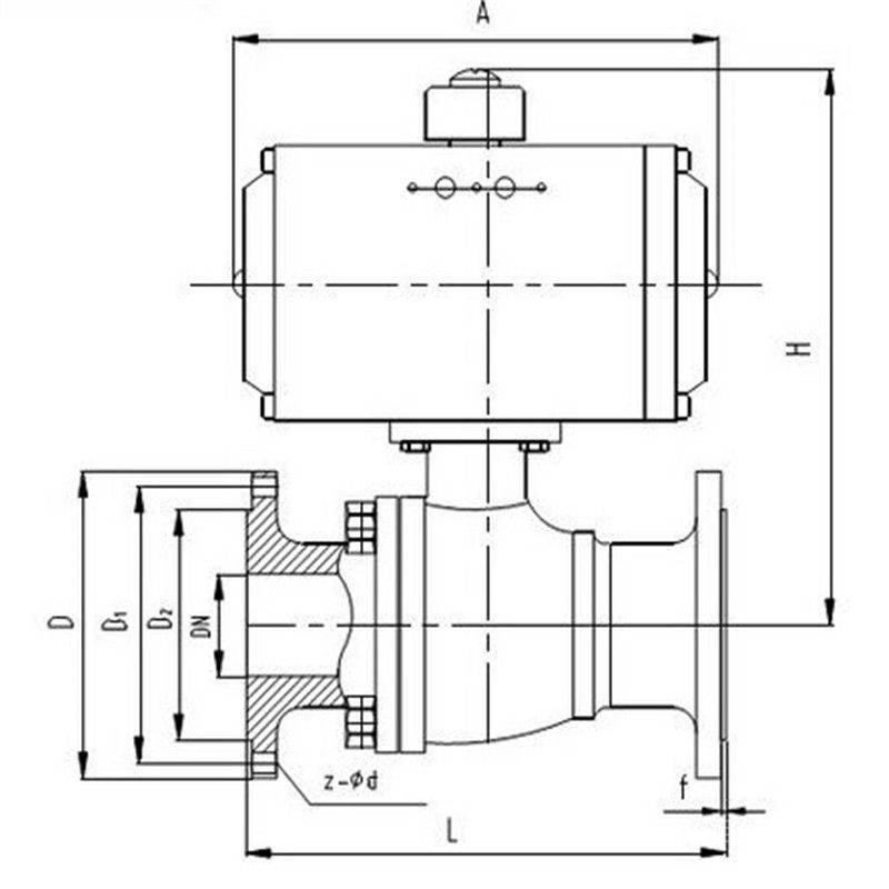
PN(MPa)试验压力(MPa) 壳体 高压液密封 低压气密封 16.0 24 17.6 0.6 32.0 48 35.2 适用温度 -40℃~80℃ 适用介质 水、油品、氮气、氨气、氢气液化气等 Q641N气动高压锻钢球阀主要连接尺寸
气动高压球阀主要用于截断或接通管路中的介质,亦可用于流体的调节与控制,其中硬密封V型球阀其V型球芯与堆焊硬质合金的金属阀座之间具有很强的剪切力,特别适用于含纤维、微小固体颗料等介质。而多通球阀在管道上不仅可灵活控制介质的合流、分流、及流向的切换,同时也可关闭任一通道而使另外两个通道相连。本类球阀在管道中一般应当水平安装。 工作原理 球阀它具有旋转90度的动作,旋塞体为球体,有圆形通孔或通道通过其轴线。尺寸 1/4″ 3/8″ 1/2″ 3/4″ 1″ 11/4″ 11/2″ 2″ 21/2″ 3″ 4″ D φ8 φ10 φ15 φ20 φ25 φ32 φ40 φ50 φ65 φ80 φ100 L 60 60 69 75 86 105 110 130 150 170 215 H 50 50 55 60 70 82 90 105 120 132 160 W 90 90 100 120 140 140 180 200 220 240 300 重量(g) 400 405 640 890 1160 2195 2940 4865 7000 10700 19350
球阀在管路中主要用来做切断、分配和改变介质的流动方向,它只需要用旋转90度的操作和很小的转动力矩就能关闭严密。球阀*适宜做开关、切断阀使用,但近来的发展已将球阀设计成使它具有节流和控制流量之用,如V型球阀。 球阀的主要特点是本身结构紧凑,密封可靠,结构简单,维修方便,密封面与球面常在闭合状态,不易被介质冲蚀,易于操作和维修,适用于水、溶剂、酸和天然气等一般工作介质,而且还适用于工作条件恶劣的介质,如氧气、过氧化氢、甲烷和乙烯等,在各行业得到广泛的应用。球阀阀体可以是整体的,也可以是组合式的。国内生产球阀的厂家比较多,连接尺寸也大多不统一。
铭牌显示有球阀在*大和*小操作温度下所允许的*大操作压力。
使用PTFE或RTFE材质的阀座和密封件,其他类型的阀座和密封件的操作温度,应受到KI工厂的检核。
阀的公称压力等级(PN、,可表明阀在正常温度状态下的*大工作压力。(例如:PN4.0,表明其操作温度在-290C~380C时的*大工作压力为40 Bar(4.0MPa)、。气动执行机构的注意事项参见其相应的说明书。
Q641N气动高压锻钢球阀安装
1、取掉法兰端两边的保护盖,在阀完全打开的状态下进行冲洗清洁。
2、安装前应按规定的信号(电或气、进行整机测试、防止因运输产生振动影响使用性能)合格后方可上线安装(接线按电动执行机构线路图、。
3、准备与管道连接前,须冲洗和清除干净管道中残存的杂质(这些物质可能会损坏阀座和球)。
4、在安装期间,请不要用阀的执行机构部分作为起重的吊装点,以避免损坏执行机构及附件。
5、本类阀应安装在管道的水平方向或垂直方向。
6、安装点附近的管道不可有低垂或者承受外力的现象,可以用管道支架或者支撑物来消除管线的偏离。
7、与管道连接后,请用规定的扭矩交叉锁紧法兰连接螺栓。
操作和使用
1、操作前须确认管路和阀已被冲洗过。
2、阀的操作按执行机构输入信号大小带动阀杆旋转完成:正向旋转1/4圈(90°、时,阀关断。反向旋转1/4圈(90°、时,阀开启。)
3、当执行机构方向指示箭头与管线平行时,球阀为开启状态;指示箭头与管线垂直时,球阀为关闭状态。
4、非金属零件清洗后应立即从清洗剂中取出,不得长时间浸泡。
5、清洗后需待被洗壁面清洗剂挥发后(可用未浸清洗剂的绸布擦、进行装配,但不得长时间搁置,否则会生锈、被灰尘污染)
6、新零件在装配前也需清洗干净。
7、使用润滑脂润滑。润滑脂应与球阀金属材料、橡胶件、塑料件及工作介质均相容。工作介质为燃气时,可用例如特221 润滑脂。在密封件安装槽的表面上涂一薄层润滑脂,在橡胶密封件上涂一薄层润滑脂,阀杆的密封面及摩擦面上涂一薄层润滑脂。
8、装配时应不允许有金属碎屑、纤维、油脂(规定使用的除外、灰尘及其它杂质、异物等污染、粘附或停留在零件表面上或进入内腔)
维修
1、球阀在关闭状态下,阀体内部依旧存在受压流体。
2、维修前,解除管线压力并使球阀处于打开位置。
3、维修前,断开电源或气源。
4、维修前,将执行机构与支架脱离。
5、必须先查明球阀上、下游管道确已卸除压力后,才能进行拆卸分解操作。
6、分解及再装配时必须小心防止损伤零件的密封面,特别是非金属零件,取出O 型圈时宜使用专用工具。
7、装配时法兰上的螺栓必须对称、逐步、均匀地拧紧。
8、清洗剂应与球阀中的橡胶件、塑料件、金属件及工作介质(例如燃气、等均相容。工作介质为燃气时,可用汽油(GB484-89)清洗金属零件。非金属零件用纯净水或酒精清洗
9、分解下来的单个零件可以用浸洗方式清洗。尚留有未分解下来的非金属件的金属件可采用干净的细洁的浸渍有清洗剂的绸布(为避免纤维脱落粘附在零件上、擦洗。清洗时须去除一切粘附在壁面上的油脂、污垢、积胶、灰尘等)
2、更换阀座和密封件
A、拆卸
使阀处于半开位置,冲洗、清除阀体内外可能存在的危险物质。
关闭球阀,拆掉两边法兰上的连接螺栓和螺母,然后将阀由管线上完全移除。
依序拆卸驱动装置-执行机构、连接支架、防松垫圈、阀杆螺母、蝶形弹片、格南、耐磨片、阀杆填料。
拆卸体盖连接螺栓和螺母,将阀盖与阀体分离,并拿掉阀盖垫圈。
确认阀球在“关断”位置,这可以将其较容易的从阀体拿出,随后取出阀座。
由阀体中孔向下轻推阀杆直到完全取出,然后取出O型圈及阀杆下填料。
注意:请谨慎操作,以避免擦伤阀杆表面及阀体填料函密封部位。
B、重新组装
清洗和检查拆下零件,强烈推荐用备用零件包更换其阀座及阀盖垫圈等密封件。
按拆卸的相反顺序进行组装。
用规定的扭矩,交叉锁紧法兰连接螺栓。
用规定的扭矩,锁紧阀杆螺母。
安装执行机构后,输入相应的信号通过旋转阀杆带动阀芯旋转,使球阀至打开和关闭位置。
如有可能,请在回装管道前,按相关标准对阀进行压力密封测试和性能测试。
气动高压球阀广泛应用在石油、化工、轻工、高压设备、制药、造纸等工业自动控制系统中,作远距离集中控制或就地控制。动高压球阀是双(单)作用气动活塞式执行器与KHB高压球阀组成,是一种自动控制和遥控的新型阀门。广泛的用于加气站、装罐车等高压管道,其连接形式分内螺纹(G/NPT)、焊接、卡套等。气动活塞式执行器采用低摩擦材料,缸体内外表面经硬质阳极氧化防腐处理,大大提高了气缸的使用寿命。一、①产品名称与型号②口径③是否带附件以便我们的为您正确选型④的使用压力⑤的使用介质的温度。
二、若已经由设计单位选定公司的型号,请按型号直接向我司销售部订购。三、当使用的场合非常重要或环境比较复杂时,请您尽量提供设计图纸和详细参数,由我们的阀门公司专家为您审核把关。如有疑问:请:我们一定会尽心尽力为您提供优质的服务。提供全面、*的“阀门系统解决方案",也十分愿意帮助用户解决生产中所遇到的难题。
-
联系方式
- 联系人:申弘阀门
- 电 话:021-59260058
- 手 机:15901754341
- 传 真:86-021-31662735
- 邮 箱:494522509@qq.com
- 邮 编:201718
- 地 址:上海市青浦区金泽工业园区
- 网 址: https://bengye.cn.goepe.com/
http://www.021-fm.com
-
产品搜索











