-
SH固定式燃气球阀Q347N
详细信息| 询价留言Q347N固定式燃气球阀产品说明
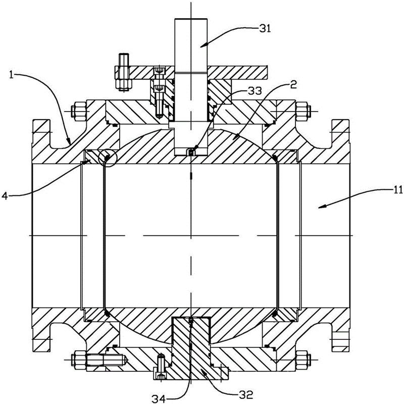
是指适用在天然气、人工煤制气、液化气的长输管线、城市燃气输配管网,是根据GB/T12237-2007《石油、石化及相关工业用的钢制球阀》、GB/T12224-2005《钢制阀门般要求》及相关阀门标准要求制造,具有防火、防静电、性能安全、可靠、抗腐蚀性能高等的球阀。可专门用于天然气、煤气、液化气等燃气及非腐蚀性气体管道控制和流量控制。于天然气、油品、化工、冶金、城建、环保、制药、食品等行业,其中抗硫系列产品适用于含硫化氢介质、杂质多、腐蚀严重的天然气长输管线。是新一代高性能球阀,适用于长输管线和一般工业管线,其强度、安全性、耐恶劣环境性等在设计时进行了特殊考虑,适用于各种腐蚀性和非腐蚀性介质。它与浮动球阀相比,工作时,阀前流体压力在球体上产生的作用力全部传递给轴承,不会使球体向阀座移动,因而阀座不会承受过大的压力,所以固定式球阀的转矩小、阀座变形小,密封性能稳定、使用寿命长,适用于高压、大口径场合。先进的弹簧预阀座组件,具有自紧特性,实现上游密封。每阀有两个阀座,每个方向都能密封,因而安装没有流向限制,是双向。

本阀有二块式和三块式两种阀体结构,中法兰用螺栓连接,密封采用增强聚四氟乙烯镶入不锈钢圈内,钢圈后部没有弹簧保证阀座紧贴球体,保持密封。上下阀杆均没有PTFE轴承,减少磨擦,操作省力,小轴底部没有调整片,保证球与密封圈的接处位置。全通径:阀门流量孔径与管线内径一致,以便管线清扫。天燃气,是一种多组分的混合气态化石燃料,主要成分是烷烃,其中甲烷占绝大多数,另有少量的乙烷、丙烷和丁烷。它主要存在于油田、气田、煤层和页岩层。天然气燃烧后无废渣、废水产生,相较煤炭、石油等能源有使用安全、热值高、洁净等优势。天然气又可分为伴生气和非伴生气两种。从广义的定义来说,天然气是指自然界中天然存在的一切气体,包括大气圈、水圈、和岩石圈中各种自然过程形成的气体。而人们长期以来通用的“天然气”的定义,是从能量角度出发的狭义定义,是指天然蕴藏于地层中的烃类和非烃类气体的混合物。

1、阻塞与排出
固定球阀处于关闭状态时,上下游侧的阀座使流体阻断,阀体中腔的积滞物可以排出,排出装置具有如下功能:
1)事前可检查阀座是否出漏损伤。
2)减少介质更换你对固定球阀的污染。
3)在工作压力下,固定球阀处于全开或全关闭时,可更换阀杆部填料函。
2、自动出压
固定球阀中腔停滞的介质由于温度升高,而出现异常升压时,阀座脱离球体自动出压或通过阀体上安装的安全阀出压保证系统安全。
3、完全密封
固定球阀独特的密封方式,可以使流体完全阻断。
4、防火结构
一旦发生火灾或由于异常升温使特富龙阀座软化烧损时,为防止火灾扩大,固定球阀操作仍然可靠,同时阀座支承可以和球体接触起密封作用,符合API607的规定。
5、防静电结构
当操作固定球阀时,由于球体和聚四氟乙烯阀座之间的摩擦,会产生静电电荷积聚在球体上。为防止产生静电火花,特在固定球阀上设置防静电装置,通过弹簧使球体与阀体形成电路通路,将积聚在球体上的电荷导出。

天然气主要存在于油田气、气田气、煤层气、泥火山气和生物生成气中,也有少量出于煤层。天然气又可分为伴生气和非伴生气两种。伴随原油共生,与原油同时被采出的油田气叫伴生气;非伴生气包括纯气田天然气和凝析气田天然气两种,在地层中都以气态存在。凝析气田天然气从地层流出井口后,随着压力的下降和温度的升高,分离为气液两相,气相是凝析气田天然气,液相是凝析液,叫凝析油。

阀关闭件球体绕阀体中心线作旋转来达到开启、关闭的一种阀门。天然气球阀采用成形聚四氟乙烯填料,手柄操作力矩平稳,驱动方式可为手动、蜗轮传动、气动、电动等。O形密封圈用来防止外部杂质进入阀门内部,并保持阀门密封性能,大于DN150的球阀采用蜗轮驱动,大于DN200用固定球球阀。适用于燃气管路、液化石油气管路、天然气管路、煤气管路等一般工作介质,不锈钢阀体而且还适用于工作条件恶劣的介质,如氧气、过氧化氢、甲烷和、乙烯等,在各行业得到的应用。
天然气球阀操作原理和结构说明:
1、球阀通道平整光滑便于管道扫线清洗,可以输送浆液及固体颗粒等介质。
2、采用PTFE(特氟隆)等材料作为密封,具有良好润滑性和弹性,与球体摩擦系小,使用长。
3、启闭快启闭时需把球体转动90°,方便而快。
4.球阀的流体阻力小,全开时球体通道、阀体通道和连接管道的截面积相等,并且成直线想通,介质流过球阀,相当于流过一段直通的管子,在阀门中球阀的流体阻力较小。
5、经配置有手动、蜗轮驱动、气动、电动(防爆)可以实现远程自动控制,能符合用户的工况使用要求。

Q347N固定式燃气球阀产品性能规范:
压力等级
常温试验压力(Mpa)
壳体
密封
低气压密封
公称压力(LB)
150
3.0
2.2
0.6
300
7.5
5.5
0.6
适用温度
-40~+80℃
适用介质
燃气、天然气,液化石油气、煤气等
材质说明
零件名称
碳钢
低温钢
普通
抗硫
普通
抗硫
阀体、阀盖
A216 WCB
A216 WCB
A352 LCC
A352 LCC
球阀
A216 WCB+WNP
A182 F316 WCB+WNP
A182 LF2+ENP/LCC+ENP
A182 F316/LCC+ENP
阀杆
A182 F6a
A182 F316/F304
A182 F6a
A182 F316/F304
阀座
PTFE/NYLON/PPL
PTFE/NYLON/PPL
PTFE/NYLON/PPL
PTFE/NYLON/PPL
阀座支承
A182 F6a
A182 F316/F304
A182 F6a
A182 F316/F304
序号 零件
名称普通碳
钢系列不锈钢系列 低温钢系列 抗硫系列 GB标准 NACE标准 1 阀 盖 A216 WCB A351 CF8、CF8M、CF3、CF3M A352 LCB、
LCC+ENPA216 WCB A351 CF8M 2 螺 母 A194 2H A194 8 、8M A194 4 A194 2HM A194 2HM 3 螺 柱 A193 B7 A193 B8、B8M A320 L7 A193 B7M A193 B7M 4 垫 片 柔性石墨+不锈钢 5 O形圈 氟橡胶 6 弹 簧 INCONEL X-750 7 O形圈 氟橡胶 8 O形圈 氟橡胶 9 挡 圈 PTFE 10 防火圈 石墨盘根 11 阀座支撑圈 A105+
HCr/ENPA182 F304、F316、F304L、F316L F182 F6a A105+
HCr/ENPA182、F316+ENP 12 阀 座 PTFE、RPTFE、高分子聚合物NYLON、MOLON或PEEK 13 止推垫片 PTFE、或PTFE+柔性石墨 14 键 GB/T699 45、ASTM 1045 15 阀杆 A182 F6a A182 F304、F316、F304L、F316L A182 F6a A182 F304 A182 F316+ENP 16 防静电装置 不锈钢组合件 17 轴 套 304+PTFE 18 球 体 A105+
HCr/ENPA182 F304、F316、F304L、F316L A352 LCB、
LCC+ENPA105+
HCr/ENPA351 CF8M+ENP 19 垫 片 PTFE 20 轴 套 304+PTFE 21 螺 母 A194 2H A194 8 、8M A194 4 A194 2HM A194 2HM 22 螺 柱 A193 B7 A193 B8、B8M A320 L7 A193 B7M A193 B7M 23 底 盖 A105+
HCr/ENPA182 F304、F316、F304L、F316L A182 F6a A105+ENP/A182 F3164+ENP 24 垫 片 柔性石墨+不锈钢 25 阀 体 A216 WCB A351 CF8、CF8M、CF3、CF3M A352 LCB、
LCC+ENPA216 WCB A351 CF8M 26 垫 片 柔性石墨+不锈钢 27 O形圈 氟橡胶 28 上 盖 A105+
HCr/ENPA182 F304、F316、F304L、F316L A182 F6a A105+ENP/A182 F3164+ENP 29 螺 钉 A193 B7 A193 B8、B8M A320 L7 A193 B7M A193 B7M 30 O形圈 氟橡胶 31 O形圈 氟橡胶 32 填 料 柔性石墨/石墨盘根 33 螺 母 A194 2H A194 8 、8M A194 4 A194 2HM A194 2HM 34 螺 柱 A193 B7 A193 B8、B8M A320 L7 A193 B7M A193 B7M 35 联接盘 A105+
HCr/ENPA182 F304、F316、F304L、F316L A182 F6a A105+ENP/A182 F3164+ENP H 36 定位销 不锈钢 37 螺 钉 A193 B7 A193 B8、B8M A320 L7 A193 B7M A193 B7M 38 蜗轮箱 组合件 39 注脂阀 同壳体材料 40 排污阀 同壳体材料 41 注脂阀 同壳体材料 公称压力PN
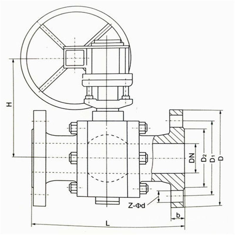
公称通径DN
尺寸(mm)
L
D
K
d
Y
b
z-do
H
H1
1.6MP
100
750
220
180
155
-
20
8-φ18
410
290
150
850
285
240
210
-
24
8-φ23
480
350
200
914
340
295
265
-
26
12-φ23
540
420
250
1092
405
355
320
-
30
12-φ25
610
480
300
1200
460
410
375
-
30
12-φ25
700
540
350
1614
520
470
435
-
34
16-φ25
820
610
400
1928
580
525
485
-
36
16-φ30
940
670
500
2250
715
650
608
-
44
20-φ34
1160
810
2.5MPa
100
750
230
190
160
-
24
8-φ23
410
290
150
850
300
250
218
-
30
8-φ25
480
350
200
914
360
310
278
-
34
12-φ25
540
420
250
1092
425
370
332
-
36
12-φ30
610
480
300
1200
485
430
390
-
40
16-φ30
700
540
350
1614
555
490
448
-
44
16-φ34
820
610
400
1928
620
550
505
-
48
16-φ34
940
670
500
2250
730
660
610
-
52
20-φ41
1160
810
4.0MPa
100
750
235
190
160
150
24
8-φ23
410
290
150
850
300
250
218
204
30
8-φ25
480
350
200
914
375
320
282
260
38
12-φ30
540
420
250
1092
450
385
345
313
42
12-φ34
610
480
300
1200
515
450
408
364
46
16-φ34
700
540
350
1614
580
510
465
422
52
16-φ34
820
610
400
1928
660
585
535
474
58
16-φ41
940
670
500
2250
755
670
612
576
62
20-φ48
1160
810
主要连接尺寸
Q347N固定式燃气球阀维护和管理技术公称压力PN
公称通径DN
尺寸(mm)
L
D
K
d
Y
b
z-do
H
H1
Class
150
4
750
229
190.5
157
-
24
8-φ19
410
290
6
850
279
241.5
216
-
26
8-φ22
480
350
8
914
343
298.5
270
-
29
8-φ22
540
420
10
1092
406
362
324
-
31
12-φ25
610
480
12
1200
483
432
381
-
32
12-φ25
700
540
14
1614
533
476
413
-
35
12-φ29
820
610
16
1928
597
540
470
-
37
16-φ29
940
670
20
2250
699
635
584
-
43
20-φ32
1160
810
Class
300
4
750
254
200
157
-
32
8-φ22
410
290
6
850
318
270
216
-
37
12-φ22
480
350
8
914
381
330
270
-
42
12-φ25
540
420
10
1092
445
387.5
324
-
48
16-φ29
610
480
12
1200
521
451
381
-
51
16-φ32
700
540
14
1614
584
514.5
413
1.施工期的维护和管理
在施工期对球阀进行科学的管理和维护,是非常重要的,在施工期对设备管理到位,维护科学,不但可以保证安全,而且可以大大降低施工和运行管理期的费用。主要应注意以下方面:
①要采用正确的方法装卸阀门,避免阀门受到机械损伤。吊装阀门时,吊装带不能拴在阀杆或执行器上进行吊装,否则将造成阀杆弯曲、阀径密封失效以及齿轮箱遭到破坏;
②在出厂前,要在阀门两端加装简易盲板,避免在运输的过程中和工地上有水、砂子等杂质进入阀腔,对密封造成腐蚀和损伤;
③在施工现场,阀门较好整齐的摆放在枕木上,不要随地摆放,避免排污嘴、注脂嘴等被损坏或折断;
④在安装前,必须对阀门进行注润滑脂。通过注润滑脂一方面检查注脂通道是否畅通,另一方面要将阀座密封面和后腔注满,避免杂质进入密封面和后腔,同时在一定程度上可减弱焊接高温对阀座的损伤;
⑤在安装的整个过程要保持阀门在全开位;
⑥当焊接完毕和做完水压实验以及每次操作前后,要及时的补入一定量的润滑脂;
⑦做完水压实验后,要将阀腔里的水及时排干净,防止锈蚀和结冰。
2.运行过程中日常的维护和保养建议
①周期性的检查阀门的密封性,通过排污嘴来检查,如果有内漏,按内漏处理程序进行处理;
②适时地向阀座注入一定量的新鲜润滑脂,注入的量和频率依照阀门活动频繁程度而定,一般当阀门活动一次后,要适量注入润滑脂,每次注入量大概为密封系统容积的1/8,这样做的目的是较大程度的避免管道内的杂质进入阀座后腔,影响阀座运动,从而导致密封失效,同时保证密封面时刻处于“湿润”状态;
③对很少活动的阀门,每年较少活动1次,同时注入适量的润滑脂,这样做可以避免球体和阀座胶合,同时也可以避免球体活动时地干磨,保护阀座和球体;
④入冬前对球阀进行一体维护和保养,要点要排掉阀腔内和执行机构内的水,避免冬天冻结,影响正常功能;
⑤每年更换1次齿轮传动机构内的润滑脂;
⑥定期检查阀径密封,一旦出现外漏,要及时处理;
⑦清除锈蚀,对外部进行维护。
安装
1)取掉法兰端两边的保护盖,在阀打开的状态下进行冲洗清洁。
2)安装前应按规定的信号(电或气)进行整机测试(防止因运输产生振动影响使用性能),合格后方可上线安装(接线按电动执行机构线路图)。
3)准备与管道连接前,须冲洗和清除干净管道中残存的杂质(这些物质可能会损坏阀座和球)。
4)在安装期间,请不要用阀的执行机构部分作为起重的吊装点,以避免损坏执行机构及附件。
5)本类阀应安装在管道的水平方向或垂直方向。
6)安装点附近的管道不可有低垂或者承受外力的现象,可以用管道支架或者支撑物来消除管线的偏离。
7)与管道连接后,请用规定的扭矩交叉锁紧法兰连接螺栓。
订货须知:
一、①产品名称与型号②口径③是否带附件以便我们的为您正确选型④的使用压力⑤的使用介质的温度。
二、若已经由设计单位选定公司的型号,请按型号直接向我司销售部订购。
三、当使用的场合非常重要或环境比较复杂时,请您尽量提供设计图纸和详细参数,由我们的阀门公司专家为您审核把关。如有疑问:请:我们一定会尽心尽力为您提供优质的服务。提供全面、*的“阀门系统解决方案",也十分愿意帮助用户解决生产中所遇到的难题。 -
联系方式
- 联系人:申弘阀门
- 电 话:021-59260058
- 手 机:15901754341
- 传 真:86-021-31662735
- 邮 箱:494522509@qq.com
- 邮 编:201718
- 地 址:上海市青浦区金泽工业园区
- 网 址: https://bengye.cn.goepe.com/
http://www.021-fm.com
-
产品搜索









