- 技术文章
不锈钢气体减压阀在空压机应用
2022-10-21 17:47:58 来源:SH
不锈钢气体减压阀在空压机应用
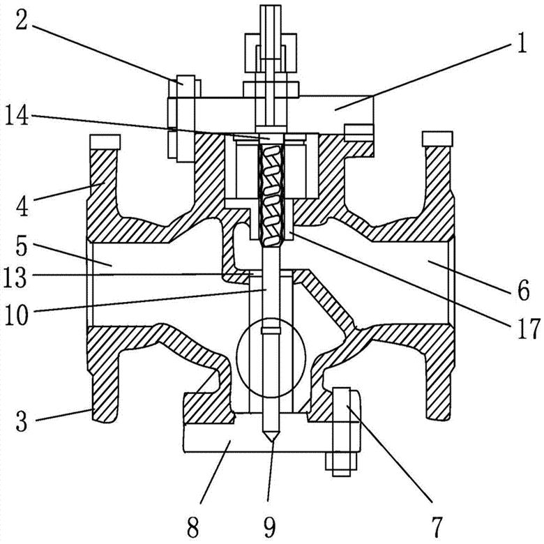
不锈钢气体减压阀,(Stainless steel gas pressure reducing valve),也叫不锈钢气体调压阀,是指阀体采用不锈钢304或者316材质,具有耐酸碱,耐腐蚀,耐生锈的功能,相对气体材质,有更好的强度和韧性,用于各种气体介质,通过调节弹簧压力设定出口压力、利用膜片传感出口压力变化,通过导阀启闭驱动活塞调节主阀节流部位过流面积的大小,实现对气体的减压稳压功能。
从流体力学的观点看,减压阀是一个局部阻力可以变化的节流元件,即通过改变节流面积,使流速及流体的动能改变,造成不同的压力损失,从而达到减压的目的。然后依靠控制与调节系统的调节,使阀后压力的波动与弹簧力相平衡,使阀后压力在一定的误差范围内保持恒定。天津市宏氧机电设备安装有限公司是一家从事医用中心供氧系统、医用负压吸引系统、手术室洁净技术研究、开发、制造、安装、检测的高新技术企业。公司地处天津市南开区,公司占地面积2000平方米。 公司拥有一支产品研发,市场营销,现代企业管理的人才队伍,自成立以来,公司始终坚持以“质量是企业的生命,创新是企业发展的灵魂,用户的满意才是我们服务的根本”为宗旨,以优质的产品,具有竞争力的价格来服务客户。
序号
品 名
型 号 及 规 格
单位
数量
1
减压阀
减压阀Y42X PN16 DN65
进法兰到出法兰长度:260MM
螺丝孔中心距:145MM
4个螺丝孔
介质:压缩空气
进口压力 1.0MPA,出口压力0.8MPA
套
1
不锈钢气体减压阀在空压机应用产品优点:Product benefits1、用于压缩空气的管道介质。根据ASME安全阀标准的要求,当系统压力上升到阀门设定压力以上不超过10%时,阀门的全部排放能力通常会达到。如果系统压力低于设定压力值(通常设定为90%),则必须实现完全关闭。压缩气体一般都是贮存在专用的高压压缩气体体钢瓶中,使用时通过减压阀使压缩气体体压力降至实验或者工况所需的压力范围,再经过其它控制阀门细调,使压缩气体体输入使用系统。压缩气体瓶减压阀就是将钢瓶中的高压压缩气体减为实验或者工况所需的压缩气体压力的减压阀。采用活塞式减压结构,输出压力稳定,主要用于高输入压力要求,*压力达6000 psig,适用于压缩气体压缩气体体。
2、属于先导活塞式减压阀。由主阀和导阀两部分组成。主阀主要由阀座、主阀盘、活塞、弹簧等零件组成。导阀主要由阀座、阀瓣、膜片、弹簧、调节弹簧等零件组成。控制准确。
3、通过调节调节弹簧压力设定出口压力、利用膜片传感出口压力变化,通过导阀启闭驱动活塞调节主阀节流部位过流面积的大小,实现减压稳压功能。进口压力不断变化的情况下,保持出口听压力和温度值在一定的范围内

不锈钢气体减压阀在空压机应用主要性能指标:
公称压力(Mpa)
1.6
2.5
4.0
6.4
10.0
16.0
壳体试验压力(Mpa)*
2.4
3.75
6.0
9.6
15.0
24
密封试验压力(Mpa)
1.6
2.5
4.0
6.4
10.0
16.0
*进口压力(Mpa)
1.6
2.5
4.0
6.4
10.0
16.0
出口压力范围(Mpa)
0.1-1.0
0.1-1.6
0.1-2.5
0.5-3.5
0.5-3.5
0.5-4.5
本阀进口压力与出口压力之差必须≥0.15MPa
压力特性偏差(Mpa)△P2P
GB12246-1989
流量特性偏差(Mpa)P2G
GB12246-1989
*小压差(Mpa)
0.15
0.15
0.2
0.4
0.8
1.0
渗漏量
X/F(聚四氟乙稀/橡胶):O Y(硬密封):GB12245-1989
不锈钢气体减压阀在空压机应用安装注意事项:⒈本阀使用前请先确定使用工况要求是否与本阀性能参数相符;
⒉YK系列气体减压阀应安装在水平管道上,阀体上标示的箭头指向应与介质流向一致;
⒊减压阀前后应该有一段直管,阀前0.6XDN以上,阀后10XDN以上。
⒋安装时先将减压阀两端进出口封盖取下,检查连接紧固件有无松动,阀前管路冲洗干净;⒌减压阀阀前需要安装过滤设备,调节螺钉在调节完成后需把锁紧螺母背紧;
⒍YK系列减压阀起性能只能作为对介质的减压作用,不做截止使用。

不锈钢气体减压阀在空压机应用调压方法:
⒈关闭减压阀前的波纹管截止阀,开启减压阀后的波纹管截止阀,制造下游低压环境;
⒉减压阀导阀上的调节螺钉逆时针旋到*上位置(相对*的出口压力),然后关闭减压阀后的波纹管截止阀;
⒊慢慢的开启减压阀前的波纹管截止阀手轮一直到全开位置;
⒋顺时针对减压阀导阀上的调节螺钉做缓慢调节,将阀后压力调节到所需要的压力值;压力调好后将锁紧螺母背紧;
⒌打开减压阀阀后的波纹管截止阀;
⒍如在调整时出口压力高于设定压力,须从步开始重新调整,既只能从低压向高压调节;

不锈钢气体减压阀在空压机应用故障排除方法:
故障内容
发生鼓掌的原因
消除方法
不通气
a、B、S通道被堵塞
清除污物
直通不减压
⒈活塞卡住
⒉主、导阀阀杆在导向孔内卡住
⒊主、导阀密封面有污物卡住
⒋膜片损坏
⒌旁通阀没关闭⒈清除缸套和活塞间的污物
⒉将主、导阀阀杆用精细砂纸稍做打磨
⒊清除主、导阀密封上的污物
⒋更换新膜片
⒌关闭旁通阀压力调不高
⒈缸套和活塞间隙过大
⒉调节弹簧疲劳或损坏⒈更换部件
⒉更换弹簧阀后压力不稳定
⒈出口流量波动过大
⒉输入与消耗量相差过大⒈稳定阀后流量
⒉重新选合适通径的减压阀
联系方式
- 联系人:申弘阀门
- 电 话:021-59260058
- 手 机:15901754341
- 传 真:86-021-31662735
- 邮 箱:494522509@qq.com
- 邮 编:201718
- 地 址:上海市青浦区金泽工业园区
- 网 址: https://bengye.cn.goepe.com/
http://www.021-fm.com
-
产品搜索












